TOP
|
特許
|
意匠
|
商標
特許ウォッチ
Twitter
他の特許を見る
10個以上の画像は省略されています。
公開番号
2025146252
公報種別
公開特許公報(A)
公開日
2025-10-03
出願番号
2024046926
出願日
2024-03-22
発明の名称
回転電機のステータ
出願人
株式会社豊田自動織機
代理人
個人
,
個人
主分類
H02K
3/487 20060101AFI20250926BHJP(電力の発電,変換,配電)
要約
【課題】回転電機のステータの信頼性を向上させること。
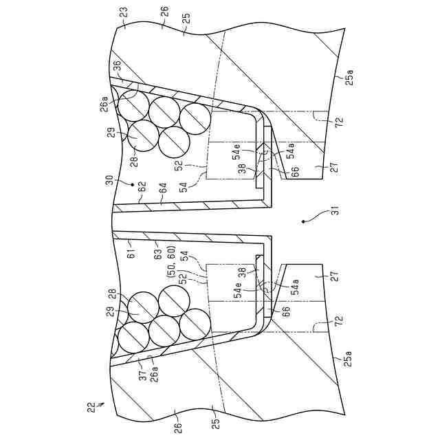
【解決手段】絶縁部材61は、絶縁本体部62の両端部からヨークの周方向の両側へ互いに離間する方向へ張り出す一対の抜け止め部68を有している。絶縁部材61は、抜け止め部68が、一対のインシュレータのうち一方のインシュレータにおけるヨークの周方向で隣り合うインシュレータティース部52の間からスロット内に挿入され、一対のインシュレータのうち他方のインシュレータにおいてインシュレータティース部52におけるティース鍔部27とはヨークの軸方向の反対側に位置する端面に対してヨークの軸方向で対向することで抜け止めされる。
【選択図】図10
特許請求の範囲
【請求項1】
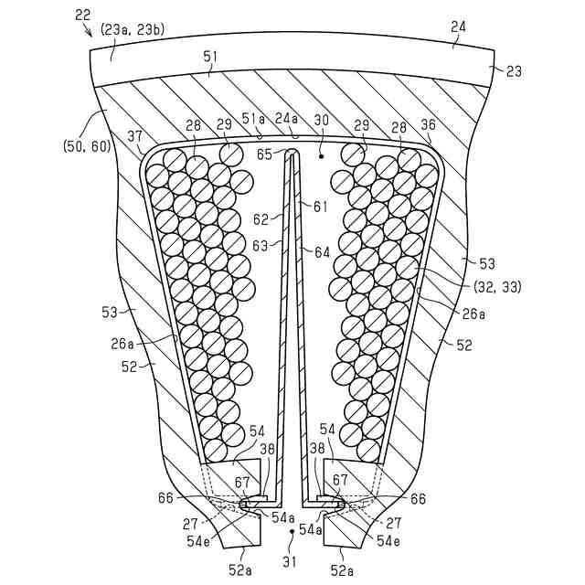
筒状のヨーク、及び前記ヨークの周面から前記ヨークの径方向へ延びる複数のティースを有し、前記ヨークの周方向で隣り合うティースの間にスロットが形成されているステータコアと、
前記ステータコアに巻線が巻回されることにより形成され、且つ、前記ステータコアにおける前記ヨークの軸方向の両側にそれぞれ位置する端面であるコア端面それぞれから突出する一対のコイルエンドを含むコイルと、
前記各コア端面に対向してそれぞれ配置されるとともに前記各コイルエンドと前記各コア端面との間を絶縁する一対のインシュレータと、を備え、
前記ティースは、
前記ヨークの周面から延びるティース延在部と、
前記ティース延在部における前記ヨークの周方向の両側に位置するティース側面それぞれから前記周方向に突出するティース鍔部と、を有し、
前記インシュレータは、
前記ヨークに対して前記軸方向で重なる位置に配置される筒状のインシュレータ基部と、
前記インシュレータ基部の周面から前記インシュレータ基部の径方向へ延びるとともに前記各ティース延在部に対して前記軸方向で重なる位置に配置される複数のインシュレータティース部と、を有し、
前記コイルは、前記スロットを通過する巻線が前記ティース延在部及び前記インシュレータティース部に巻回されることにより形成され、
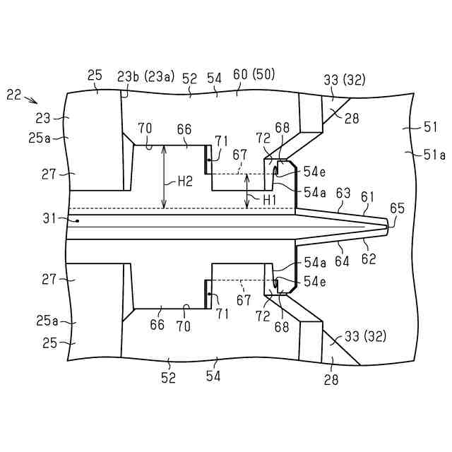
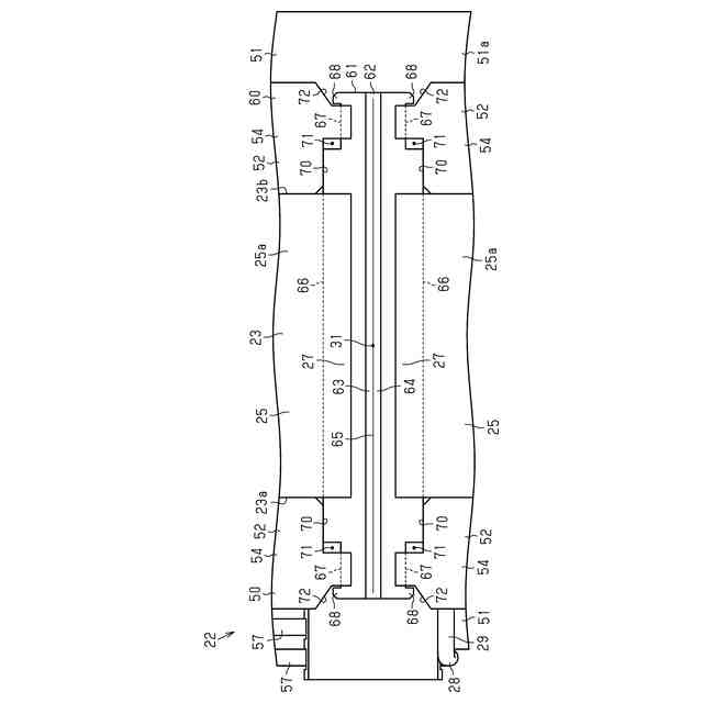
前記スロット内において前記周方向で隣り合うコイル同士を絶縁する絶縁部材を備えている回転電機のステータであって、
前記絶縁部材は、
前記軸方向に直交する断面がV字状に形成されるとともに、前記周方向で隣り合うコイル同士の間で前記軸方向に延在し、前記軸方向の両側において前記各コア端面からそれぞれ突出する両端部を備える絶縁本体部と、
前記両端部から前記周方向の両側へ互いに離間する方向へ張り出す一対の抜け止め部と、を有し、
前記絶縁部材は、前記抜け止め部が、前記一対のインシュレータのうち一方のインシュレータにおける前記周方向で隣り合うインシュレータティース部の間から前記スロット内に挿入され、前記一対のインシュレータのうち他方のインシュレータにおいて前記インシュレータティース部における前記ティース鍔部とは前記軸方向の反対側に位置する端面に対して前記軸方向で対向することで抜け止めされることを特徴とする回転電機のステータ。
続きを表示(約 1,300 文字)
【請求項2】
前記絶縁部材は、前記絶縁本体部から前記周方向の両側へ互いに離間する方向へ張り出して、前記スロット内で前記ティース鍔部と前記コイルとの間を絶縁する一対の張出絶縁部を有していることを特徴とする請求項1に記載の回転電機のステータ。
【請求項3】
前記インシュレータティース部は、前記周方向の両側に突出するとともに前記ティース鍔部に対して前記軸方向で重なる位置に配置されるインシュレータ内壁を有し、
前記絶縁部材は、前記抜け止め部が、前記インシュレータ内壁における前記ティース鍔部とは前記軸方向の反対側に位置する端面に対して前記軸方向で対向することで抜け止めされることを特徴とする請求項1に記載の回転電機のステータ。
【請求項4】
前記周方向で隣り合う前記インシュレータ内壁には、前記周方向で向かい合うように開口するとともに前記軸方向に貫通する挿通溝がそれぞれ形成されており、
前記絶縁部材は、前記抜け止め部に対し前記軸方向の前記ステータコア側に位置するとともに、前記絶縁本体部の両端部から前記周方向の両側へ互いに離間する方向へ前記抜け止め部よりも小さく張り出して、前記周方向で隣り合う挿通溝の内側にそれぞれ挿通される一対の挿通部を有していることを特徴とする請求項3に記載の回転電機のステータ。
【請求項5】
前記絶縁部材は、前記絶縁本体部から前記周方向の両側へ互いに離間する方向へ張り出して、前記スロット内で前記ティース鍔部と前記コイルとの間を絶縁する一対の張出絶縁部を有し、
前記張出絶縁部は、前記挿通部に対し前記軸方向の前記ステータコア側に位置していることを特徴とする請求項4に記載の回転電機のステータ。
【請求項6】
前記挿通部における前記絶縁本体部からの張り出し量は、前記張出絶縁部における前記絶縁本体部からの張り出し量よりも小さく、
前記周方向で向かい合う挿通溝において、前記周方向で互いに最も離間した部位を前記各挿通溝の最深部とすると、
前記最深部は、前記軸方向で前記張出絶縁部に対向していることを特徴とする請求項5に記載の回転電機のステータ。
【請求項7】
前記各張出絶縁部は、前記軸方向の両端が前記コア端面から突出した状態で前記スロット内を通過しており、
前記インシュレータ内壁における前記ティース鍔部に対して前記軸方向で対向する部分には、前記張出絶縁部における前記コア端面から突出する部位との干渉を避ける逃げ凹部が形成されており、
前記軸方向において前記張出絶縁部と前記逃げ凹部との間には、クリアランスが形成されていることを特徴とする請求項6に記載の回転電機のステータ。
【請求項8】
前記周方向で隣り合う前記インシュレータ内壁は、前記周方向で向かい合うとともに前記ステータコアとは前記軸方向の反対側に開口するように形成され、前記挿通溝における前記ステータコアとは反対側に位置する端部が開口する切欠を有し、
前記一対の抜け止め部は、前記切欠に配置されていることを特徴とする請求項4~請求項7のいずれか一項に記載の回転電機のステータ。
発明の詳細な説明
【技術分野】
【0001】
本発明は、回転電機のステータに関する。
続きを表示(約 2,800 文字)
【背景技術】
【0002】
例えば特許文献1のように、回転電機のステータは、ステータコアと、コイルと、一対のインシュレータと、を備えている。ステータコアは、筒状のヨーク、及び複数のティースを有している。各ティースは、ヨークの周面からヨークの径方向へ延びている。そして、ステータコアは、ヨークの周方向で隣り合うティースの間にスロットが形成されている。
【0003】
ティースは、ティース延在部と、ティース鍔部と、を有している。ティース延在部は、ヨークの周面から延びている。ティース鍔部は、ティース延在部におけるヨークの周方向の両側に位置するティース側面それぞれからヨークの周方向に突出している。コイルは、ステータコアに巻線が巻回されることにより形成されている。コイルは、ステータコアにおけるヨークの軸方向の両側にそれぞれ位置する端面であるコア端面それぞれから突出する一対のコイルエンドを含む。一対のインシュレータは、ステータコアの各コア端面に対向してそれぞれ配置されている。各インシュレータは、各コイルエンドと各コア端面との間を絶縁している。
【0004】
インシュレータは、筒状のインシュレータ基部と、複数のインシュレータティース部と、を有している。インシュレータ基部は、ヨークに対してヨークの軸方向で重なる位置に配置されている。各インシュレータティース部は、インシュレータ基部の周面からインシュレータ基部の径方向へ延びている。各インシュレータティース部は、各ティース延在部に対してヨークの軸方向で重なる位置に配置されている。
【0005】
コイルは、スロットを通過する巻線がティース延在部及びインシュレータティース部に巻回されることにより形成されている。ステータは、絶縁部材を備えている。絶縁部材は、スロット内においてヨークの周方向で隣り合うコイル同士の間でヨークの軸方向に延在している。そして、絶縁部材は、スロット内においてヨークの周方向で隣り合うコイル同士を絶縁する。
【先行技術文献】
【特許文献】
【0006】
特開2011-72128号公報
【発明の概要】
【発明が解決しようとする課題】
【0007】
このような回転電機のステータにおいては、絶縁部材におけるヨークの軸方向の位置決めが行われていないと、スロット内において絶縁部材におけるヨークの軸方向での位置がずれてしまう虞がある。スロット内において絶縁部材におけるヨークの軸方向での位置がずれてしまうと、スロット内においてヨークの周方向で隣り合うコイル同士の間で絶縁不良となる虞がある。したがって、回転電機のステータの信頼性が低下してしまう。
【課題を解決するための手段】
【0008】
上記課題を解決する回転電機のステータは、筒状のヨーク、及び前記ヨークの周面から前記ヨークの径方向へ延びる複数のティースを有し、前記ヨークの周方向で隣り合うティースの間にスロットが形成されているステータコアと、前記ステータコアに巻線が巻回されることにより形成され、且つ、前記ステータコアにおける前記ヨークの軸方向の両側にそれぞれ位置する端面であるコア端面それぞれから突出する一対のコイルエンドを含むコイルと、前記各コア端面に対向してそれぞれ配置されるとともに前記各コイルエンドと前記各コア端面との間を絶縁する一対のインシュレータと、を備え、前記ティースは、前記ヨークの周面から延びるティース延在部と、前記ティース延在部における前記ヨークの周方向の両側に位置するティース側面それぞれから前記周方向に突出するティース鍔部と、を有し、前記インシュレータは、前記ヨークに対して前記軸方向で重なる位置に配置される筒状のインシュレータ基部と、前記インシュレータ基部の周面から前記インシュレータ基部の径方向へ延びるとともに前記各ティース延在部に対して前記軸方向で重なる位置に配置される複数のインシュレータティース部と、を有し、前記コイルは、前記スロットを通過する巻線が前記ティース延在部及び前記インシュレータティース部に巻回されることにより形成され、前記スロット内において前記周方向で隣り合うコイル同士を絶縁する絶縁部材を備えている回転電機のステータであって、前記絶縁部材は、前記軸方向に直交する断面がV字状に形成されるとともに、前記周方向で隣り合うコイル同士の間で前記軸方向に延在し、前記軸方向の両側において前記各コア端面からそれぞれ突出する両端部を備える絶縁本体部と、前記両端部から前記周方向の両側へ互いに離間する方向へ張り出す一対の抜け止め部と、を有し、前記絶縁部材は、前記抜け止め部が、前記一対のインシュレータのうち一方のインシュレータにおける前記周方向で隣り合うインシュレータティース部の間から前記スロット内に挿入され、前記一対のインシュレータのうち他方のインシュレータにおいて前記インシュレータティース部における前記ティース鍔部とは前記軸方向の反対側に位置する端面に対して前記軸方向で対向することで抜け止めされる。
【0009】
これによれば、絶縁部材がヨークの軸方向へ移動しようとしたとしても、各抜け止め部が各インシュレータティース部におけるティース鍔部とはヨークの軸方向の反対側に位置する端面に当接することによって、絶縁部材におけるヨークの軸方向への移動を規制することができる。よって、絶縁部材におけるヨークの軸方向の位置決めを行うことができる。その結果、スロット内において絶縁部材におけるヨークの軸方向での位置がずれてしまい、スロット内においてヨークの周方向で隣り合うコイル同士の間で絶縁不良となってしまうといった問題を回避することができる。
【0010】
そして、各抜け止め部は、各インシュレータティース部に対して、各ティース鍔部とはヨークの軸方向の反対側に位置している。したがって、例えば、各抜け止め部が、各ティース鍔部と各インシュレータティース部との間に位置している場合に比べると、各インシュレータティース部に対する各抜け止め部の位置を容易に確認することができる。よって、作業者は、各抜け止め部が、各インシュレータティース部におけるティース鍔部とはヨークの軸方向の反対側に位置する端面に対してヨークの軸方向で対向しているか否かを容易に確認することができる。したがって、絶縁部材におけるヨークの軸方向の位置決めが行われているか否かを容易に確認することができる。その結果、絶縁部材によって、スロット内においてヨークの周方向で隣り合うコイル同士の絶縁を好適に確保することができる。以上により、回転電機のステータの信頼性を向上させることができる。
(【0011】以降は省略されています)
この特許をJ-PlatPat(特許庁公式サイト)で参照する
関連特許
株式会社豊田自動織機
車両
26日前
株式会社豊田自動織機
排気管
2日前
株式会社豊田自動織機
冷却装置
6日前
株式会社豊田自動織機
耐熱部材
24日前
株式会社豊田自動織機
産業車両
24日前
株式会社豊田自動織機
流体機械
18日前
株式会社豊田自動織機
流体機械
18日前
株式会社豊田自動織機
制御装置
9日前
株式会社豊田自動織機
監視装置
6日前
株式会社豊田自動織機
電動圧縮機
26日前
株式会社豊田自動織機
電動圧縮機
26日前
株式会社豊田自動織機
電動圧縮機
26日前
株式会社豊田自動織機
燃料噴射弁
10日前
株式会社豊田自動織機
車両用機器
6日前
株式会社豊田自動織機
荷役制御装置
2日前
株式会社豊田自動織機
自動運転車両
2日前
株式会社豊田自動織機
電力変換装置
17日前
株式会社豊田自動織機
インバータ装置
6日前
株式会社豊田自動織機
インバータ装置
25日前
株式会社豊田自動織機
フォークリフト
17日前
株式会社豊田自動織機
段積みケース構造
2日前
株式会社豊田自動織機
パレット検知装置
4日前
株式会社豊田自動織機
燃料電池システム
6日前
株式会社豊田自動織機
燃料電池システム
6日前
株式会社豊田自動織機
燃料電池システム
6日前
株式会社豊田自動織機
走行制御システム
18日前
株式会社豊田自動織機
シートベルト装置
17日前
株式会社豊田自動織機
スクロール型圧縮機
2日前
株式会社豊田自動織機
蓄電装置の製造方法
16日前
株式会社豊田自動織機
蓄電装置の製造方法
16日前
株式会社豊田自動織機
トランスモジュール
16日前
株式会社豊田自動織機
燃料電池モジュール
6日前
株式会社豊田自動織機
回転電機のステータ
2日前
株式会社豊田自動織機
支持装置及び支持部材
16日前
株式会社豊田自動織機
屋外自動運転システム
2日前
株式会社豊田自動織機
位置姿勢検知システム
18日前
続きを見る
他の特許を見る