TOP
|
特許
|
意匠
|
商標
特許ウォッチ
Twitter
他の特許を見る
公開番号
2025145996
公報種別
公開特許公報(A)
公開日
2025-10-03
出願番号
2024046548
出願日
2024-03-22
発明の名称
振動発電装置
出願人
株式会社鷺宮製作所
代理人
弁理士法人谷・阿部特許事務所
主分類
H02N
1/08 20060101AFI20250926BHJP(電力の発電,変換,配電)
要約
【課題】小型化された振動発電装置の提供を目的とする。
【解決手段】開口部を有し、電気回路を備える基板と、一端が保持部に固定された振動発電素子であって、振動時に自由端が前記開口部を挿通する、振動発電素子と、を備える振動発電装置を提供する。
【選択図】図1
特許請求の範囲
【請求項1】
開口部を有し、電気回路を備える基板と、
一端が保持部に固定された振動発電素子であって、振動時に自由端が前記開口部を挿通する、振動発電素子と、
を備える振動発電装置。
続きを表示(約 260 文字)
【請求項2】
前記基板および前記振動発電素子を収容する筐体をさらに備える、請求項1に記載の振動発電装置。
【請求項3】
前記保持部は弾性部を有する、請求項1に記載の振動発電装置。
【請求項4】
前記開口部は前記基板の内部に形成される、請求項1に記載の振動発電装置。
【請求項5】
前記開口部は前記基板の外縁と接続する、請求項1に記載の振動発電装置。
【請求項6】
前記電気回路は、前記振動発電素子と電気的に接続されている、請求項1に記載の振動発電装置。
発明の詳細な説明
【技術分野】
【0001】
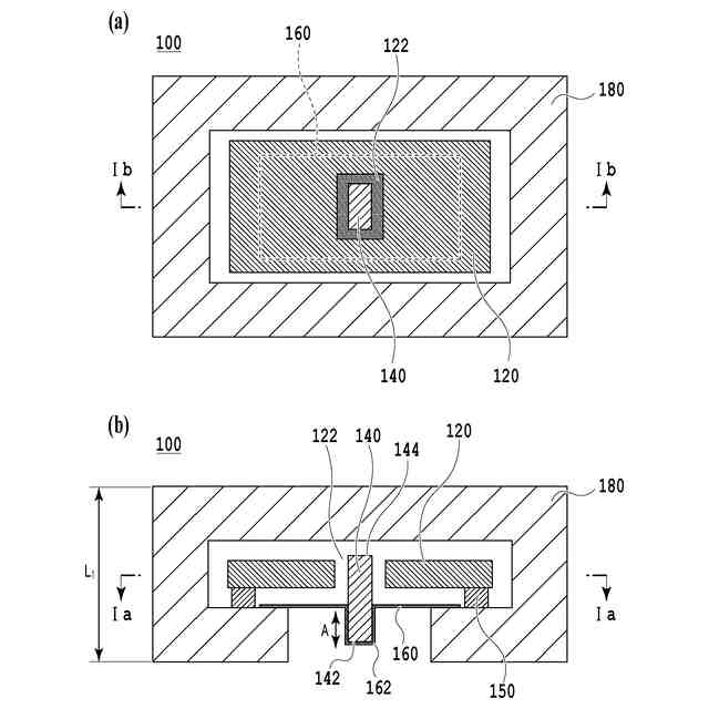
本発明は、振動発電装置に関する。
続きを表示(約 990 文字)
【背景技術】
【0002】
振動エネルギーを電気エネルギーに変換する振動発電素子は、環境振動を利用した発電に用いられている。
【0003】
振動発電素子は、振動の際、振動発電素子そのものの体積だけでなく、振動のための体積を必要とする。そのため、ケースに実装する際には、振動のための体積の分、ケースを大きくする必要がある。
【0004】
一方、振動発電素子がセンサ等の電子機器に用いられる場合には、近年の電子機器の小型化や狭い場所へのセンサの設置等のため、振動発電装置の小型化が求められている。
【0005】
半導体素子をベースにフリップチップ実装することにより、振動デバイスの小型化が図ることが、特許文献1に開示されている。また、集積回路を含む半導体基板に圧電振動子を搭載し、圧電振動子を被うようにリッドを半導体基板に配置することによる振動デバイスの小型化が特許文献2に記載されている。
【先行技術文献】
【特許文献】
【0006】
特開2023-74649号公報
特開2022-67813号公報
【発明の概要】
【発明が解決しようとする課題】
【0007】
しかしながら、特許文献1では、ベースと、半導体素子と、振動子とが順に積層する必要があり、積層方向高さを必要とする。また、特許文献2では、振動素子が振動時に半導体基板と接触しないように、振動デバイス内に十分な空間を設けることを必要とする。
【0008】
これらに鑑み、本発明は、小型化された振動発電装置の提供を目的とする。
【課題を解決するための手段】
【0009】
上記課題を解決するために、本発明に係る一実施態様の振動発電装置は、開口部を有し、電気回路を備える基板と、一端が保持部に固定された振動発電素子であって、振動時に自由端が前記開口部を移動する、振動発電素子と、を備えることを特徴とする。
【発明の効果】
【0010】
本発明は、小型化された振動発電装置、特に振動発電素子の振動方向に平行する長さを抑制した振動発電装置を提供することができる。
【図面の簡単な説明】
(【0011】以降は省略されています)
この特許をJ-PlatPat(特許庁公式サイト)で参照する
関連特許
株式会社鷺宮製作所
振動発電装置
5日前
株式会社鷺宮製作所
シミュレータおよびディスプレイ架台
9日前
株式会社鷺宮製作所
弁装置、逆止弁、及び冷凍サイクルシステム
7日前
株式会社鷺宮製作所
音検出装置および音検出装置を備える音検出システム
1日前
株式会社鷺宮製作所
制御装置、制御方法、過熱度コントローラ、および制御プログラム
5日前
個人
電源装置
20日前
個人
永久磁石モーター
1か月前
個人
バッテリ内蔵直流電源
19日前
株式会社FUJI
制御盤
9日前
オムロン株式会社
電源回路
13日前
オムロン株式会社
電源回路
13日前
オムロン株式会社
電源回路
13日前
日本精機株式会社
サージ保護回路
1日前
西部電機株式会社
充電装置
1日前
西部電機株式会社
充電装置
1日前
ニデック株式会社
モータの制御方法
27日前
日産自動車株式会社
電子機器
1か月前
トヨタ自動車株式会社
回転子
20日前
トヨタ自動車株式会社
回転子
5日前
エイブリック株式会社
バッテリ装置
1か月前
ミサワホーム株式会社
居住設備
9日前
トヨタ自動車株式会社
溶接装置
1か月前
個人
連続ガウス加速器形磁力増幅装置
1日前
大豊工業株式会社
モータ
19日前
東京応化工業株式会社
発電装置
13日前
井関農機株式会社
充電システム
1か月前
株式会社リコー
拡張アンテナ装置
12日前
東京瓦斯株式会社
通信装置
今日
株式会社ミツバ
ブラシレスモータ
今日
三菱ケミカル株式会社
電池
1か月前
カヤバ株式会社
筒型リニアモータ
今日
富士電子工業株式会社
電力変換装置
21日前
ユタカ電業株式会社
ケーブルダクト
9日前
トヨタ自動車株式会社
ロータ
7日前
ニチコン株式会社
AC入力検出回路
5日前
愛知電機株式会社
巻線方法および巻線装置
1か月前
続きを見る
他の特許を見る