TOP
|
特許
|
意匠
|
商標
特許ウォッチ
Twitter
他の特許を見る
公開番号
2025147999
公報種別
公開特許公報(A)
公開日
2025-10-07
出願番号
2024048557
出願日
2024-03-25
発明の名称
音検出装置および音検出装置を備える音検出システム
出願人
株式会社鷺宮製作所
代理人
弁理士法人谷・阿部特許事務所
主分類
H04R
3/00 20060101AFI20250930BHJP(電気通信技術)
要約
【課題】待機電力を必要とせず、音が鳴った際に随時検出することのできる音検出装置およびこれを用いた音検出システムを提供する。
【解決手段】筐体と、前記筐体内に外部から音を導入する導入路と前記導入路に連通し、外部音を検出する音検出センサと、前記導入路に連通し、外部音により振動する振動部に接続された振動発電素子と、を備え、前記音検出センサは、前記振動発電素子の発電量が特定の値を超えた際に起動する音検出装置を提供する。
【選択図】図3
特許請求の範囲
【請求項1】
筐体と、
前記筐体内に外部から音を導入する導入路と
前記導入路に連通し、外部音を検出する音検出センサと、
前記導入路に連通し、外部音により振動する振動部に接続された振動発電素子と、
を備え、
前記音検出センサは、前記振動発電素子の発電量が特定の値を超えた際に起動する音検出装置。
続きを表示(約 770 文字)
【請求項2】
前記導入路は、前記音検出センサに外部音を伝える第1導入路と、前記振動部に外部音を伝える第2導入路とを備える、請求項1に記載の音検出装置。
【請求項3】
前記第2導入路は、空洞及び前記空洞に連通するネック部を有するヘルムホルツ共鳴器をさらに備え、前記振動部は前記ヘルムホルツ共鳴器に設けられ、前記空洞の一部を画定する、請求項2に記載の音検出装置。
【請求項4】
前記導入路は外部と連通する開口を有し、前記開口は設置時に重力方向下向きに開口する、請求項1に記載の音検出装置。
【請求項5】
前記振動発電素子の可動子の振動方向が、前記振動部の振動方向と実質的に一致する、請求項1に記載の音検出装置。
【請求項6】
前記ネック部が、前記振動部の振動方向と同じ方向に延在することを特徴とする請求項3に記載の音検出装置。
【請求項7】
前記第1導入路は少なくとも一部が前記ネック部の延在方向と同じ方向に延在する区間を有し、前記区間は前記第1導入路の中心軸に垂直な断面が同一形状である、請求項6に記載の音検出装置。
【請求項8】
前記振動部は前記筐体の他の部分よりも剛性が低い、請求項1に記載の音検出装置。
【請求項9】
請求項1~8のいずれか一項に記載の音検出装置と、
前記振動発電素子の発電量が特定の値を超えた際に前記音検出センサを起動する制御部と、
前記音検出センサに接続される電源と、
を備える音検出システム。
【請求項10】
前記制御部は、その少なくとも一部が前記筐体の外部に設けられる、請求項9に記載の音検出システム。
(【請求項11】以降は省略されています)
発明の詳細な説明
【技術分野】
【0001】
本発明は、音検出装置および音検出装置を備える音検出システムに関する。
続きを表示(約 1,100 文字)
【背景技術】
【0002】
警報や公共放送に用いられるスピーカは高所や屋外に設置されることが多く、定期的な保守点検が行われている。
【0003】
これに対し、定期的な保守点検ではスピーカの機能低下に対する即時的な対応ができないことから、特許文献1では音圧センサを用いた音圧計測装置により、随時の計測を提案している。
【先行技術文献】
【特許文献】
【0004】
特開2021-82990号公報
【発明の概要】
【発明が解決しようとする課題】
【0005】
しかし、音圧センサを用いた場合、対象となる音が鳴っていない場合でもセンサは待機状態で維持されるため、待機電力が必要となる。そのため、待機電力を電池から供給している場合には、電池が切れれば測定ができなくなり、定期的な電池の交換が必要となる。
【0006】
これらを鑑み、本発明は、待機電力を必要とせず、音が鳴った際に随時検出することのできる音検出装置およびこれを用いた音検出システムを提供することを目的とする。
【課題を解決するための手段】
【0007】
上記課題を解決するために、本発明に係る一実施態様の音検出装置は、筐体と、前記筐体内に外部から音を導入する導入路と前記導入路に連通し、外部音により振動する振動部に接続された振動発電素子と、前記導入路に連通し、外部音を検出する音検出センサと、
を備え、前記音検出センサは、前記振動発電素子の発電量が特定の値を超えた際に起動することを特徴とする。
【0008】
また、本発明に係る他の実施形態では、本発明の一実施形態に係る音検出装置と、前記振動発電素子の発電量が特定の値を超えた際に前記音検出センサを起動する制御部と、前記音検出センサに接続される電源と、を備える音検出システムを提供する。
【発明の効果】
【0009】
本発明は待機電力を必要とせず、音が鳴った際には随時検出することのできる音検出装置およびそれを用いた音検出システムを提供することができる。
【図面の簡単な説明】
【0010】
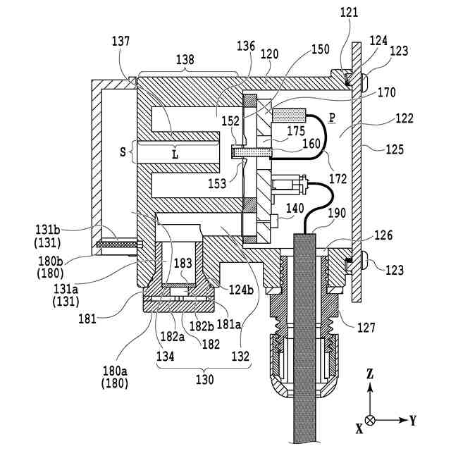
本発明の一実施形態に係る音検出装置の斜視図である。
本発明の一実施形態に係る音検出装置の側面図である。
図1におけるIII-III線に沿った断面図である。
本発明の一実施形態に係る音検出装置の底面図である。
本発明の他の実施形態に係る音検出装置の断面図である。
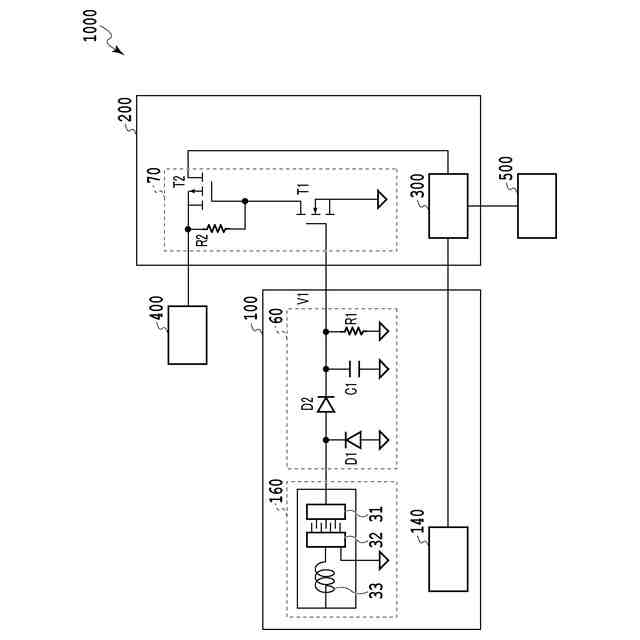
本発明の音検出装置を含む音検出システムの回路図である。
【発明を実施するための形態】
(【0011】以降は省略されています)
この特許をJ-PlatPat(特許庁公式サイト)で参照する
関連特許
個人
店内配信予約システム
2か月前
サクサ株式会社
中継装置
2日前
WHISMR合同会社
収音装置
1か月前
サクサ株式会社
中継装置
3日前
サクサ株式会社
中継装置
3か月前
キヤノン株式会社
電子機器
2か月前
アイホン株式会社
電気機器
24日前
キヤノン株式会社
撮像装置
1か月前
株式会社リコー
画像形成装置
1か月前
サクサ株式会社
無線システム
1日前
キヤノン電子株式会社
モバイル装置
3か月前
キヤノン電子株式会社
画像読取装置
1か月前
株式会社リコー
画像形成装置
1か月前
個人
ワイヤレスイヤホン対応耳掛け
22日前
サクサ株式会社
無線通信装置
2日前
サクサ株式会社
無線通信装置
2日前
株式会社リコー
画像形成装置
2か月前
株式会社ニコン
撮像装置
2か月前
ブラザー工業株式会社
読取装置
1か月前
個人
発信機及び発信方法
1日前
キヤノン株式会社
撮像システム
24日前
キヤノン電子株式会社
シート材搬送装置
2か月前
沖電気工業株式会社
画像形成装置
4日前
国立大学法人電気通信大学
小型光学装置
1か月前
株式会社JVCケンウッド
通信システム
8日前
パテントフレア株式会社
超高速電波通信
1か月前
沖電気工業株式会社
画像形成装置
12日前
株式会社小糸製作所
画像照射装置
1か月前
DXO株式会社
情報処理システム
2か月前
大日本印刷株式会社
写真撮影装置
23日前
パテントフレア株式会社
水中電波通信法
2か月前
株式会社松平商会
携帯機器カバー
1か月前
有限会社フィデリックス
マイクロフォン
8日前
日本無線株式会社
無線通信システム
1か月前
個人
回動アームを構築する関節モジュール
4日前
日本無線株式会社
無線通信システム
1か月前
続きを見る
他の特許を見る