TOP
|
特許
|
意匠
|
商標
特許ウォッチ
Twitter
他の特許を見る
公開番号
2025146233
公報種別
公開特許公報(A)
公開日
2025-10-03
出願番号
2024046903
出願日
2024-03-22
発明の名称
CMP装置およびその研磨温度制御方法
出願人
株式会社東京精密
代理人
スプリング弁理士法人
主分類
B24B
37/015 20120101AFI20250926BHJP(研削;研磨)
要約
【課題】
研磨温度を適切に制御可能な研磨装置及び研磨方法の提供。
【解決手段】
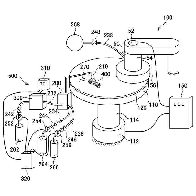
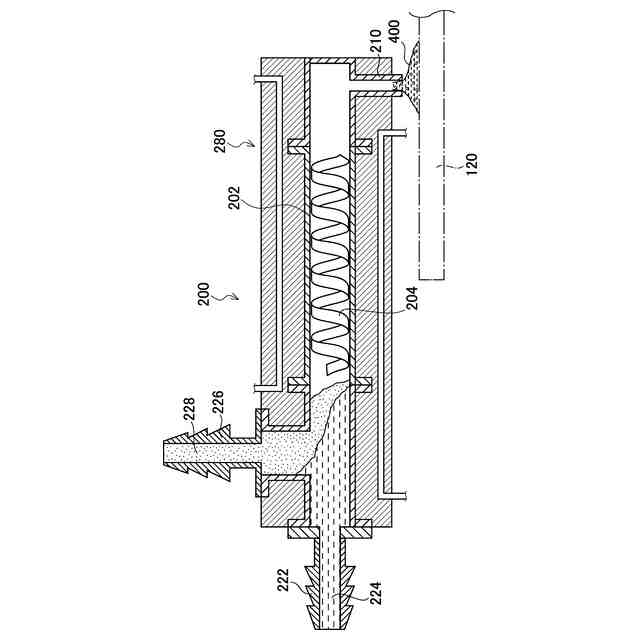
回転可能な研磨ヘッド50に保持されたワークを回転自在なプラテン110に押し当て前記ワークの表面を研磨するCMP装置100において、前記プラテンに隣接し、スラリーとスラリー以外の液体とを混合する混合器200と、前記液体の温度調整する温度調節手段300と、を備える、ことを特徴とするCMP装置。
【選択図】 図2
特許請求の範囲
【請求項1】
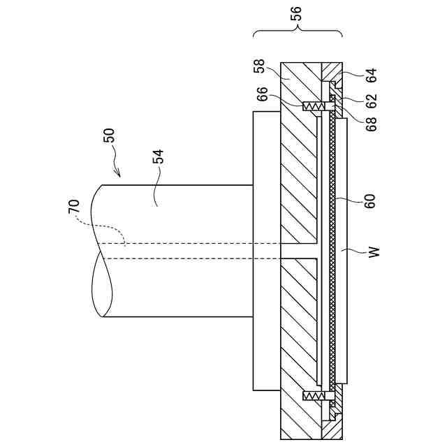
回転可能な研磨ヘッドに保持されたワークを回転自在なプラテンに押し当て前記ワークの表面を研磨するCMP装置において、
前記プラテンに隣接し、スラリーとスラリー以外の液体とを混合する混合器と、
前記液体の温度調整する温度調節手段と、を備える、ことを特徴とするCMP装置。
続きを表示(約 470 文字)
【請求項2】
前記混合器は、前記スラリー及び前記液体を混合した研磨液を前記プラテンに向かって滴下する滴下手段を備え、
前記滴下手段は、前記プラテンの回転方向に対して上流側に位置している、ことを特徴とする請求項1に記載のCMP装置。
【請求項3】
前記混合器は、前記プラテン上に配置されている、請求項2に記載のCMP装置。
【請求項4】
前記液体は、純水であることを特徴とする請求項3に記載のCMP装置。
【請求項5】
回転可能な研磨ヘッドに保持されたワークを回転自在なプラテンに押し当て前記ワークの表面を研磨するCMP装置において、
スラリー以外の液体の温度を調整し、
前記プラテンに隣接する混合器でスラリー及び前記液体を混合した研磨液の温度調整をする、ことを特徴とするCMP装置の研磨温度制御方法。
【請求項6】
前記研磨液を前記プラテンの回転方向に対して前記研磨ヘッドよりも上流側に供給することを特徴とする請求項5に記載の研磨温度制御方法。
発明の詳細な説明
【技術分野】
【0001】
本発明は、半導体ウェハ面等を研磨するCMP装置及びその研磨温度制御方法に関する。
続きを表示(約 2,400 文字)
【背景技術】
【0002】
従来、化学的機械的研磨(Chemical Mechanical Polishing,CMP)装置を用いた研磨処理において、半導体基板のウェハ等のワークを研磨剤又は研磨液のスラリー等を用いて研磨することが知られている。CMP装置を用いた研磨処理において、研磨処理時の研磨部分であるウェハ等の温度に相当する研磨温度が研磨レートに影響を与え得る。具体的には。ウェハの中心から外周端までの研磨温度差がウェハの研磨量分布に影響を与え可能性がある。例えば、シリコン、シリコンカーバイド等の基板やシリコン酸化膜、金属配線膜等を対象とする研磨の中でも特、金属研磨において、研磨温度による研磨レートに与える影響が顕著に生じ得る。近年のウェハの大径化に伴いさらに研磨温度を精度よく制御することが必要となり得る。
【0003】
CMP装置を用いたウェハ面の研磨例が、特許文献1~5に記載されている。例えば、特許文献1に記載のCMP装置は、研磨パッドを保持するプラテンと、研磨プロセス中に研磨パッドの研磨面に対して基板を保持するために、アクチュエータによって研磨パッドを横切って横方向に移動可能なキャリアを含む。さらに、研磨パッド上の複数のゾーンの温度を独立して制御する複数のヒータ及びクーラを含む熱制御システムと、コントローラを有し、コントローラは、熱制御システムが、第1の温度を有する第1のゾーンと、第1の温度とは異なる第2の温度を有する第2のゾーンを研磨パッド上に生成するよう、制御する。
【0004】
特許文献2では、研磨後のウェハに研磨傷跡が残ることなく、研磨面を高度に平坦であるようにすることが開示されている。具体的には、水溶性粒子を含んだ研磨パッドの表面部にスラリーを供給する供給部と、被研磨物を保持した状態で被研磨物を研磨パッドの表面部に接触させる保持部と、研磨パッドの表面部に配置され研磨パッドの表面部の温度を設定する温度設定部と、供給部と保持部と温度設定部の動作を制御する制御部をCMP装置が備える。制御部は、研磨パッドの表面部の温度を第1の温度範囲内に設定した状態で被研磨物を研磨する第1の研磨工程を実行した後に、研磨パッドの表面部の温度を第2の温度範囲内に設定した状態で被研磨物を研磨する第2の研磨工程を実行する。
【0005】
特許文献3では、CMP装置に供給するスラリーの凝集による研磨粒子の粗大化を抑制するために、スラリー供給装置が、密閉されたスラリーボトルと、配管系統と、ウェット窒素生成装置と、ウェット窒素供給用配管と、吸引ノズルと、噴出ノズルと、温度調節器と、流量調節弁と、送液ポンプと各送液ポンプの運転や流量を制御する制御系を備える。CMP装置による研磨中は、送液ポンプを一定の時間間隔で交互に運転・停止させる間欠運転をする。スラリーボトル内に配置するプロペラ等の撹拌装置を用いずに、噴出ノズルからスラリーを噴出させてスラリーを撹拌する。
【0006】
特許文献4では、ダマシン法により形成されたCu配線を持つ被研磨体の研磨において、CMP工程でCu膜の研磨残りを防止するために、CMP装置を用いた研磨においては、次の3つのステップを踏む。第1のステップでは、第1の研磨定盤で砥粒フリースラリを用いてCu膜を研磨し、バリアメタル層でCu膜の研磨を止める。第2のステップでは、第2の研磨定盤で砥粒フリースラリ及びシリカスラリを直前混合したスラリを用いて半導体ウェハの表面を研磨し、第1のステップで局所的に研磨残りしたCu膜を除去する。第3のステップでは、第3の研磨定盤でシリカスラリを用いて配線溝以外の領域のバリアメタル層を研磨し、配線溝の内部にCu配線を形成する。
【0007】
特許文献5では、金属配線膜を有するウェーハ表面のCMP法による平坦化研磨において、メタル系の発熱反応で金属膜表面の温度が上昇し、加工面の化学的反応速度にばらつきが生じるのを抑制することを試みている。そのため、下面にエアー噴出口を有しエアー噴出口から供給されるエアーによって形成される圧力エアー層を介してウェーハに押圧力を付与するバックプレートと、ウェーハに接触してバックプレートから圧力エアー層を介して加えられる押圧力をウェーハに伝達する保護シートとを有したウェーハキャリアのエアー噴出口から供給するエアーの温度を所定の値に制御する恒温手段を研磨装置に設けている。
【先行技術文献】
【特許文献】
【0008】
特表2022-529635号公報
特開2012-178450号公報
特開2000-158339号公報
特開2003-115488号公報
特開2006-237035号公報
【発明の概要】
【発明が解決しようとする課題】
【0009】
半導体ウェハの製造では、ウェハの基板面上にパターン又は金属配線層を形成したのちに基板の表面を平坦に研磨し、さらに次の層の金属配線層又はパターンを研磨面上に形成し、形成されたパターン面を平坦に研磨する。この作業を繰り返すことにより、ウェハ基板面上に多層の配線層が形成可能になる。
【0010】
ウェハ基板の表面研磨には、CMP法が多用されている。CMP法においては、プラテンと呼ばれる回転定盤上に研磨パッドを配設し、プラテンを回転動させる。それとともに、研磨対象のウェハもウェハ中心を中心として回転動させて、スラリーに含まれる砥粒を介して研磨する。この研磨の良否は研磨時に発生する摩擦熱に影響され、特に研磨部の温度が上昇するか否かでウェハ表面の研磨面の平坦さや表面への傷の発生が左右されることが判明した。
(【0011】以降は省略されています)
この特許をJ-PlatPat(特許庁公式サイト)で参照する
関連特許
株式会社東京精密
加工装置
17日前
株式会社東京精密
プローバ
4日前
株式会社東京精密
プローバ
3日前
株式会社東京精密
研削装置
1か月前
株式会社東京精密
ロッカー
28日前
株式会社東京精密
プローバ
17日前
株式会社東京精密
加工装置
17日前
株式会社東京精密
加工装置
3日前
株式会社東京精密
プローバ
7日前
株式会社東京精密
電池検査装置
7日前
株式会社東京精密
カーフ洗浄装置
2か月前
株式会社東京精密
レーザ加工装置
1か月前
株式会社東京精密
スラリー供給装置
18日前
株式会社東京精密
ウェーハ加工システム
3か月前
株式会社東京精密
校正方法及び校正装置
3日前
株式会社東京精密
検査装置、及び、検査方法
1か月前
株式会社東京精密
CMP装置、及び、CMP方法
1か月前
株式会社東京精密
形状測定装置及び形状測定方法
3か月前
株式会社東京精密
測定装置及び移動体の制御方法
7日前
株式会社東京精密
測定装置及び移動体の制御方法
7日前
株式会社東京精密
測定装置及び移動体の制御方法
7日前
株式会社東京精密
測定装置及び移動体の制御方法
7日前
株式会社東京精密
内径測定装置及びそのシステム
3日前
株式会社東京精密
測定機の管理方法及び管理装置
7日前
株式会社東京精密
形状測定装置及び形状測定方法
3か月前
株式会社東京精密
カメラのキャリブレーション方法
2か月前
株式会社東京精密
カメラのキャリブレーション方法
2か月前
株式会社東京精密
コントローラ、及び、監視システム
10日前
株式会社東京精密
プローバ、及び、プローブ検査方法
27日前
株式会社東京精密
校正データの管理方法及び形状測定機
2か月前
株式会社東京精密
自己位置推定装置及び自己位置推定方法
3日前
株式会社東京精密
CMP装置およびその研磨温度制御方法
3日前
株式会社東京精密
自己位置推定装置及び自己位置推定方法
3日前
株式会社東京精密
レーザー加工装置及びレーザー加工方法
3日前
株式会社東京精密
基板加工装置及び加工済基板の製造方法
3日前
株式会社東京精密
ダイシング方法およびダイシングシステム
28日前
続きを見る
他の特許を見る