TOP
|
特許
|
意匠
|
商標
特許ウォッチ
Twitter
他の特許を見る
10個以上の画像は省略されています。
公開番号
2025146236
公報種別
公開特許公報(A)
公開日
2025-10-03
出願番号
2024046906
出願日
2024-03-22
発明の名称
歩行相判定支援システム
出願人
豊田合成株式会社
,
国立大学法人東海国立大学機構
代理人
個人
,
個人
主分類
A61B
5/11 20060101AFI20250926BHJP(医学または獣医学;衛生学)
要約
【課題】判定者による歩行相の判定を支援することで判定精度を高める。
【解決手段】撮影部20は歩行者の歩行動作を撮影し、検出部25は足裏の複数の部位毎にかかる力の経時変化を撮影に同期して検出する。入力部34は、複数種類の歩行相からなる歩行周期のうち、判定の対象となる判定対象歩行相を指定する際に入力操作される。制御部35は、撮影部20で撮影された動画を表示部33に表示させ、動画を構成する複数の静止画の中から、互いに異なる複数のタイミングで撮影された複数の静止画を表示静止画として表示部33に表示させる。制御部35は、検出部25の検出値の経時変化に基づき、歩行者の歩行相が、入力部34の操作により指定された判定対象歩行相になるタイミングを特定タイミングとして推定する。制御部35は、複数の表示静止画のうち、特定タイミングに対応する表示静止画を、判定対象歩行相に関連付けた態様で表示部33に表示させる。
【選択図】図2
特許請求の範囲
【請求項1】
歩行者の歩行動作を見て行う歩行相の判定を支援する歩行相判定支援システムであって、
前記歩行者の前記歩行動作を撮影する撮影部と、
前記歩行者の足裏の複数の部位毎にかかる力の経時変化を、前記撮影部による撮影に同期して検出する検出部と、
複数種類の前記歩行相からなる歩行周期のうち、前記判定の対象となる判定対象歩行相を指定する際に入力操作される入力部と、
前記歩行者の前記歩行動作に関する映像を表示する表示部と、
前記撮影部により撮影された動画を前記表示部に表示させるとともに、前記動画を構成する静止画の中から、互いに異なる複数のタイミングで撮影された複数の前記静止画を、表示静止画として前記表示部に表示させる制御部と、
を備え、前記制御部は、前記検出部の検出値の経時変化に基づき、前記歩行者の前記歩行相が、前記入力部の操作により指定された前記判定対象歩行相になるタイミングを特定タイミングとして推定し、複数の前記表示静止画のうち、前記特定タイミングに対応する前記表示静止画を、前記判定対象歩行相に関連付けた態様で前記表示部に表示させる、歩行相判定支援システム。
続きを表示(約 460 文字)
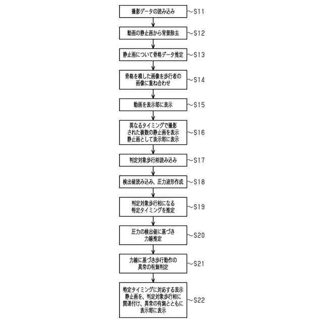
【請求項2】
前記制御部は、前記静止画から背景の画像を除去し、除去後の前記静止画を前記表示静止画として前記表示部に表示させる、請求項1に記載の歩行相判定支援システム。
【請求項3】
前記制御部は、前記検出部の検出値に基づき、前記歩行者の前記歩行動作に関する特徴量を推定し、前記特徴量に基づき、前記特定タイミングでの前記歩行動作が異常歩行であるかどうかを判定し、前記特定タイミングに対応する前記表示静止画を、前記異常歩行に関する前記判定の結果に関連付けた態様で前記表示部に表示させる、請求項1に記載の歩行相判定支援システム。
【請求項4】
前記制御部は、少なくとも前記特定タイミングに対応する前記表示静止画に基づき、前記歩行者の骨格のデータを推定し、前記骨格のデータに対応し、かつ前記骨格を模した画像を、前記特定タイミングに対応する前記表示静止画における前記歩行者の画像に重ねた状態で前記表示部に表示させる、請求項1~請求項3のいずれか1項に記載の歩行相判定支援システム。
発明の詳細な説明
【技術分野】
【0001】
本発明は、歩行者の歩行動作を見て行う歩行相の判定を支援する歩行相判定支援システムに関する。
続きを表示(約 1,900 文字)
【背景技術】
【0002】
理学療法士、整形外科医等は、負傷、病気等で身体に障害のある人や、障害の発生が予測される人(以下、これらの人を患者という)に対して、運動療法、物理療法等を施すことにより、自立した日常生活が送れるよう支援する。この支援に際し、上記理学療法士等は、一般に、患者の歩行分析を行う。歩行分析では、患者の歩行動作を見て、歩行周期のうちのどの歩行相であるかを正確に判定することが要求される。歩行周期とは、歩行動作において、例えば、左右の一方の足の踵が地面に接触してから、再び地面に接触するまでの期間である。歩行周期は、複数の歩行相からなる立脚期と、複数の歩行相からなる遊脚期とにより構成される。各歩行相には、それぞれ果たすべき役割がある。いずれかの歩行相で、正常な状態から逸脱する状態が見られれば、その歩行相や、前後の歩行相での歩行姿勢に改善の余地がある。対象者に対し、正常な状態に戻すための対策を講ずることが必要となる。そのため、歩行相の正確な判定が重要となってくる。
【0003】
従来は、理学療法士、整形外科医等からなる判定者が、患者を歩行者として、歩行させる。歩行者の歩行動作を目視することにより、経験等の主観に基づき、歩行相を判定している。
【0004】
なお、関連する技術として、特許文献1には、歩行器を用いた歩行に関する歩行関連データから歩行周期データを取得し、両データに基づいて、歩行者の歩幅を算出する技術が記載されている。歩行関連データとしては、歩行距離データ、歩行速度データ、心拍数データ及び腕振り時間データが挙げられている。
【先行技術文献】
【特許文献】
【0005】
特開2020-185064号公報
【発明の概要】
【発明が解決しようとする課題】
【0006】
ところが、歩行動作を見るだけで歩行相を判定する方法では、経験の浅い理学療法士等にとって、正確に歩行相を判定することは難しい。そのため、経験に拘わらず正確に歩行相を判定できるように、判定を支援する技術が望まれている。
【0007】
なお、特許文献1に記載された技術は、歩行周期データを用いる技術ではあるものの、歩行動作を見て行う歩行相の判定を支援する技術ではないため、上記の要望に応えることは難しい。
【課題を解決するための手段】
【0008】
上記課題を解決するための歩行相判定支援システムの各態様を記載する。
[態様1]歩行者の歩行動作を見て行う歩行相の判定を支援する歩行相判定支援システムであって、前記歩行者の前記歩行動作を撮影する撮影部と、前記歩行者の足裏の複数の部位毎にかかる力の経時変化を、前記撮影部による撮影に同期して検出する検出部と、複数種類の前記歩行相からなる歩行周期のうち、前記判定の対象となる判定対象歩行相を指定する際に入力操作される入力部と、前記歩行者の前記歩行動作に関する映像を表示する表示部と、前記撮影部により撮影された動画を前記表示部に表示させるとともに、前記動画を構成する静止画の中から、互いに異なる複数のタイミングで撮影された複数の前記静止画を、表示静止画として前記表示部に表示させる制御部と、を備え、前記制御部は、前記検出部の検出値の経時変化に基づき、前記歩行者の前記歩行相が、前記入力部の操作により指定された前記判定対象歩行相になるタイミングを特定タイミングとして推定し、複数の前記表示静止画のうち、前記特定タイミングに対応する前記表示静止画を、前記判定対象歩行相に関連付けた態様で前記表示部に表示させる、歩行相判定支援システム。
【0009】
上記の構成によれば、歩行者の歩行動作が撮影部によって撮影される。上記歩行者の足裏の複数の部位毎にかかる力の経時変化が、上記撮影に同期して、検出部によって検出される。判定者により、入力部が操作されることで、判定の対象となる判定対象歩行相が指定される。
【0010】
撮影部により撮影された動画は、制御部により、表示部に表示される。また、動画を構成する静止画の中から、互いに異なる複数のタイミングで撮影された複数の静止画が、制御部により、表示静止画として表示部に表示される。判定者は、表示部を見ることで、表示されている複数の表示静止画のうち、判定の対象となる判定対象歩行相に対応していると考えられる表示静止画を選択することで、歩行相を判定することが可能となる。
(【0011】以降は省略されています)
この特許をJ-PlatPat(特許庁公式サイト)で参照する
関連特許
個人
短下肢装具
2か月前
個人
排尿補助器具
1日前
個人
嚥下鍛錬装置
3か月前
個人
前腕誘導装置
2か月前
個人
バッグ式オムツ
4か月前
個人
胸骨圧迫補助具
1か月前
個人
汚れ防止シート
16日前
個人
歯の修復用材料
3か月前
個人
ホバーアイロン
6か月前
個人
矯正椅子
4か月前
個人
アイマスク装置
1か月前
個人
歯の保護用シール
4か月前
個人
シャンプー
5か月前
個人
陣痛緩和具
3か月前
個人
湿布連続貼り機。
1か月前
個人
哺乳瓶冷まし容器
2か月前
個人
エア誘導コルセット
1か月前
株式会社八光
剥離吸引管
4か月前
個人
性行為補助具
2か月前
株式会社大野
骨壷
3か月前
個人
治療用酸化防御装置
1か月前
個人
手指運動ツール
1か月前
株式会社ニデック
眼科装置
28日前
株式会社GSユアサ
歩行器
4か月前
個人
高気圧環境装置
4か月前
株式会社ニデック
眼科装置
28日前
株式会社ニデック
検眼装置
3か月前
個人
シリンダ式歩行補助具
2か月前
個人
精力増強キット
20日前
個人
形見の製造方法
3か月前
株式会社松風
口腔用組成物
3か月前
株式会社ダリヤ
毛髪化粧料
26日前
株式会社ニデック
眼科装置
5日前
株式会社ニデック
眼科装置
4か月前
株式会社コロナ
サウナ装置
5か月前
株式会社ダリヤ
染毛料組成物
5か月前
続きを見る
他の特許を見る