TOP
|
特許
|
意匠
|
商標
特許ウォッチ
Twitter
他の特許を見る
10個以上の画像は省略されています。
公開番号
2025146239
公報種別
公開特許公報(A)
公開日
2025-10-03
出願番号
2024046910
出願日
2024-03-22
発明の名称
アクチュエータ、液滴吐出ヘッド、ユニット、液滴吐出装置及び超音波診断装置
出願人
株式会社リコー
代理人
個人
主分類
B41J
2/16 20060101AFI20250926BHJP(印刷;線画機;タイプライター;スタンプ)
要約
【課題】振動板及び振動板を振動させる機能を有する基板を、別部材と接合させたときに、基板の反り状態を制御すること。
【解決手段】アクチュエータ400は、振動板と、駆動力を発生させる圧電体と、圧電体12に前記駆動力を生じさせる二つの電極と、を有する基板(例えば、振動発生基板500)と、基板と接着し、基板を保持するフレーム部材600と、を備え、基板とフレーム部材600とを接着させる接着面において、基板とフレーム部材600との少なくとも一方に、基板とフレーム部材600との間の距離を規定する凸形状(例えば、凸形状601)を設け、凸形状は、フレーム部材600の外周に向かうにつれ、距離が異なる。
【選択図】図5
特許請求の範囲
【請求項1】
振動板と、駆動力を発生させる圧電体と、前記圧電体に前記駆動力を生じさせる二つの電極と、を有する基板と、
前記基板と接着し、前記基板を保持するフレーム部材と、を備え、
前記基板と前記フレーム部材とを接着させる接着面において、前記基板と前記フレーム部材との少なくとも一方に、前記基板と前記フレーム部材との間の距離を規定する凸形状を設け、
前記凸形状は、前記フレーム部材の外周に向かうにつれ、前記距離が異なることを特徴とするアクチュエータ。
続きを表示(約 700 文字)
【請求項2】
前記凸形状は、前記アクチュエータの、第一方向と前記第一方向と交差する第二方向との少なくとも一方に沿って、前記距離が異なるように形成される
ことを特徴とする請求項1に記載のアクチュエータ。
【請求項3】
前記凸形状は、前記距離が段階的に異なる複数の凸部である
ことを特徴とする請求項1または2に記載のアクチュエータ。
【請求項4】
前記凸形状は、テーパ形状とラウンド形状と段差形状との少なくとも一つを有する
ことを特徴とする請求項1または2に記載のアクチュエータ。
【請求項5】
前記凸形状は、前記基板と前記フレーム部材とに設けられ、
前記基板の凸形状と前記フレーム部材の凸形状とは、前記基板の凸形状と前記フレーム部材の凸形状とを嵌め合わせることと、前記基板の凸形状と前記フレーム部材の凸形状とが対向する面を接合面とすることと、のいずれかで接着される
ことを特徴とする請求項1または2に記載のアクチュエータ。
【請求項6】
請求項1または2に記載のアクチュエータと、
液滴を吐出するノズルと、を備え、
前記アクチュエータは、圧力を発生させる圧力室をさらに有する
ことを特徴とする液滴吐出ヘッド。
【請求項7】
請求項6に記載の液滴吐出ヘッドを備えるユニット。
【請求項8】
請求項7に記載のユニットを備える液滴吐出装置。
【請求項9】
請求項1または2に記載のアクチュエータを備える超音波診断装置。
発明の詳細な説明
【技術分野】
【0001】
本発明は、アクチュエータ、液滴吐出ヘッド、ユニット、液滴吐出装置及び超音波診断装置に関する。
続きを表示(約 2,300 文字)
【背景技術】
【0002】
薄膜圧電体を用いて液滴吐出ヘッド等のアクチュエータとして使用する技術がある。このようなアクチュエータを備える液滴吐出ヘッドでは、アクチュエータそのものの構造的な反りや、アクチュエータと別部品との接着時に、熱膨張係数差や接着剤の収縮応力の影響による反りに起因する応力によって、圧力を発生させる振動板の剛性が変わり吐出特性がバラついてしまうという問題があった。
これまで、補強部材を用いたり、膜応力の制御が提案されている。例えば、特許文献1には、保護基板と圧電アクチュエータとの間に接着剤を十分に充填して空間が生じるのを抑制し、圧電体層の破壊を抑制することができる圧電デバイス等が開示されている。
しかし、補強材とアクチュエータチップの熱膨張係数差による応力の影響や組み立て時の外部応力による応力影響は回避できていない。
【発明の概要】
【発明が解決しようとする課題】
【0003】
本発明は、振動板及び振動板を振動させる機能を有する基板を、別部材と接合させたときに、基板の反り状態を制御することを目的とする。
【課題を解決するための手段】
【0004】
上述した課題を解決するために、本発明のアクチュエータは、
振動板と、駆動力を発生させる圧電体と、前記圧電体に前記駆動力を生じさせる二つの電極と、を有する基板と、
前記基板と接着し、前記基板を保持するフレーム部材と、を備え、
前記基板と前記フレーム部材とを接着させる接着面において、前記基板と前記フレーム部材との少なくとも一方に、前記基板と前記フレーム部材との間の距離を規定する凸形状を設け、
前記凸形状は、前記フレーム部材の外周に向かうにつれ、前記距離が異なるものとする。
【発明の効果】
【0005】
本発明によれば、振動板及び振動板を振動させる機能を有する基板を、別部材と接合させたときに、基板の反り状態を制御することができる。
【図面の簡単な説明】
【0006】
液滴吐出ヘッドの構成例を説明する模式図である。
液滴吐出ヘッドの他の構成例を説明する模式図である。
アクチュエータ基板に加圧部等を配置した例を説明する図である。
比較例のアクチュエータの振動発生基板とフレーム部材とを接合したときの状態例の模式図である。
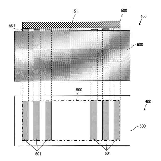
本発明の実施形態のアクチュエータの振動発生基板とフレーム部材とを接合したときの状態例の模式図である。
図5とは異なる振動発生基板の反り方向の一例を示す図であり、(A)に比較例、(B)に実施形態を示す。
フレーム部材に設ける凸形状の他の例を説明する図である。
フレーム部材に設けるテーパ形状またはラウンド形状の一例を説明する図であり、(A)にテーパを設けた例を示し、(B)にラウンドを設けた例を示す。
本実施形態の液滴吐出ヘッドを搭載したインクジェット記録装置の構成例を説明する図である。
本発明の実施形態に係る液体を吐出する装置としての電極の製造装置の一例を示す模式図である。
実施形態に係るアクチュエータを超音波診断装置に適用した一例を示す概略説明図である。
超音波探触子の構成の一例を示す概略構成図である。
アクチュエータの一例を示す断面図である。
【発明を実施するための形態】
【0007】
以下、添付の図面に基づき、本発明の実施の形態について説明する。なお、本発明の実施の形態を説明するための各図面において、同一の機能もしくは形状を有する部材や構成部品等の構成要素については、判別が可能な限り同一符号を付すことにより一度説明した後ではその説明を省略する。
【0008】
本発明は、振動板及び振動板を振動させる機能を有する基板(以降「基板」または「振動発生基板」という)と、前述の基板を保持する別部材とを備えるアクチュエータにおいて、基板と別部材とが接合する接合面に、凸形状を形成することにより、接合後の基板の反りを抑制できることが特徴になっている。凸形状は、基板と別部材との間の距離を規定する規定部(規定形状)として働く。別部材は、例えば、フレーム部材であり、以降適宜「フレーム部材」ともいう。
【0009】
本発明の実施形態に係るアクチュエータは、基板に対する応力を面内で補正するために、基板そのもの、または、基板と接着するフレーム部材の表面に対し、凸形状を形成する。形成後の状態で基板とフレーム部材とを接着する。このようにすることで、部材間の熱膨張係数差による応力の影響を機械的に補正することができため、基板にかかる応力を面内方向に制御することが可能になる。例えば、本発明の実施形態に係るアクチュエータを備える液滴吐出ヘッドは、吐出特性のバラつきを制御することができる。
【0010】
また、基板の反りは、アクチュエータの長手方向または短手方向それぞれで一つの凸または凹の状態となるため、それを補正するために長手方向または短手方向それぞれで基板/フレーム部材の中心から端部に向かって、基板とフレーム部材との間の距離(基板の接合面とフレーム部材の接合面との間の距離)が段々と小さくなる(凸形状の高さが小さくなる)、または逆に段々と大きくなる(凸形状の高さが大きくなる)ような構成をとるとよい。
以下の図面を用いて詳細に解説する。
(【0011】以降は省略されています)
この特許をJ-PlatPat(特許庁公式サイト)で参照する
関連特許
株式会社リコー
移動体
14日前
株式会社リコー
画像形成装置
今日
株式会社リコー
画像形成システム
19日前
株式会社リコー
機器及び異常判定方法
今日
株式会社リコー
定着装置、及び画像形成装置
今日
株式会社リコー
印刷装置および印刷システム
19日前
株式会社リコー
液体吐出装置及び液体吐出方法
19日前
株式会社リコー
表示装置、切替方法、プログラム
5日前
株式会社リコー
媒体処理装置及び画像形成システム
19日前
株式会社リコー
シート給紙装置、および画像形成装置
19日前
株式会社リコー
シート給送装置及び画像形成システム
1日前
株式会社リコー
光源装置、画像投影装置および調整方法
5日前
株式会社リコー
ノード、データ共有方法、及びプログラム
12日前
株式会社リコー
通信装置、状態制御方法、及びプログラム
1日前
株式会社リコー
画像形成装置、及び、プロセスカートリッジ
5日前
株式会社リコー
画像形成装置、情報処理方法およびプログラム
19日前
株式会社リコー
画像形成装置、画像形成方法、およびプログラム
19日前
株式会社リコー
画像処理装置、画像処理方法、およびプログラム
19日前
株式会社リコー
表示装置、表示方法、プログラム、表示システム
13日前
株式会社リコー
対話装置、対話システム、対話方法及びプログラム
12日前
株式会社リコー
液滴吐出ヘッド、ヘッドユニット及び液滴吐出装置
19日前
株式会社リコー
液体吐出ヘッド、ヘッドモジュール、液体吐出装置
19日前
株式会社リコー
液体吐出ヘッド、ヘッドモジュール及び液体吐出装置
19日前
株式会社リコー
情報処理装置、情報処理システムおよび情報処理方法
12日前
株式会社リコー
電気機器、画像形成装置、制御方法、及びプログラム
8日前
株式会社リコー
情報処理システム、情報処理装置および情報処理方法
12日前
株式会社リコー
情報処理システム、情報処理方法、および情報処理装置
19日前
株式会社リコー
液体吐出ヘッド、液体吐出ユニット及び液体を吐出する装置
19日前
株式会社リコー
液体吐出ヘッド、液体吐出ユニット及び液体を吐出する装置
19日前
株式会社リコー
情報処理装置、情報処理システム、情報処理方法、プログラム
19日前
株式会社リコー
検索システム、プログラム、検索方法、および顧客選定システム
19日前
株式会社リコー
障害物検出システム、移動体、プログラムおよび障害物検出方法
19日前
株式会社リコー
情報処理装置、情報処理システム、情報処理方法及びプログラム
14日前
株式会社リコー
液体吐出装置、画像形成装置、液体吐出方法、およびプログラム
19日前
株式会社リコー
情報処理装置、情報処理システム、情報処理方法及びプログラム
12日前
株式会社リコー
液体吐出ヘッド、液体吐出装置、および液体吐出ヘッドの製造方法
19日前
続きを見る
他の特許を見る