TOP
|
特許
|
意匠
|
商標
特許ウォッチ
Twitter
他の特許を見る
公開番号
2025146221
公報種別
公開特許公報(A)
公開日
2025-10-03
出願番号
2024046888
出願日
2024-03-22
発明の名称
液体吐出ヘッド、液体吐出ユニット及び液体を吐出する装置
出願人
株式会社リコー
代理人
個人
主分類
B41J
2/145 20060101AFI20250926BHJP(印刷;線画機;タイプライター;スタンプ)
要約
【課題】制御機構を複雑化させることなく液体の着弾位置ずれを抑制でき、良好な画像を形成できる液体吐出ヘッドを提供することを目的とする。
【解決手段】媒体に対して液体を吐出するノズルが配列したノズル列を複数有し、前記媒体の搬送方向の上流側におけるノズル列のノズル密度は、前記媒体の搬送方向の最下流のノズル列のノズル密度よりも小さいことを特徴とする液体吐出ヘッド。
【選択図】図1
特許請求の範囲
【請求項1】
媒体に対して液体を吐出するノズルが配列したノズル列を複数有し、
前記媒体の搬送方向の上流側におけるノズル列のノズル密度は、前記媒体の搬送方向の最下流のノズル列のノズル密度よりも小さい
ことを特徴とする液体吐出ヘッド。
続きを表示(約 1,200 文字)
【請求項2】
前記媒体の搬送方向の上流側におけるノズル列が2列以上であり、
前記媒体の搬送方向の上流側におけるノズル列により形成された印字結果におけるドット密度は、前記媒体の搬送方向の最下流のノズル列により形成された印字結果におけるドット密度と同じである
ことを特徴とする請求項1に記載の液体吐出ヘッド。
ただし、前記媒体の搬送方向の上流側におけるノズル列により形成された印字結果におけるドット密度は、前記媒体の搬送方向の上流側におけるノズル列により形成されたドットを合算して求められる。
【請求項3】
前記媒体の搬送方向の上流側におけるノズル列は、ノズル配列方向のノズル間隔が一定である
ことを特徴とする請求項1に記載の液体吐出ヘッド。
【請求項4】
前記媒体の搬送方向の上流側におけるノズル列は、全てのノズル列同士でノズル密度が等しい
ことを特徴とする請求項1に記載の液体吐出ヘッド。
【請求項5】
前記媒体の搬送方向の上流側におけるノズル列において、前記媒体の搬送方向の最上流のノズル列のノズル密度が、他のノズル列のノズル密度に比べて最も小さい
ことを特徴とする請求項1に記載の液体吐出ヘッド。
【請求項6】
前記媒体の搬送方向の上流側におけるノズル列において、下流側のノズル列のノズル密度は、1つ上流側のノズル列のノズル密度以上である
ことを特徴とする請求項5に記載の液体吐出ヘッド。
【請求項7】
前記媒体の搬送方向の上流側におけるノズル列において、ノズル配列方向のノズル間隔が一定にならないノズル列が少なくとも一つあり、かつ、前記媒体の搬送方向の最上流のノズル列のノズル密度が、他のノズル列のノズル密度に比べて最も小さい
ことを特徴とする請求項1に記載の液体吐出ヘッド。
【請求項8】
前記媒体の搬送方向の上流側におけるノズル列において、下流側のノズル列のノズル密度は、1つ上流側のノズル列のノズル密度以上である
ことを特徴とする請求項7に記載の液体吐出ヘッド。
【請求項9】
請求項1ないし8のいずれかに記載の液体吐出ヘッドを備えている
ことを特徴とする液体吐出ユニット。
【請求項10】
前記液体吐出ヘッドに供給する液体を貯留するヘッドタンク、前記液体吐出ヘッドを搭載するキャリッジ、前記液体吐出ヘッドに液体を供給する供給機構、前記液体吐出ヘッドの維持回復を行う維持回復機構、前記液体吐出ヘッドを主走査方向に移動させる主走査移動機構の少なくともいずれか一つと前記液体吐出ヘッドとを一体化した
ことを特徴とする請求項9に記載の液体吐出ユニット。
(【請求項11】以降は省略されています)
発明の詳細な説明
【技術分野】
【0001】
本発明は、液体吐出ヘッド、液体吐出ユニット及び液体を吐出する装置に関する。
続きを表示(約 1,700 文字)
【背景技術】
【0002】
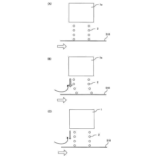
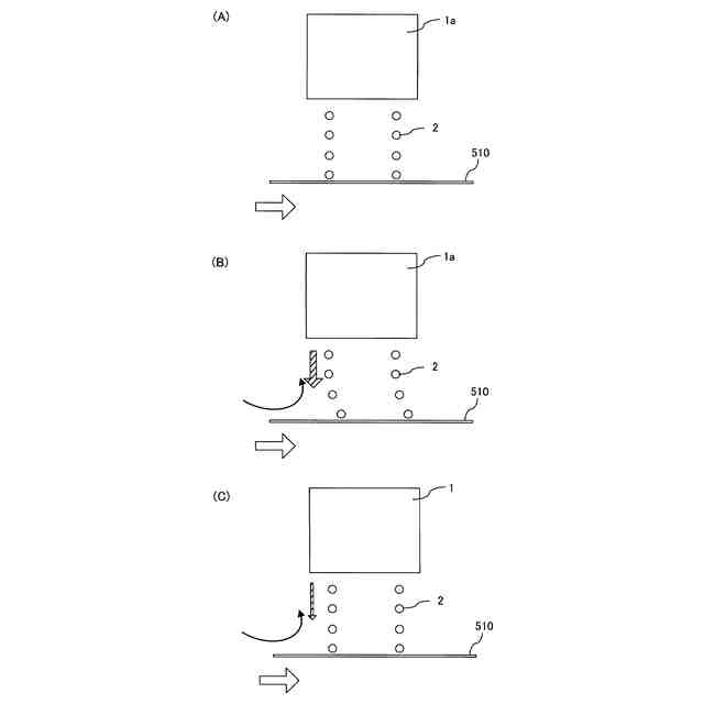
液体吐出ヘッドでは、ノズルから液体が吐出され、媒体に液体が着弾してドットが形成される。従来より、吐出された液体が空気の流れに影響されて狙いの位置からずれた位置に着弾してしまうという問題がある。従来技術では、液体の着弾位置のずれを防止するための検討がなされている。
【0003】
特許文献1では、メディア搬送気流とメディア搬送上流側のインク吐出密度(自己気流度)に基づいて、下流側のインク吐出量を制御することが開示されている。特許文献1によれば、下流側の着弾ずれを抑制し、良好な画像を形成することができるとしている。
【発明の概要】
【発明が解決しようとする課題】
【0004】
しかしながら、特許文献1では、上流側の吐出量に基づいて下流側のインク吐出量を決めるシステムを実装する必要があるため、液体吐出ヘッドや装置の制御機構が複雑化するという問題があった。
【0005】
そこで本発明は、制御機構を複雑化させることなく液体の着弾位置ずれを抑制でき、良好な画像を形成できる液体吐出ヘッドを提供することを目的とする。
【課題を解決するための手段】
【0006】
上記課題を解決するために、本発明の液体吐出ヘッドは、媒体に対して液体を吐出するノズルが配列したノズル列を複数有し、前記媒体の搬送方向の上流側におけるノズル列のノズル密度は、前記媒体の搬送方向の最下流のノズル列のノズル密度よりも小さいことを特徴とする。
【発明の効果】
【0007】
本発明によれば、制御機構を複雑化させることなく液体の着弾位置ずれを抑制でき、良好な画像を形成できる液体吐出ヘッドを提供することができる。
【図面の簡単な説明】
【0008】
液体の着弾の一例を説明するための概略図(A)~(C)である。
比較例1のノズル配置を説明するための平面概略図である。
実施例1のノズル配置を説明するための平面概略図である。
実施例2のノズル配置を説明するための平面概略図である。
実施例3のノズル配置を説明するための平面概略図である。
実施例4のノズル配置を説明するための平面概略図である。
実施例5のノズル配置を説明するための平面概略図である。
実施例6のノズル配置を説明するための平面概略図である。
液体を吐出する装置の一例における概略図である。
液体を吐出する装置の他の例における概略図である。
液体吐出ユニットの一例における概略図である。
液体吐出ユニットの他の例における概略図である。
ヘッドモジュールの一例の分解斜視説明図である。
同じく図13の更なる分解斜視説明図である。
同ヘッドモジュールのノズル面側から見た分解斜視説明図である。
同ヘッドモジュールの1つのヘッド分のヘッド短手方向に沿う断面説明図である。
液体を吐出する装置の他の例の概略説明図である。
ヘッドユニットの他の例の平面説明図である。
ヘッドユニットの他の例の平面説明図である。
液体を吐出する装置の他の例の概略説明図である。
【発明を実施するための形態】
【0009】
以下、本発明に係る液体吐出ヘッド、液体吐出ユニット及び液体を吐出する装置について図面を参照しながら説明する。なお、本発明は以下に示す実施形態に限定されるものではなく、他の実施形態、追加、修正、削除など、当業者が想到することができる範囲内で変更することができ、いずれの態様においても本発明の作用・効果を奏する限り、本発明の範囲に含まれるものである。
【0010】
本発明の液体吐出ヘッドは、媒体に対して液体を吐出するノズルが配列したノズル列を複数有し、前記媒体の搬送方向の上流側におけるノズル列のノズル密度は、前記媒体の搬送方向の最下流のノズル列のノズル密度よりも小さいことを特徴とする。
(【0011】以降は省略されています)
この特許をJ-PlatPat(特許庁公式サイト)で参照する
関連特許
株式会社リコー
移動体
5日前
株式会社リコー
画像形成装置
14日前
株式会社リコー
画像形成装置
14日前
株式会社リコー
感熱記録媒体
11日前
株式会社リコー
画像形成装置
10日前
株式会社リコー
画像形成装置
14日前
株式会社リコー
印刷システム
14日前
株式会社リコー
生体情報測定装置
11日前
株式会社リコー
画像形成システム
10日前
株式会社リコー
液体を吐出する装置
11日前
株式会社リコー
電極及びその製造方法
14日前
株式会社リコー
電極及びその製造方法
12日前
株式会社リコー
多孔質構造体の製造方法
14日前
株式会社リコー
塗装システム、及び塗装方法
14日前
株式会社リコー
パルスバルブおよび塗布装置
14日前
株式会社リコー
印刷装置および印刷システム
10日前
株式会社リコー
液体塗布装置および洗浄方法
14日前
株式会社リコー
ファイル分析・保存システム
14日前
株式会社リコー
液体吐出装置及び液体吐出方法
10日前
株式会社リコー
定着装置、及び、画像形成装置
14日前
株式会社リコー
定着装置、及び、画像形成装置
14日前
株式会社リコー
ベルト装置、及び、画像形成装置
10日前
株式会社リコー
システム、方法およびプログラム
10日前
株式会社リコー
パーソナライズビデオメカニズム
12日前
株式会社リコー
液体吐出装置、及び液体吐出方法
14日前
株式会社リコー
レーザ照射装置、レーザ照射方法
14日前
株式会社リコー
媒体処理装置及び画像形成システム
10日前
株式会社リコー
媒体処理装置及び画像形成システム
10日前
株式会社リコー
媒体処理装置及び画像形成システム
10日前
株式会社リコー
液体吐出ヘッドおよび液体吐出装置
11日前
株式会社リコー
mRNA発現量の免疫学的評価方法
11日前
株式会社リコー
媒体処理装置及び画像形成システム
11日前
株式会社リコー
媒体処理装置及び画像形成システム
12日前
株式会社リコー
媒体処理装置及び画像形成システム
10日前
株式会社リコー
処理剤液塗布装置および画像形成装置
10日前
株式会社リコー
シート給紙装置、および画像形成装置
10日前
続きを見る
他の特許を見る