TOP
|
特許
|
意匠
|
商標
特許ウォッチ
Twitter
他の特許を見る
10個以上の画像は省略されています。
公開番号
2025133164
公報種別
公開特許公報(A)
公開日
2025-09-11
出願番号
2024030933
出願日
2024-03-01
発明の名称
マルチコアファイバ増幅器及び光増幅方法
出願人
日本電気株式会社
代理人
個人
,
個人
主分類
H01S
3/10 20060101AFI20250904BHJP(基本的電気素子)
要約
【課題】単一波長の励起光源を用いて複数の波長帯の光を増幅するマルチコア光増幅器の効率を向上させる。
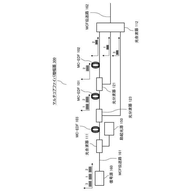
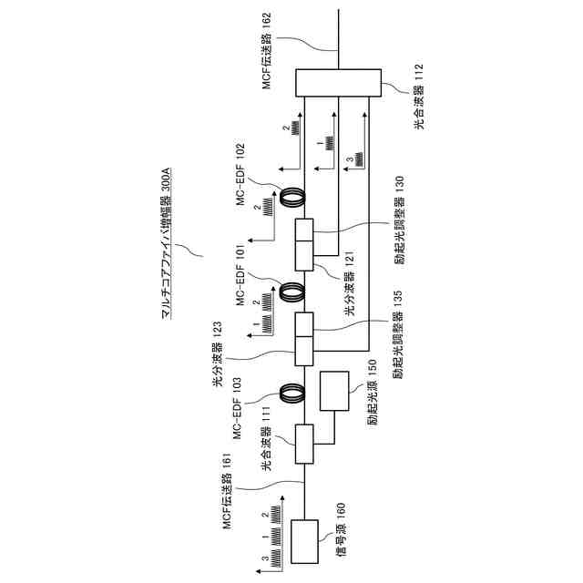
【解決手段】マルチコアファイバ増幅器は、信号光の増幅に使用される単一波長の励起光を、第1の波長帯における信号光である第1の信号光及び第2の波長帯における信号光である第2の信号光と結合して出力する第1の光合波器と、希土類元素が添加されたマルチコアファイバを含み、第1の光合波器からの出力光を入力し、少なくとも第1の信号光を増幅して出力する第1の増幅器と、第1の増幅器からの出力光を、第1の信号光と、第2の信号光及び励起光と、に分波して出力する第1の光分波器と、希土類元素が添加されたマルチコアファイバを含み、第1の光分波器から出力された第2の信号光及び励起光を入力し、入力された第2の信号光を増幅して出力する第2の増幅器と、第1の光分波器から出力された第1の信号光と、第2の増幅器から出力された第2の信号光と、を合波する第2の光合波器と、を備える。
【選択図】 図1
特許請求の範囲
【請求項1】
信号光の増幅に使用される単一波長の励起光を、第1の波長帯における前記信号光である第1の信号光及び第2の波長帯における前記信号光である第2の信号光と結合して出力する第1の光合波手段と、
希土類元素が添加されたマルチコアファイバを含み、前記第1の光合波手段からの出力光を入力し、少なくとも前記第1の信号光を増幅して出力する第1の増幅手段と、
前記第1の増幅手段からの出力光を、前記第1の信号光と、前記第2の信号光及び前記励起光と、に分波して出力する第1の光分波手段と、
希土類元素が添加されたマルチコアファイバを含み、前記第1の光分波手段から出力された前記第2の信号光及び前記励起光を入力し、入力された前記第2の信号光を増幅して出力する第2の増幅手段と、
前記第1の光分波手段から出力された前記第1の信号光と、前記第2の増幅手段から出力された前記第2の信号光と、を合波する第2の光合波手段と、
を備えるマルチコアファイバ増幅器。
続きを表示(約 1,400 文字)
【請求項2】
前記第1の増幅手段における前記励起光の吸収率は、前記第2の増幅手段における前記励起光の吸収率以下である、請求項1に記載されたマルチコアファイバ増幅器。
【請求項3】
前記第1の波長帯はC帯であり、前記第2の波長帯はL帯である、請求項1又は2に記載されたマルチコアファイバ増幅器。
【請求項4】
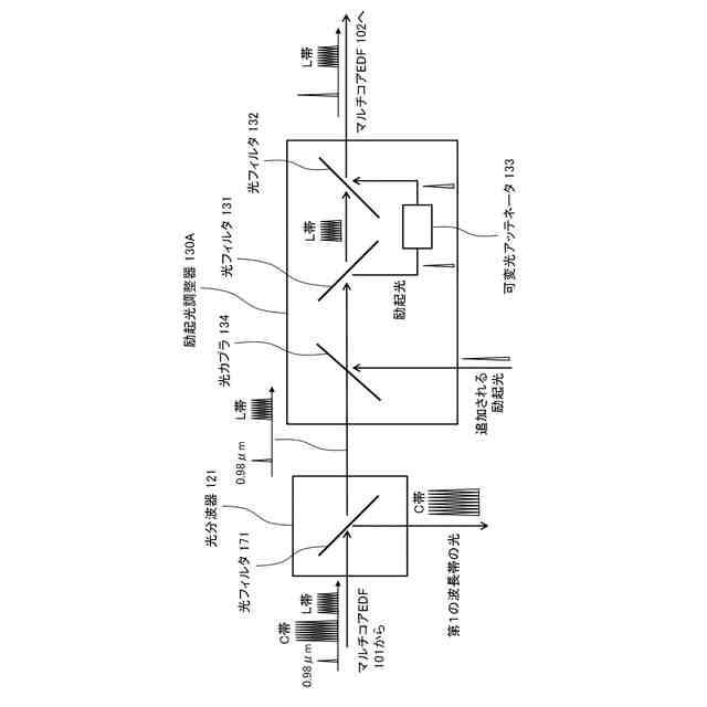
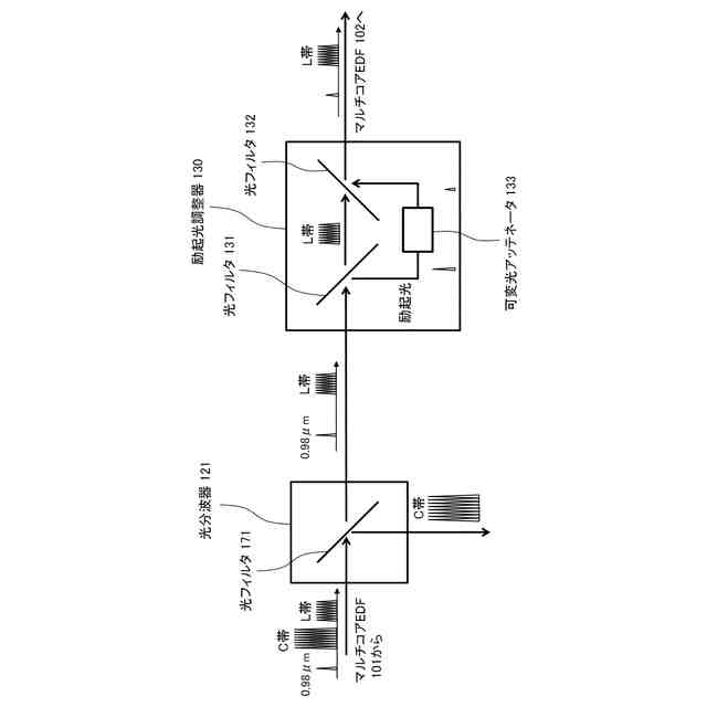
前記第2の増幅手段に入力される前記励起光の強度を調整する励起光調整手段を備える、請求項1又は2に記載されたマルチコアファイバ増幅器。
【請求項5】
前記励起光調整手段は前記励起光のパワーを減衰させる光減衰器を備える、請求項4に記載されたマルチコアファイバ増幅器。
【請求項6】
前記励起光調整手段は前記第2の増幅手段に前記励起光を入力させる第3の光合波手段を備える、請求項4に記載されたマルチコアファイバ増幅器。
【請求項7】
前記励起光を生成し、前記励起光を前記第1の光合波手段に入力する励起光生成手段を備える、請求項1又は2に記載されたマルチコアファイバ増幅器。
【請求項8】
前記第2の増幅手段から出力された前記第2の信号光と前記励起光とを分波し、分波された前記第2の信号光を前記第2の光合波手段に入力する第2の光分波手段と、
前記第2の光分波手段において分波された前記励起光と、前記励起光生成手段から出力された前記励起光とを結合する励起光結合手段と、
を備える請求項7に記載されたマルチコアファイバ増幅器。
【請求項9】
希土類元素が添加されたマルチコアファイバを含み、第3の波長帯における前記信号光である第3の信号光を増幅する第3の増幅手段と、
前記第3の増幅手段から出力される光を、前記第1の信号光、前記第2の信号光、及び前記励起光を含む光と、前記第3の信号光と、に分波する第3の光分波手段と、
を備え、
前記第3の増幅手段及び前記第3の光分波手段は、前記第1の光合波手段と前記第1の増幅手段との間に配置され、
前記第1の光合波手段は、前記励起光を、前記第1の信号光、前記第2の信号光及び前記第3の信号光と結合して出力する、
請求項1又は2に記載されたマルチコアファイバ増幅器。
【請求項10】
信号光の増幅に使用される単一波長の励起光を、第1の光合波手段によって、第1の波長帯における前記信号光である第1の信号光及び第2の波長帯における前記信号光である第2の信号光と結合して出力し、
希土類元素が添加されたマルチコアファイバを含む第1の増幅手段に、前記第1の光合波手段からの出力光を入力し、少なくとも前記第1の信号光を増幅して出力し、
前記第1の増幅手段からの出力光を、第1の光分波手段によって、前記第1の信号光と、前記第2の信号光及び前記励起光と、に分波して出力し、
希土類元素が添加されたマルチコアファイバを含む第2の増幅手段に、前記第1の光分波手段から出力された前記第2の信号光及び前記励起光を入力し、入力された前記第2の信号光を増幅して出力し、
前記第1の光分波手段から出力された前記第1の信号光と、前記第2の増幅手段から出力された前記第2の信号光とを、第2の光合波手段によって合波する、
光増幅方法。
発明の詳細な説明
【技術分野】
【0001】
本開示は、マルチコアファイバ増幅器及び光増幅方法に関する。
続きを表示(約 2,500 文字)
【背景技術】
【0002】
マルチコアファイバ(multi core fiber, MCF)を用いた、空間光多重伝送方式の実用化が進められている。MCFは1本の光ファイバに複数のコアを備える。このため、シングルコアファイバ(single core fiber, SCF)に代えてMCFを用いることによって、光伝送システムの伝送容量の拡大が可能となる。また、MCFを励起ファイバとして用いたMCF増幅器(マルチコアファイバ増幅器)も知られている。コアにエルビウム(Er)が添加されたMCFは、MC-EDF(multicore erbium-doped fiber)とも呼ばれる。
【0003】
MCFによって伝送される信号光には、通常、波長多重信号光が用いられる。波長多重信号光の帯域として、S帯(S-Band)、C帯(C-Band)及びL帯(L-Band)が知られている。S帯の帯域はおおむね1460-1530nmであり、C帯の帯域はおおむね1530-1565nmであり、L帯の帯域はおおむね1565-1625nmである。波長多重信号光はWDM(wavelength division multiplexing)光とも呼ばれる。
【0004】
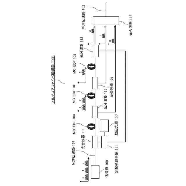
本開示に関連して、特許文献1には、MC-EDFが並列に配置されたマルチコアEDFA(MC-EDFA)が記載されている。EDFAはEr-doped fiber amplifierの略である。図10は、特許文献1に記載されたマルチコアファイバ増幅器900の構成を示す図である。マルチコアファイバ増幅器900は、マルチコアEDF901及び902を備え、信号源910から出力されたC帯の信号光とL帯の信号光とを波長帯ごとに増幅する。光分波器911は、MCF伝送路から入力された信号光(C+L)を、C帯の信号光(C)とL帯の信号光(L)とに分波する。C帯の信号光は、光合波器921によって励起光源950から出力された励起光(p)と合波され、マルチコアEDF901において増幅される。光分波器912は、マルチコアEDF901から出力されたC帯の信号光と励起光(残留励起光)を分波する。分波された残留励起光は、光合波器923においてL帯の信号光と合波され、マルチコアEDF902に入力される。マルチコアEDF902は、残留励起光によってL帯の信号光を増幅する。残留励起光はマルチコアEDF902において吸収される。光合波器922は、増幅されたC帯の信号光とL帯の信号光とを合波して、MCF伝送路932へ出力する。
【先行技術文献】
【特許文献】
【0005】
国際公開第2022/181294号
【発明の概要】
【発明が解決しようとする課題】
【0006】
図10に示したマルチコアファイバ増幅器900は、マルチコアEDF901から出力される残留励起光を用いてマルチコアEDF902を励起する。このため、マルチコアファイバ増幅器900は、1台の励起光源を用いて、並列に配置された2台のMC-EDF901及び902を励起できる。
【0007】
しかし、マルチコアファイバ増幅器900は、残留励起光をマルチコアEDF902へ供給するためにマルチコアEDF901の出力側及びマルチコアEDF902の入力側に、残留励起光を分波及び合波する光分波器912及び光合波器923が必須となる。その結果、これらを通過する励起光及び信号光の損失が増加し、マルチコアファイバ増幅器900の効率(増幅効率あるいは電力効率)が低下するという課題があった。
【0008】
(発明の目的)
本開示は、単一波長の励起光源を用いて複数の波長帯の光を増幅するマルチコア光増幅器の効率を向上させるための技術を提供する。
【課題を解決するための手段】
【0009】
本開示に係るマルチコアファイバ増幅器は、信号光の増幅に使用される単一波長の励起光を、第1の波長帯における前記信号光である第1の信号光及び第2の波長帯における前記信号光である第2の信号光と結合して出力する第1の光合波手段と、
希土類元素が添加されたマルチコアファイバを含み、前記第1の光合波手段からの出力光を入力し、少なくとも前記第1の信号光を増幅して出力する第1の増幅手段と、
前記第1の増幅手段からの出力光を、前記第1の信号光と、前記第2の信号光及び前記励起光と、に分波して出力する第1の光分波手段と、
希土類元素が添加されたマルチコアファイバを含み、前記第1の光分波手段から出力された前記第2の信号光及び前記励起光を入力し、入力された前記第2の信号光を増幅して出力する第2の増幅手段と、
前記第1の光分波手段から出力された前記第1の信号光と、前記第2の増幅手段から出力された前記第2の信号光と、を合波する第2の光合波手段と、
を備える。
【0010】
本開示に係る光増幅方法は、信号光の増幅に使用される単一波長の励起光を、第1の光合波手段によって、第1の波長帯における前記信号光である第1の信号光及び第2の波長帯における前記信号光である第2の信号光と結合して出力し、
希土類元素が添加されたマルチコアファイバを含む第1の増幅手段に、前記第1の光合波手段からの出力光を入力し、少なくとも前記第1の信号光を増幅して出力し、
前記第1の増幅手段からの出力光を、第1の光分波手段によって、前記第1の信号光と、前記第2の信号光及び前記励起光と、に分波して出力し、
希土類元素が添加されたマルチコアファイバを含む第2の増幅手段に、前記第1の光分波手段から出力された前記第2の信号光及び前記励起光を入力し、入力された前記第2の信号光を増幅して出力し、
前記第1の光分波手段から出力された前記第1の信号光と、前記第2の増幅手段から出力された前記第2の信号光とを、第2の光合波手段によって合波する、
手順を含む。
【発明の効果】
(【0011】以降は省略されています)
この特許をJ-PlatPat(特許庁公式サイト)で参照する
関連特許
日本電気株式会社
分析装置
2日前
日本電気株式会社
学習装置
26日前
日本電気株式会社
学習装置
1か月前
日本電気株式会社
原子発振器
28日前
日本電気株式会社
超伝導量子回路
22日前
日本電気株式会社
マルチバンドバラン
20日前
日本電気株式会社
検知装置および検知方法
2日前
日本電気株式会社
量子回路装置と制御方法
2日前
日本電気株式会社
量子回路装置と制御方法
2日前
日本電気株式会社
端末装置および無線通信方法
13日前
日本電気株式会社
機器冷却装置及びその冷却方法
14日前
日本電気株式会社
共振器及びそれを備えた導波回路
今日
日本電気株式会社
処理装置、方法、及びプログラム
26日前
日本電気株式会社
TS合成装置および放送システム
29日前
日本電気株式会社
プログラム、算出装置、及び方法
14日前
日本電気株式会社
システム及びマイグレーション方法
2日前
日本電気株式会社
リング共振器、およびその製造方法
27日前
日本電気株式会社
リング共振器、およびその製造方法
28日前
日本電気株式会社
ピーク抑圧装置及びピーク抑圧方法
12日前
日本電気株式会社
推定装置、推定方法及びプログラム
5日前
日本電気株式会社
推定装置、推定方法及びプログラム
5日前
日本電気株式会社
画像管理システムおよび画像管理方法
今日
日本電気株式会社
処理装置、処理方法、及びプログラム
2日前
日本電気株式会社
判定装置、判定方法、及び、プログラム
22日前
日本電気株式会社
通信システム及びパケット順序補正方法
13日前
日本電気株式会社
予測システム、予測方法及びプログラム
5日前
日本電気株式会社
管理システム、管理方法及びプログラム
12日前
日本電気株式会社
情報処理装置、情報処理方法、プログラム
今日
日本電気株式会社
画像検索装置、画像検索方法及び記憶媒体
23日前
日本電気株式会社
映像処理装置、映像処理方法、プログラム
2日前
日本電気株式会社
情報処理装置、情報処理方法、プログラム
26日前
日本電気株式会社
情報処理装置、情報処理方法、プログラム
26日前
日本電気株式会社
管理装置、管理方法および管理プログラム
今日
日本電気株式会社
画像選択装置、画像選択方法及び記憶媒体
今日
日本電気株式会社
処理システム、処理方法およびプログラム
5日前
日本電気株式会社
マルチコアファイバ増幅器及び光増幅方法
20日前
続きを見る
他の特許を見る