TOP
|
特許
|
意匠
|
商標
特許ウォッチ
Twitter
他の特許を見る
10個以上の画像は省略されています。
公開番号
2025147014
公報種別
公開特許公報(A)
公開日
2025-10-03
出願番号
2025129565,2024517793
出願日
2025-08-01,2022-04-28
発明の名称
半導体装置
出願人
Astemo株式会社
代理人
ポレール弁理士法人
主分類
G01R
19/00 20060101AFI20250926BHJP(測定;試験)
要約
【課題】PCB基板に実装されて電源電圧を検出する電圧センスICにおいて、PCB基板の低面積化及び搭載部品の品種削減が可能な電圧センスICを提供する。
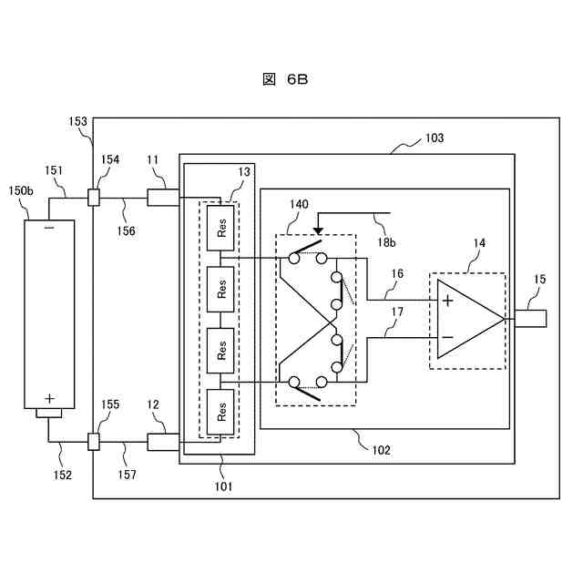
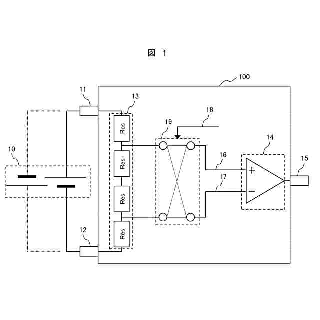
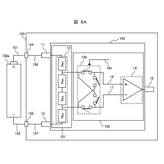
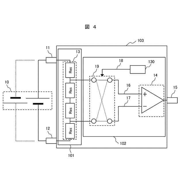
【解決手段】モニタ対象となる電圧の一方の電位に接続される第1の入力端子と、前記モニタ対象となる電圧の他方の電位に接続される第2の入力端子と、前記第1の入力端子および前記第2の入力端子間の電圧を分圧する分圧抵抗と、前記分圧抵抗に接続される極性切替え部と、前記極性切替え部に接続されるアンプ回路と、を備え、前記極性切替え部は、極性設定情報に基づいて、前記分圧抵抗と前記アンプ回路との間に設けられた前記分圧抵抗から前記アンプ回路への第1パスおよび第2パスの極性を切り替えることを特徴とする。
【選択図】 図1
特許請求の範囲
【請求項1】
モニタ対象となる電圧の一方の電位に接続される第1の入力端子と、
前記モニタ対象となる電圧の他方の電位に接続される第2の入力端子と、
前記第1の入力端子および前記第2の入力端子間の電圧を分圧する分圧抵抗と、
前記分圧抵抗に接続される極性切替え部と、
前記極性切替え部に接続されるアンプ回路と、を備え、
前記極性切替え部は、極性設定情報に基づいて、前記分圧抵抗と前記アンプ回路との間に設けられた前記分圧抵抗から前記アンプ回路への第1パスおよび第2パスの極性を切り替える半導体装置。
続きを表示(約 890 文字)
【請求項2】
請求項1に記載の半導体装置であって、
前記半導体装置は、第1のチップと、前記第1のチップよりも低電圧で動作する第2のチップとが1つのパッケージに内包されたマルチチップパッケージ(MCP)で構成され、
前記分圧抵抗は、前記第1のチップに配置され、
前記極性切替え部および前記アンプ回路は、前記第2のチップに配置される半導体装置。
【請求項3】
請求項1に記載の半導体装置であって、
前記極性設定情報を入力する極性設定端子を備え、
前記極性設定端子の電圧状態によって前記第1パスおよび前記第2パスの極性を選択可能であり、
前記半導体装置を基板に実装する際に、前記極性設定端子が前記基板上の固定された電位に接続されることで、前記第1パスおよび前記第2パスの極性が選択および固定される半導体装置。
【請求項4】
請求項1に記載の半導体装置であって、
前記極性設定情報を記憶する不揮発メモリを備える半導体装置。
【請求項5】
請求項1に記載の半導体装置であって、
前記極性切替え部は、前記第1パスおよび前記第2パスの極性を電気的に切り替える複数のスイッチを有する半導体装置。
【請求項6】
請求項1に記載の半導体装置であって、
前記第1の入力端子および前記第2の入力端子に入力される2つの電位信号の極性に基づいて前記第1パスおよび前記第2パスの極性を切り替えてPCB基板に実装される半導体装置。
【請求項7】
請求項6に記載の半導体装置であって、
前記半導体装置は、前記PCB基板の表面および裏面のいずれか一方、または両面に実装される半導体装置。
【請求項8】
請求項1に記載の半導体装置であって、
前記半導体装置が同一のPCB基板の同一面に複数実装されており、
少なくとも一部の半導体装置の前記第1パスおよび前記第2パスの極性が、他の半導体装置と異なる半導体装置。
発明の詳細な説明
【技術分野】
【0001】
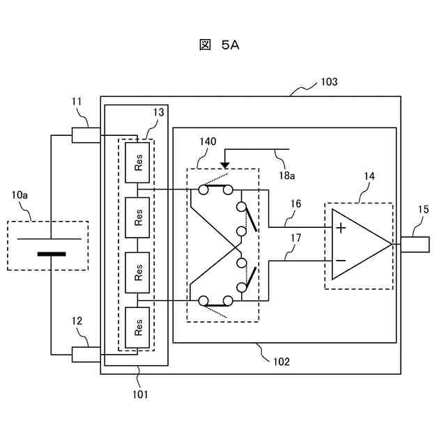
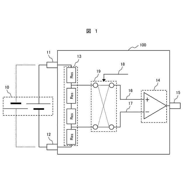
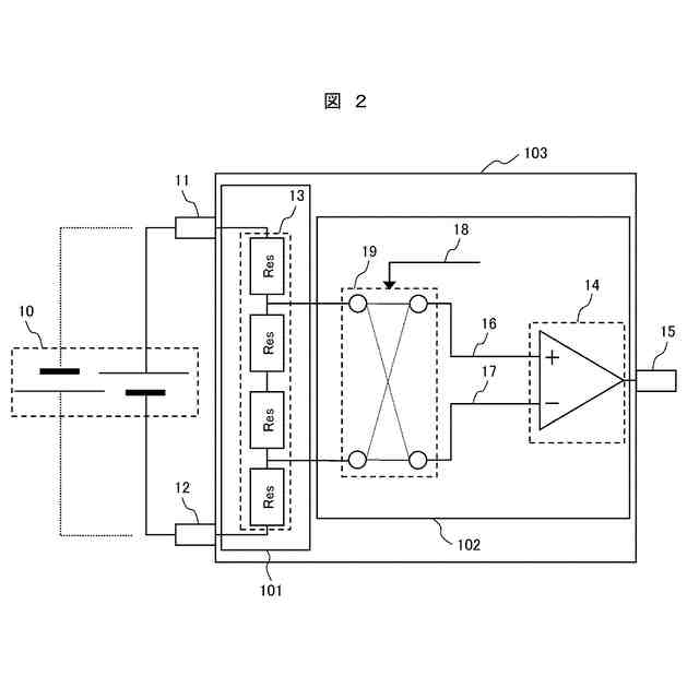
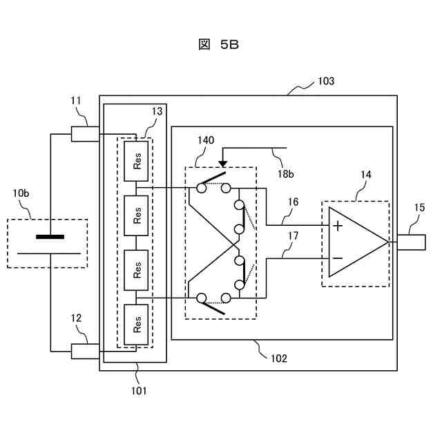
本発明は、半導体装置の構成に係り、特に、プリント基板に実装されて電源電圧を検出する電圧センスICに適用して有効な技術に関する。
続きを表示(約 1,400 文字)
【背景技術】
【0002】
電動車両では、バッテリから供給されるモーター駆動用の高電圧のモニタ機能が必須である。バッテリの電圧をモニタするためには、モニタ対象となる電圧ノードを、電圧モニタ機能を有するエリアまで配線等で引き回して接続する必要がある。
【0003】
本技術分野の背景技術として、例えば、特許文献1のような技術がある。特許文献1には、「複数の電圧検出回路をプリント配線板に実装する際に、プリント配線板上の実装面積の増大を抑制しつつ所定の絶縁性能を確保することが可能な電圧検出装置」が開示されている。
【0004】
特許文献1では、2つの電圧検出回路(第1の電圧検出回路1及び第2の電圧検出回路2)をプリント配線板4に近接配置して実装し、第1の電圧検出回路1の入力端子12と第2の電圧検出回路2の入力端子22とを電気的に接続しており、入力端子12と入力端子22には、いずれも負極の電圧が入力される。(特許文献1の図3及び段落[0016]-[0019])
【先行技術文献】
【特許文献】
【0005】
特開2019-178885号公報
【発明の概要】
【発明が解決しようとする課題】
【0006】
ところで、自動車分野においては、車載各種ユニットの小型・軽量化、使用部品の品種・数量削減が、継続した課題となっている。
【0007】
上述した電圧モニタ機能は、一般に電子部品で構成され、プリント基板(以下、「PCB基板(Printed Circuit Board)」と呼ぶ)に実装されるため、モニタ対象となる電圧ノードはPCB基板上に配線することになるが、PCB基板上での配線の近接ショートを避けるため、モニタ対象となる最大電圧に応じた電圧ノード間の配線間距離を確保する必要がある。そのため、PCB基板上の高電圧配線に起因したPCBパタン設計自由度の低下が、PCB基板の低面積化の疎外要因になっている。
【0008】
また、電圧センスICを2個用いて、異なる2種類の電圧を検出する場合、互いの電圧センスICの電圧入力端子の近接ショートを避けるようにPCBパタンを設計する必要がある。2種類の電圧センスICの電圧入力端子のプラス端子、マイナス端子の並び順が同一の場合、電圧センスIC同士を並べて配置しようとすると、片側の電圧センスICの電圧入力端子と、隣り合う電圧センスICの電圧入力端子は、どちらかがプラス側、どちらかがマイナス側になるので、電圧入力端子の近接ショートを避けるために電圧センスIC同士を近接配置することができず、PCBパタン設計自由度の低下の一因となる。電圧センスIC同士を近接して配置するためには、それぞれの電圧センスICの電圧入力端子のプラス側、マイナス側の並び順が異なる、つまり入力極性の異なる2品種の電圧センスICを用いる必要がある。
【0009】
上記特許文献1では、第1の電圧検出回路1の入力端子12には負極の電圧が入力され、入力端子11には正極の電圧が入力される。一方、第2の電圧検出回路2の入力端子22には負極の電圧が入力され、入力端子21には正極の電圧が入力される。
【0010】
このため、第1の電圧検出回路1と第2の電圧検出回路2とでは、内部の回路構成を変える必要があり、同一の電圧検出回路を用いることができない。
(【0011】以降は省略されています)
この特許をJ-PlatPat(特許庁公式サイト)で参照する
関連特許
個人
計量スプーン
28日前
個人
微小振動検出装置
1か月前
株式会社イシダ
X線検査装置
1か月前
日本精機株式会社
位置検出装置
6日前
日本精機株式会社
位置検出装置
6日前
日本精機株式会社
位置検出装置
6日前
大和製衡株式会社
組合せ秤
11日前
大和製衡株式会社
組合せ秤
11日前
アズビル株式会社
圧力センサ
5日前
株式会社ユーシン
操作検出装置
8日前
アンリツ株式会社
分光器
1か月前
トヨタ自動車株式会社
検査装置
8日前
エイブリック株式会社
磁気センサ回路
5日前
株式会社東芝
センサ
11日前
株式会社東芝
センサ
11日前
ダイハツ工業株式会社
測定用具
1か月前
トヨタ自動車株式会社
表示装置
20日前
アンリツ株式会社
分光器
1か月前
株式会社東芝
センサ
1か月前
TDK株式会社
磁気センサ
1か月前
株式会社ヨコオ
コンタクタ
1か月前
TDK株式会社
磁気センサ
28日前
東レエンジニアリング株式会社
計量装置
8日前
株式会社精工技研
光電圧プローブ
1か月前
個人
粘塑性を用いた有限要素法の定式化
20日前
TDK株式会社
ガスセンサ
4日前
TDK株式会社
ガスセンサ
5日前
株式会社東芝
重量測定装置
4日前
株式会社ナリス化粧品
角層細胞採取用具
18日前
三菱マテリアル株式会社
温度センサ
18日前
株式会社熊谷組
RI計測装置
6日前
中国電力株式会社
異常箇所検出装置
19日前
TDK株式会社
磁気計測装置
19日前
成田空港給油施設株式会社
保持治具
19日前
日本碍子株式会社
ガスセンサ
29日前
株式会社関電工
検相器用治具
26日前
続きを見る
他の特許を見る