TOP
|
特許
|
意匠
|
商標
特許ウォッチ
Twitter
他の特許を見る
公開番号
2025147921
公報種別
公開特許公報(A)
公開日
2025-10-07
出願番号
2024048434
出願日
2024-03-25
発明の名称
センサ素子、ガスセンサ、および素子本体の製造方法
出願人
日本碍子株式会社
代理人
弁理士法人アイテック国際特許事務所
主分類
G01N
27/416 20060101AFI20250930BHJP(測定;試験)
要約
【課題】センサ素子における素子本体の強度を高くする。
【解決手段】センサ素子101は、被測定ガス中の特定ガス濃度を検出するためのものである。センサ素子101は、酸素イオン伝導性の固体電解質を主成分とする固体電解質体103を有する素子本体102、を備える。固体電解質体103は、酸化ケイ素、酸化ナトリウム、酸化鉄の少なくともいずれかである添加剤を含み、添加剤の含有割合が0.004wt%以上である。
【選択図】図1
特許請求の範囲
【請求項1】
被測定ガス中の特定ガス濃度を検出するためのセンサ素子であって、
酸素イオン伝導性の固体電解質を主成分とする固体電解質体を有する素子本体、
を備え、
前記固体電解質体は、酸化ケイ素、酸化ナトリウム、酸化鉄の少なくともいずれかである添加剤を含み、前記添加剤の含有割合が0.004wt%以上である、
センサ素子。
続きを表示(約 920 文字)
【請求項2】
請求項1に記載のセンサ素子であって、
前記固体電解質体は、前記添加剤の含有割合が0.055wt%以下であり、
前記センサ素子は、前記素子本体の内部に設けられ通電により発熱するヒータを更に備える、
センサ素子。
【請求項3】
請求項2に記載のセンサ素子であって、
前記固体電解質体は、前記添加剤の含有割合が0.040wt%以下である、
センサ素子。
【請求項4】
請求項1~3のいずれか1項に記載のセンサ素子であって、
前記素子本体は、前記被測定ガスを導入して流通させる被測定ガス流通部と、前記被測定ガス流通部に設けられた内側電極と、前記素子本体の外面に設けられた外側電極と、を有する、
センサ素子。
【請求項5】
請求項1~3のいずれか1項に記載のセンサ素子であって、
前記固体電解質体は、前記固体電解質を主成分とする複数の固体電解質層を有し、前記複数の固体電解質層のうち少なくとも1つの層が、前記添加剤の含有割合が0.004wt%以上である、
センサ素子。
【請求項6】
請求項1~3のいずれか1項に記載のセンサ素子を備えたガスセンサ。
【請求項7】
酸素イオン伝導性の固体電解質を主成分とする固体電解質体を有する素子本体を備えた被測定ガス中の特定ガス濃度を検出するためのセンサ素子における素子本体の製造方法であって、
前記固体電解質を主成分とするスラリーを準備する第1工程と、
前記スラリーを用いて焼成前固体電解質体を有する焼成前素子本体を形成する第2工程と、
前記焼成前素子本体を焼成して前記素子本体を得る第3工程と、
を含み、
前記固体電解質体は、酸化ケイ素、酸化ナトリウム、酸化鉄の少なくともいずれかである添加剤を含み 、前記添加剤の含有割合が0.004wt%以上であり、
前記スラリーは、少なくとも前記第3工程における焼成後に前記添加剤となる添加剤原料を含んでいる、
素子本体の製造方法。
発明の詳細な説明
【技術分野】
【0001】
本発明は、センサ素子、ガスセンサ、および素子本体の製造方法に関する。
続きを表示(約 1,300 文字)
【背景技術】
【0002】
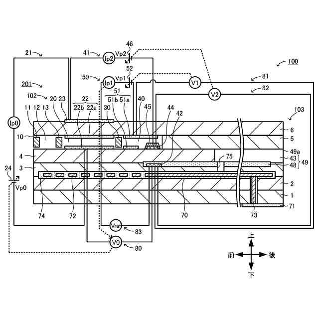
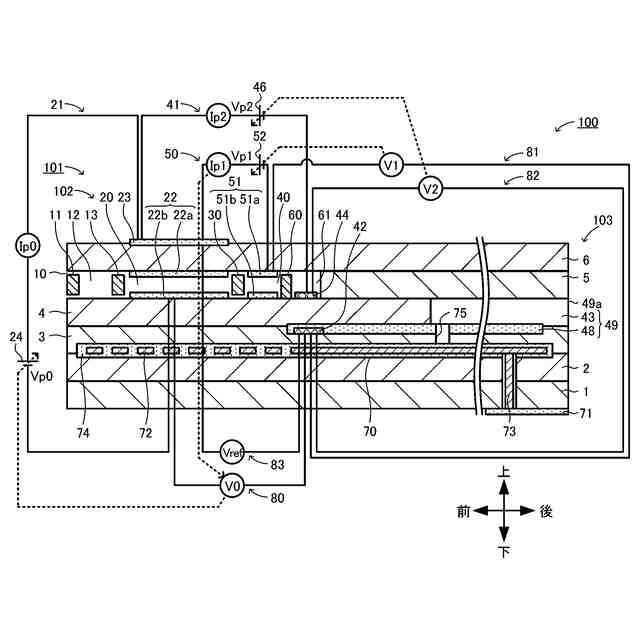
従来、内燃機関の排気ガスなどの被測定ガス中のNOxなどの特定ガスの濃度を検出するためのセンサ素子が知られている(例えば、特許文献1参照)。特許文献1のセンサ素子は、酸素イオン伝導性の固体電解質を主成分とする複数の固体電解質層を有する素子本体を備えている。素子本体は、被測定ガスを導入して流通させるガス流通部と、ガス流通部内および素子本体の外面に設けられた複数の電極と、素子本体に埋設されたヒータとを備えている。
【先行技術文献】
【特許文献】
【0003】
国際公開第2019/188613号パンフレット
【発明の概要】
【発明が解決しようとする課題】
【0004】
ところで、こうしたセンサ素子において、素子本体の強度が低いことにより微小なクラックが生じると、センサ素子の特性に影響を与える場合があった。そのため、素子本体の強度を高めることが望まれている。
【0005】
本発明はこのような課題を解決するためになされたものであり、センサ素子における素子本体の強度を高くすることを主目的とする。
【課題を解決するための手段】
【0006】
本発明は、上述した主目的を達成するために以下の手段を採った。
【0007】
[1]本発明のセンサ素子は、
被測定ガス中の特定ガス濃度を検出するためのセンサ素子であって、
酸素イオン伝導性の固体電解質を主成分とする固体電解質体を有する素子本体、
を備え、
前記固体電解質体は、酸化ケイ素、酸化ナトリウム、酸化鉄の少なくともいずれかである添加剤を含み、前記添加剤の含有割合が0.004wt%以上である、
ものである。
【0008】
このセンサ素子は、固体電解質体における添加剤の含有割合が0.004wt%以上であることで、固体電解質体の強度が高くなるため、素子本体の強度を高くすることができる。発明者らは、このことを実験や解析などにより確認した。ここで、主成分とは含有割合(wt%)が最も多い成分を言う。
【0009】
[2]上述したセンサ素子(前記[1]に記載のセンサ素子)において、前記固体電解質体は、前記添加剤の含有割合が0.055wt%以下であり、前記センサ素子は、前記素子本体の内部に設けられ通電により発熱するヒータを更に備えていてもよい。こうすれば、添加剤により固体電解質体の導電性が高くなりすぎることを抑制でき、ヒータに通電したときのヒータからのリーク電流を抑制できる。したがって、添加剤の含有割合が0.004wt%以上0.055wt%以下であることで、素子本体の強度の向上とリーク電流の抑制とを両立できる。
【0010】
[3]上述したセンサ素子(前記[2]に記載のセンサ素子)において、前記固体電解質体は、前記添加剤の含有割合が0.040wt%以下であってもよい。こうすれば、リーク電流をより抑制できる。
(【0011】以降は省略されています)
この特許をJ-PlatPat(特許庁公式サイト)で参照する
関連特許
日本碍子株式会社
電池
1か月前
日本碍子株式会社
熱交換器
10日前
日本碍子株式会社
熱交換器
2日前
日本碍子株式会社
把持方法
6日前
日本碍子株式会社
ガスセンサ
2か月前
日本碍子株式会社
ガスセンサ
1か月前
日本碍子株式会社
亜鉛二次電池
1日前
日本碍子株式会社
空調システム
1か月前
日本碍子株式会社
ハニカム構造体
今日
日本碍子株式会社
ハニカム構造体
21日前
日本碍子株式会社
ハニカム構造体
10日前
日本碍子株式会社
ハニカム構造体
1か月前
日本碍子株式会社
ハニカム構造体
6日前
日本碍子株式会社
電気加熱式担体
今日
日本碍子株式会社
ハニカム構造体
2か月前
日本碍子株式会社
アルカリ二次電池
10日前
日本碍子株式会社
金属溶湯濾過部材
2か月前
日本碍子株式会社
導波素子の製造方法
13日前
日本碍子株式会社
ウォーキングビーム炉
1日前
日本碍子株式会社
半導体製造装置用部材
2か月前
日本碍子株式会社
半導体製造装置用部材
29日前
日本碍子株式会社
センサ素子およびガスセンサ
1か月前
日本碍子株式会社
センサ素子およびガスセンサ
8日前
日本碍子株式会社
セラミックス部材の製造方法
1日前
日本碍子株式会社
複合基板、複合基板の製造方法
3か月前
日本碍子株式会社
セラミックス試料の酸分解方法
今日
日本碍子株式会社
AlN単結晶基板及びデバイス
10日前
日本碍子株式会社
ロボットハンドおよびロボット
6日前
日本碍子株式会社
ロボットハンドおよびロボット
6日前
日本碍子株式会社
浄水膜構造体および浄水膜組立体
今日
日本碍子株式会社
流体処理装置用筒状部材の製造方法
1か月前
日本碍子株式会社
車両用空調システム及びその制御方法
1か月前
日本碍子株式会社
放射性廃棄物の処理方法及び保管装置
今日
日本碍子株式会社
センサ素子の製造方法およびスラリー付着装置
10日前
日本碍子株式会社
センサ素子の製造方法およびスラリー付着装置
10日前
日本碍子株式会社
微細構造材料の設計支援方法および設計支援装置
1か月前
続きを見る
他の特許を見る