TOP
|
特許
|
意匠
|
商標
特許ウォッチ
Twitter
他の特許を見る
10個以上の画像は省略されています。
公開番号
2025148847
公報種別
公開特許公報(A)
公開日
2025-10-08
出願番号
2024049172
出願日
2024-03-26
発明の名称
亜鉛二次電池
出願人
日本碍子株式会社
代理人
個人
,
個人
,
個人
,
個人
主分類
H01M
10/28 20060101AFI20251001BHJP(基本的電気素子)
要約
【課題】長寿命化を図ることが容易な亜鉛二次電池を提供する。
【解決手段】亜鉛二次電池は、板状であって、正極活物質を含む正極と、板状であって、負極活物質を含み、正極の厚さ方向である第1方向に間隔をあけて配置される負極と、正極および負極の双方に接触するように正極と負極との間に配置され、正極と負極とを水酸化物イオン伝導可能に隔離するセパレータおよび電解液と、を備える。第1方向において負極に負荷される面内の最大圧力は、0MPaよりも大きく0.8MPaよりも小さい。
【選択図】図1
特許請求の範囲
【請求項1】
板状であって、正極活物質を含む正極と、
板状であって、負極活物質を含み、前記正極の厚さ方向である第1方向に間隔をあけて配置される負極と、
前記正極および前記負極の双方に接触するように前記正極と前記負極との間に配置され、前記正極と前記負極とを水酸化物イオン伝導可能に隔離するセパレータおよび電解液と、を備え、
前記第1方向において前記負極に負荷される面内の最大圧力は、0MPaよりも大きく0.8MPaよりも小さい、亜鉛二次電池。
続きを表示(約 1,100 文字)
【請求項2】
前記第1方向における前記電解液が配置される側と反対側において前記負極と接触して配置され、弾性変形可能な第1緩衝材をさらに備え、
前記負極に対向する領域の全面は、前記負極と接触する、請求項1に記載の亜鉛二次電池。
【請求項3】
前記第1方向における前記電解液が配置される側と反対側において前記正極と接触して配置され、弾性変形可能な第2緩衝材をさらに備え、
前記正極に対向する領域の全面は、前記正極と接触する、請求項2に記載の亜鉛二次電池。
【請求項4】
前記第1緩衝材および前記第2緩衝材のうちの少なくともいずれか一つの材質は、天然ゴム、シリコーンゴム、ニトリルゴム、フッ素ゴム、クロロプレンゴム、アクリルゴム、ウレタンゴム、エチレンプロピレンゴム、エチレンプロピレンジエンゴム、イソプレンゴム、ブチルゴム、スチレンブタジエンゴムおよびブタジエンゴムからなる群から選択される少なくとも一つである、請求項3に記載の亜鉛二次電池。
【請求項5】
前記第1緩衝材および前記第2緩衝材のうちの少なくともいずれか一つの材質は、ゴム硬度が5以上90以下のゴムである、請求項3に記載の亜鉛二次電池。
【請求項6】
前記第1方向における前記負極が配置される側と反対側において前記第1緩衝材と接触して配置され、前記第1方向への前記第1緩衝材の移動を規制する第1拘束部材と、
前記第1方向における前記正極が配置される側と反対側において前記第2緩衝材と接触して配置され、前記第1方向への前記第2緩衝材の移動を規制する第2拘束部材と、をさらに備える、請求項3または請求項4に記載の亜鉛二次電池。
【請求項7】
板状であって、正極活物質を含む正極と、
板状であって、負極活物質を含み、前記正極の厚さ方向である第1方向に間隔をあけて配置される負極と、
前記正極および前記負極の双方に接触するように前記正極と前記負極との間に配置され、前記正極と前記負極とを水酸化物イオン伝導可能に隔離するセパレータおよび電解液と、
前記正極側および前記負極側の少なくともいずれか一方に配置される緩衝材と、
前記正極、前記負極、前記電解液および前記緩衝材を収容するケースと、を備え、
前記第1方向において前記負極に負荷される面内の最大圧力は、0MPaよりも大きく0.8MPaよりも小さい、亜鉛二次電池。
【請求項8】
前記第1方向において前記負極に負荷される面内の最大圧力は、0.0001MPaよりも大きく0.1MPaよりも小さい、請求項1または請求項7に記載の亜鉛二次電池。
発明の詳細な説明
【技術分野】
【0001】
本開示は、亜鉛二次電池に関するものである。
続きを表示(約 2,000 文字)
【背景技術】
【0002】
複数の電池セルを含む電池モジュールに関する技術が、例えば、特開2023-14666号公報(特許文献1)に開示されている。特許文献1に開示の電池モジュールは、各々が扁平形状を有する複数の電池セルと、複数の電池セルと交互に積層配置された複数の弾性スペーサと、複数の電池セルの積層方向において、複数の電池セルと複数の弾性スペーサとを拘束する拘束部材と、を備える。弾性スペーサは、隣接する二つの電池セルの間に広がるシート部と、シート部の一表面から突出する複数の突出部と、を有する。
【先行技術文献】
【特許文献】
【0003】
特開2023-14666号公報
【発明の概要】
【発明が解決しようとする課題】
【0004】
亜鉛二次電池は、充放電を繰り返して使用される。長期にわたって充放電を繰り返して使用できることが望まれる。すなわち、亜鉛二次電池の長寿命化が求められる。
【0005】
そこで、長寿命化を図ることが容易な亜鉛二次電池を提供することを目的の一つとする。
【課題を解決するための手段】
【0006】
本開示に従った亜鉛二次電池は、板状であって、正極活物質を含む正極と、板状であって、負極活物質を含み、正極の厚さ方向である第1方向に間隔をあけて配置される負極と、正極および負極の双方に接触するように正極と負極との間に配置され、正極と負極とを水酸化物イオン伝導可能に隔離するセパレータおよび電解液と、を備える。第1方向において負極に負荷される面内の最大圧力は、0MPaよりも大きく0.8MPaよりも小さい。
【発明の効果】
【0007】
このような亜鉛二次電池によると、 長寿命化を図ることが容易である。
【図面の簡単な説明】
【0008】
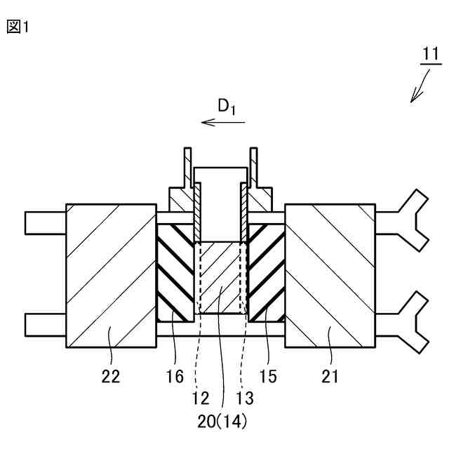
図1は、実施の形態1における亜鉛二次電池の外観の一例を示す概略図である。
図2は、実施の形態1における亜鉛二次電池の外観の一例を示す概略図である。
図3は、図1に示す状態の亜鉛二次電池の内部の一部を拡大して概念的に示す模式図である。
図4は、図2に示す状態の亜鉛二次電池の内部の一部を拡大して概念的に示す模式図である。
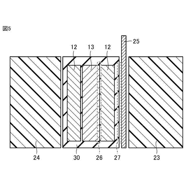
図5は、亜鉛二次電池の簡易的な概略断面図である。
図6は、厚さ方向に見た図であり、圧力を測定した領域を示す。
図7は、緩衝材が無い場合の充放電のサイクル数と放電平均電圧との関係を示すグラフである。
図8は、時間と最大圧力との関係を示すグラフである。
図9は、経過時間と圧力との関係を示すグラフである。
図10は、充放電のサイクル数と充電終止電流との関係を示すグラフである。
図11は、充放電のサイクル数と放電平均電圧との関係を示すグラフである。
図12は、本開示の実施の形態2における亜鉛二次電池を示す概略断面図である。
【発明を実施するための形態】
【0009】
[実施形態の概要]
最初に本開示の実施態様を列記して説明する。本開示に係る亜鉛二次電池は、板状であって、正極活物質を含む正極と、板状であって、負極活物質を含み、正極の厚さ方向である第1方向に間隔をあけて配置される負極と、正極および負極の双方に接触するように正極と負極との間に配置され、正極と負極とを水酸化物イオン伝導可能に隔離するセパレータおよび電解液と、を備える。第1方向において負極に負荷される面内の最大圧力は、0MPaよりも大きく0.8MPaよりも小さい。
【0010】
亜鉛二次電池においては、リチウムイオン電池といったインターカレーション反応の電池と異なり、充放電を繰り返すに伴い、負極活物質である亜鉛および正極活物質である水酸化ニッケルの形態が変化する。ここで、本発明者らは、長寿命化を図る観点から、この形態の変化に着目し、以下のように考えた。充放電を繰り返すと、板状の負極の厚さ方向に見て負極活物質が端部から中央に寄っていき、その結果、充放電に有効活用される負極活物質の領域の面積が減少することを突き止めた。また、負極の内部を厳密に観察した結果、中央に集積された負極活物質が緻密化され、電解液が通る隙間がほとんどなくなってしまっていることを把握した。そしてその結果、電解液が内部まで入り込みにくくなり電解液の供給能力が低下し、充放電時における負極活物質の有効活用がされにくい状態となっていることを突き止めた。さらに本発明者らは、厚さ方向(積層方向)において負極が強く拘束されていることでこの緻密化が加速していることを見出した。そこで、本発明者らは鋭意検討し、本発明の構成を着想するに至った。
(【0011】以降は省略されています)
この特許をJ-PlatPat(特許庁公式サイト)で参照する
関連特許
日本碍子株式会社
電池
1か月前
日本碍子株式会社
熱交換器
3日前
日本碍子株式会社
熱交換器
11日前
日本碍子株式会社
把持方法
7日前
日本碍子株式会社
ガスセンサ
1か月前
日本碍子株式会社
空調システム
1か月前
日本碍子株式会社
亜鉛二次電池
2日前
日本碍子株式会社
ハニカム構造体
22日前
日本碍子株式会社
ハニカム構造体
7日前
日本碍子株式会社
ハニカム構造体
1日前
日本碍子株式会社
ハニカム構造体
11日前
日本碍子株式会社
ハニカム構造体
1か月前
日本碍子株式会社
電気加熱式担体
1日前
日本碍子株式会社
アルカリ二次電池
11日前
日本碍子株式会社
導波素子の製造方法
14日前
日本碍子株式会社
半導体製造装置用部材
1か月前
日本碍子株式会社
ウォーキングビーム炉
2日前
日本碍子株式会社
セラミックス部材の製造方法
2日前
日本碍子株式会社
センサ素子およびガスセンサ
9日前
日本碍子株式会社
センサ素子およびガスセンサ
1か月前
日本碍子株式会社
AlN単結晶基板及びデバイス
11日前
日本碍子株式会社
ロボットハンドおよびロボット
7日前
日本碍子株式会社
ロボットハンドおよびロボット
7日前
日本碍子株式会社
セラミックス試料の酸分解方法
1日前
日本碍子株式会社
浄水膜構造体および浄水膜組立体
1日前
日本碍子株式会社
流体処理装置用筒状部材の製造方法
1か月前
日本碍子株式会社
放射性廃棄物の処理方法及び保管装置
1日前
日本碍子株式会社
車両用空調システム及びその制御方法
1か月前
日本碍子株式会社
センサ素子の製造方法およびスラリー付着装置
11日前
日本碍子株式会社
センサ素子の製造方法およびスラリー付着装置
11日前
日本碍子株式会社
微細構造材料の設計支援方法および設計支援装置
1か月前
日本碍子株式会社
ハニカム構造体の電気抵抗を測定するための方法
22日前
日本碍子株式会社
センサ素子、ガスセンサ、および素子本体の製造方法
3日前
日本碍子株式会社
微細構造材料のモデル生成方法およびモデル生成装置
1か月前
日本碍子株式会社
センサ素子
2か月前
日本碍子株式会社
半導体製造装置用部材
1か月前
続きを見る
他の特許を見る