TOP
|
特許
|
意匠
|
商標
特許ウォッチ
Twitter
他の特許を見る
10個以上の画像は省略されています。
公開番号
2025148017
公報種別
公開特許公報(A)
公開日
2025-10-07
出願番号
2024048581
出願日
2024-03-25
発明の名称
熱交換器
出願人
日本碍子株式会社
代理人
アクシス国際弁理士法人
主分類
F28D
7/16 20060101AFI20250930BHJP(熱交換一般)
要約
【課題】熱交換性能に優れる熱交換器を提供する。
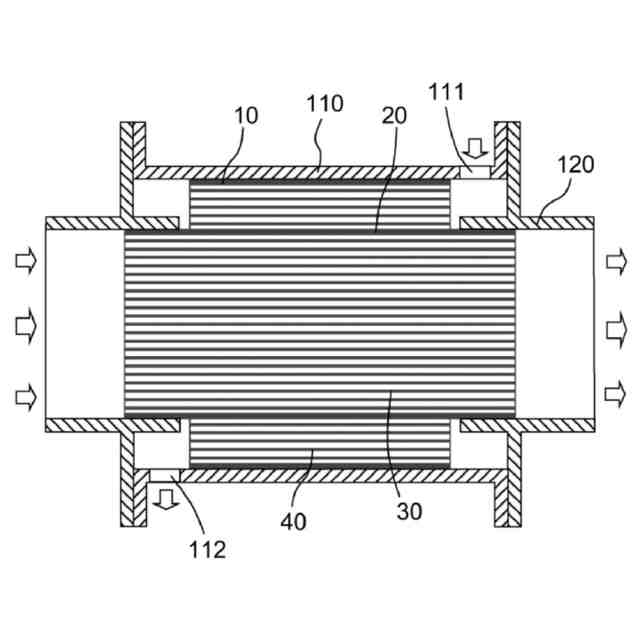
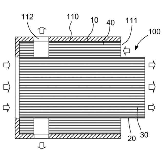
【解決手段】外周壁10と、外周壁10の内側に配設される部分を含む中間壁20と、中間壁20の内側に配設され、第1流体の流路となる複数のセル50aを区画形成する内側隔壁30と、外周壁10と中間壁20との間に配設され、第2流体の流路となる複数のセル50bを区画形成する外側隔壁40とを有するハニカム構造体100を備える熱交換器であり、熱交換器は、以下の式(1)で表される熱抵抗比が0.05~8.0である。
熱抵抗比=(S
2
×R
2
0.5
)/(S
1
×R
1
0.5
)
【選択図】図1A
特許請求の範囲
【請求項1】
外周壁と、
前記外周壁の内側に配設される部分を含む中間壁と、
前記中間壁の内側に配設され、第1流体の流路となる複数のセルを区画形成する内側隔壁と、
前記外周壁と前記中間壁との間に配設され、第2流体の流路となる複数のセルを区画形成する外側隔壁と
を有するハニカム構造体を備え、
以下の式(1)で表される熱抵抗比が0.05~8.0である熱交換器。
熱抵抗比=(S
2
×R
2
0.5
)/(S
1
×R
1
0.5
) ・・・(1)
式中、S
1
は前記ハニカム構造体における前記第1流体の接触面積[m
2
]であり、S
2
は前記ハニカム構造体における前記第2流体の接触面積[m
2
]であり、R
1
は以下の式(2)で表される前記第1流体の流速[m/秒]であり、R
2
は以下の式(3)で表される前記第2流体の流速[m/秒]である。
R
1
=B
1
/(ρ
1
×A
1
) ・・・(2)
R
2
=B
2
/(ρ
2
×A
2
) ・・・(3)
式中、B
1
は前記第1流体の流量[kg/秒]であり、B
2
は前記第2流体の流量[kg/秒]であり、ρ
1
は前記第1流体の密度[kg/m
3
]であり、ρ
2
は前記第2流体の密度[kg/m
3
]であり、A
1
は前記ハニカム構造体における前記第1流体の流路断面積[m
2
]であり、A
2
は前記ハニカム構造体における前記第2流体の流路断面積[m
2
]である。
続きを表示(約 650 文字)
【請求項2】
前記セルが延びる方向に直交する断面において、前記内側隔壁及び前記外側隔壁が、周方向に延びる第1隔壁と、放射方向に延びる第2隔壁とを有する、請求項1に記載の熱交換器。
【請求項3】
前記中間壁の厚みは、前記第1隔壁の厚みよりも大きい、請求項2に記載の熱交換器。
【請求項4】
前記外周壁の少なくとも一部に嵌合される第1外筒部材を更に備え、前記第1外筒部材は前記第2流体の流入口及び排出口を有する、請求項1~3のいずれか一項に記載の熱交換器。
【請求項5】
前記第1外筒部材が金属材料から構成されている、請求項4に記載の熱交換器。
【請求項6】
前記ハニカム構造体の軸方向において、前記外周壁の両端部は、前記中間壁の両端部よりも内側に位置している、請求項1~3のいずれか一項に記載の熱交換器。
【請求項7】
前記中間壁の少なくとも一部に嵌合される第2外筒部材を更に備える、請求項6に記載の熱交換器。
【請求項8】
前記第2外筒部材が金属材料から構成されている、請求項7に記載の熱交換器。
【請求項9】
前記第1流体の流れ方向と、前記第2流体の流れ方向とが逆である、請求項1~3のいずれか一項に記載の熱交換器。
【請求項10】
前記ハニカム構造体がセラミックスを主成分とする、請求項1~3のいずれか一項に記載の熱交換器。
(【請求項11】以降は省略されています)
発明の詳細な説明
【技術分野】
【0001】
本発明は、熱交換器に関する。
続きを表示(約 2,100 文字)
【背景技術】
【0002】
排ガスなどの熱源を利用し、燃料用空気や水蒸気の予熱を行う熱交換器が様々なシステムに導入されている。例えば、火力発電所などで使用されるボイラーからの排ガスを熱源として燃焼用空気を予熱する熱交換器や、燃料電池の排ガスを熱源とし水蒸気の発生及び予熱を行う熱交換器などが存在する。このような熱交換器を導入したシステムは、排ガスなどの廃熱となるエネルギーを再利用するため、使用エネルギーの削減効果があることが知られている。
【0003】
上記の技術に用いられる気体同士の熱交換に好適な熱交換器として、特許文献1には、第1の流路である第1流体流通部となる2×2列以上のセルを区画形成する隔壁及び/又は連通気孔を有する三次元網目構造部と、その外周に中間壁を介して第2流体の流路である第2流体流通部となる複数のセルを区画形成する隔壁及び/又は前記三次元網目構造部と、さらにその外周に外周壁とを有し、前記第2流体が外部から前記第2流体流通部に流入するための流入部、及び前記第2流体流通部に流入した前記第2流体を前記外部に排出する排出部が前記外周壁の一部に少なくとも1対以上設けられた、セラミックスを主成分とするセラミックス構造体を備える熱交換器が提案されている。
【先行技術文献】
【特許文献】
【0004】
特開2015-042934号公報
【発明の概要】
【発明が解決しようとする課題】
【0005】
特許文献1の熱交換器は、第1流体及び第2流体の流速などの様々な条件によっては、所望の熱交換性能が得られないことがある。
本発明は、上記のような課題を解決するためになされたものであり、熱交換性能に優れる熱交換器を提供することを目的とする。
【課題を解決するための手段】
【0006】
本発明者らは、外周壁、中間壁、内側隔壁及び外側隔壁を有するハニカム構造体を備える熱交換器について鋭意研究を行った結果、第1流体及び第2流体の接触面積及び流速を用いて表される熱抵抗比を所定の範囲に制御することにより、上記の課題を解決し得ることを見出し、本発明を完成するに至った。すなわち、本発明は、以下のように例示される。
【0007】
[1] 外周壁と、
前記外周壁の内側に配設される部分を含む中間壁と、
前記中間壁の内側に配設され、第1流体の流路となる複数のセルを区画形成する内側隔壁と、
前記外周壁と前記中間壁との間に配設され、第2流体の流路となる複数のセルを区画形成する外側隔壁と
を有するハニカム構造体を備え、
以下の式(1)で表される熱抵抗比が0.05~8.0である熱交換器。
熱抵抗比=(S
2
×R
2
0.5
)/(S
1
×R
1
0.5
) ・・・(1)
式中、S
1
は前記ハニカム構造体における前記第1流体の接触面積[m
2
]であり、S
2
は前記ハニカム構造体における前記第2流体の接触面積[m
2
]であり、R
1
は以下の式(2)で表される前記第1流体の流速[m/秒]であり、R
2
は以下の式(3)で表される前記第2流体の流速[m/秒]である。
R
1
=B
1
/(ρ
1
×A
1
) ・・・(2)
R
2
=B
2
/(ρ
2
×A
2
) ・・・(3)
式中、B
1
は前記第1流体の流量[kg/秒]であり、B
2
は前記第2流体の流量[kg/秒]であり、ρ
1
は前記第1流体の密度[kg/m
3
]であり、ρ
2
は前記第2流体の密度[kg/m
3
]であり、A
1
は前記ハニカム構造体における前記第1流体の流路断面積[m
2
]であり、A
2
は前記ハニカム構造体における前記第2流体の流路断面積[m
2
]である。
【0008】
[2] 前記セルが延びる方向に直交する断面において、前記内側隔壁及び前記外側隔壁が、周方向に延びる第1隔壁と、放射方向に延びる第2隔壁とを有する、[1]に記載の熱交換器。
【0009】
[3] 前記中間壁の厚みは、前記第1隔壁の厚みよりも大きい、[2]に記載の熱交換器。
【0010】
[4] 前記外周壁の少なくとも一部に嵌合される第1外筒部材を更に備え、前記第1外筒部材は前記第2流体の流入口及び排出口を有する、[1]~[3]のいずれか一つに記載の熱交換器。
(【0011】以降は省略されています)
この特許をJ-PlatPat(特許庁公式サイト)で参照する
関連特許
日本碍子株式会社
電池
1か月前
日本碍子株式会社
熱交換器
13日前
日本碍子株式会社
把持方法
9日前
日本碍子株式会社
熱交換器
5日前
日本碍子株式会社
ガスセンサ
2か月前
日本碍子株式会社
ガスセンサ
1か月前
日本碍子株式会社
熱ダイオード
3か月前
日本碍子株式会社
空調システム
1か月前
日本碍子株式会社
亜鉛二次電池
4日前
日本碍子株式会社
電気加熱式担体
3日前
日本碍子株式会社
ハニカム構造体
2か月前
日本碍子株式会社
ハニカム構造体
1か月前
日本碍子株式会社
ハニカム構造体
24日前
日本碍子株式会社
ハニカム構造体
13日前
日本碍子株式会社
ハニカム構造体
9日前
日本碍子株式会社
ハニカム構造体
2日前
日本碍子株式会社
ハニカム構造体
3日前
日本碍子株式会社
ハニカム構造体
2日前
日本碍子株式会社
電気加熱式担体
2日前
日本碍子株式会社
アルカリ二次電池
13日前
日本碍子株式会社
金属溶湯濾過部材
2か月前
日本碍子株式会社
メタン製造反応器
2日前
日本碍子株式会社
ハニカムフィルタ
2日前
日本碍子株式会社
導波素子の製造方法
16日前
日本碍子株式会社
半導体製造装置用部材
1か月前
日本碍子株式会社
三相型ハニカムヒータ
2日前
日本碍子株式会社
半導体製造装置用部材
2か月前
日本碍子株式会社
ウォーキングビーム炉
4日前
日本碍子株式会社
センサ素子およびガスセンサ
11日前
日本碍子株式会社
センサ素子およびガスセンサ
1か月前
日本碍子株式会社
セラミックス部材の製造方法
4日前
日本碍子株式会社
ロボットハンドおよびロボット
9日前
日本碍子株式会社
ロボットハンドおよびロボット
9日前
日本碍子株式会社
AlN単結晶基板及びデバイス
13日前
日本碍子株式会社
セラミックス試料の酸分解方法
3日前
日本碍子株式会社
複合基板、複合基板の製造方法
3か月前
続きを見る
他の特許を見る