TOP
|
特許
|
意匠
|
商標
特許ウォッチ
Twitter
他の特許を見る
10個以上の画像は省略されています。
公開番号
2025148796
公報種別
公開特許公報(A)
公開日
2025-10-08
出願番号
2024049097
出願日
2024-03-26
発明の名称
ウォーキングビーム炉
出願人
日本碍子株式会社
代理人
弁理士法人 快友国際特許事務所
主分類
F27B
9/36 20060101AFI20251001BHJP(炉,キルン,窯;レトルト)
要約
【課題】被処理物の温度をより高速に上昇させることができる技術を開示する。
【解決手段】ウォーキングビーム炉は、被処理物を焼成する。ウォーキングビーム炉は、第1焼成空間を内部に有する炉本体と、前記被処理物を前記第1焼成空間内で搬送する搬送ビーム装置と、前記第1焼成空間内に配置されており、前記第1焼成空間の温度よりも高い温度である第2焼成空間を前記第1焼成空間内に画定する内部ヒータ装置と、を備えている。前記搬送ビーム装置により搬送される前記被処理物は、前記第1焼成空間から前記第2焼成空間に搬入され、その後に前記第2焼成空間から前記第1焼成空間に搬出される。前記内部ヒータ装置は、第1対向体と、前記第1対向体と対向して配置されており、前記第1対向体との間に前記第2焼成空間を画定する第2対向体と、を備えている。
【選択図】図4
特許請求の範囲
【請求項1】
被処理物を焼成するウォーキングビーム炉であって、
第1焼成空間を内部に有する炉本体と、
前記被処理物を前記第1焼成空間内で搬送する搬送ビーム装置と、
前記第1焼成空間内に配置されており、前記第1焼成空間の温度よりも高い温度である第2焼成空間を前記第1焼成空間内に画定する内部ヒータ装置と、を備えており、
前記搬送ビーム装置により搬送される前記被処理物は、前記第1焼成空間から前記第2焼成空間に搬入され、その後に前記第2焼成空間から前記第1焼成空間に搬出され、
前記内部ヒータ装置は、
第1対向体と、
前記第1対向体と対向して配置されており、前記第1対向体との間に前記第2焼成空間を画定する第2対向体と、を備えている、ウォーキングビーム炉。
続きを表示(約 700 文字)
【請求項2】
前記第1対向体は、前記被処理物の搬送方向に対して直交する上下方向に前記第2対向体と離れている、請求項1に記載のウォーキングビーム炉。
【請求項3】
前記第1対向体と前記第2対向体の少なくとも一方は、ヒータである、請求項1に記載のウォーキングビーム炉。
【請求項4】
前記ヒータの表面温度は、1300度以上である、請求項3に記載のウォーキングビーム炉。
【請求項5】
前記ヒータは、金属からなる、請求項3に記載のウォーキングビーム炉。
【請求項6】
前記金属は、モリブデンである、請求項5に記載のウォーキングビーム炉。
【請求項7】
前記搬送ビーム装置は、前記被処理物の搬送方向に移動可能であり、前記第2焼成空間の外部に配置されるビームを備えている、請求項1から6のいずれか一項に記載のウォーキングビーム炉。
【請求項8】
前記被処理物は、セッタに載置されており、前記セッタとともに前記第2焼成空間を通過し、
前記搬送ビーム装置は、前記ビームに固定されており、前記セッタを支持する支持体をさらに備えており、
前記支持体は、前記ビームの移動により前記第2焼成空間を通過する、請求項7に記載のウォーキングビーム炉。
【請求項9】
前記支持体は、セラミックスからなる、請求項8に記載のウォーキングビーム炉。
【請求項10】
前記支持体は、モリブデンである、請求項8に記載のウォーキングビーム炉。
(【請求項11】以降は省略されています)
発明の詳細な説明
【技術分野】
【0001】
本明細書に開示する技術は、ウォーキングビーム炉に関する。
続きを表示(約 1,900 文字)
【背景技術】
【0002】
特許文献1には、ローラハースキルンが開示されている。ローラハースキルンは、焼成空間を内部に有する熱処理炉と、被処理物を焼成空間内で搬送する搬送ローラ装置と、焼成空間内の被処理物を焼成するヒータと、を備えている。
【先行技術文献】
【特許文献】
【0003】
特開2009-229013号公報
【発明の概要】
【発明が解決しようとする課題】
【0004】
上記のローラハースキルンでは、積層セラミックコンデンサである被処理物が高速昇温ゾーンを通過することにより、被処理物の温度が高速に上昇される。しかしながら、ローラハースキルンでは、搬送ローラ装置が高速昇温ゾーンの熱による影響を受け易いことから、被処理物の温度をより高速に上昇させることができない。
【0005】
本明細書は、被処理物の温度をより高速に上昇させることができる技術を開示する。
【課題を解決するための手段】
【0006】
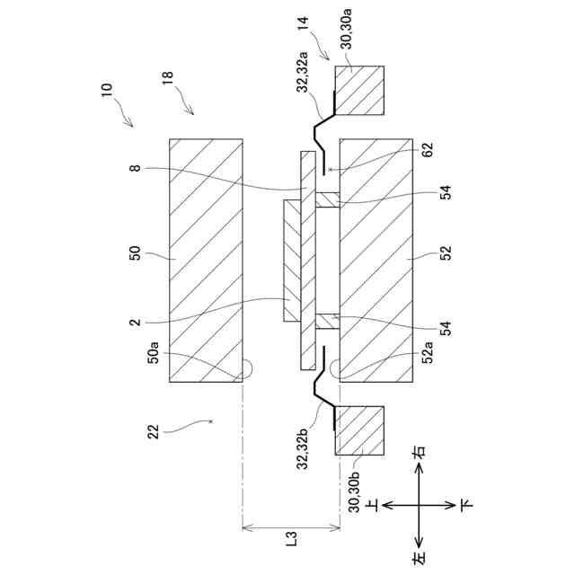
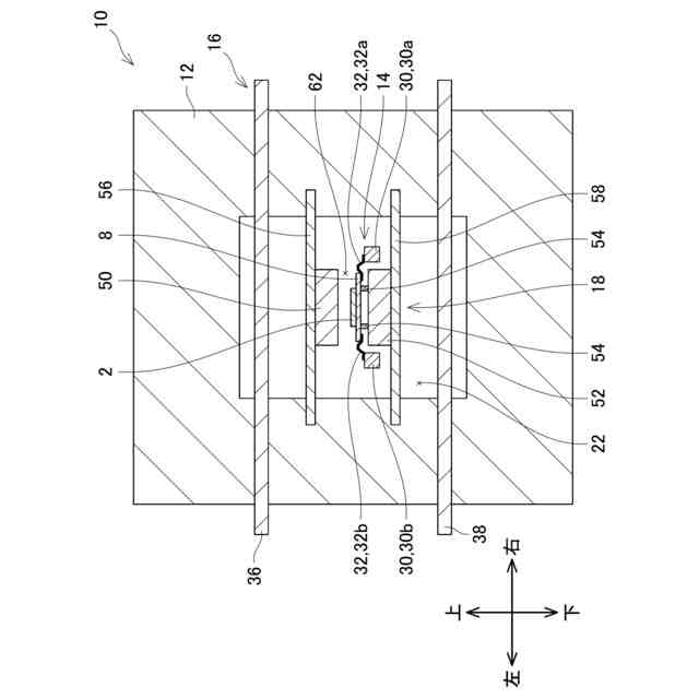
本明細書に開示する技術の第1の態様では、ウォーキングビーム炉は、被処理物を焼成する。ウォーキングビーム炉は、第1焼成空間を内部に有する炉本体と、前記被処理物を前記第1焼成空間内で搬送する搬送ビーム装置と、前記第1焼成空間内に配置されており、前記第1焼成空間の温度よりも高い温度である第2焼成空間を前記第1焼成空間内に画定する内部ヒータ装置と、を備えている。前記搬送ビーム装置により搬送される前記被処理物は、前記第1焼成空間から前記第2焼成空間に搬入され、その後に前記第2焼成空間から前記第1焼成空間に搬出される。前記内部ヒータ装置は、第1対向体と、前記第1対向体と対向して配置されており、前記第1対向体との間に前記第2焼成空間を画定する第2対向体と、を備えている。
【0007】
上記の構成によれば、被処理物は、搬送ビーム装置により第1焼成空間を通過した後に、第1対向体と第2対向体の間の第2焼成空間に搬入され、第2焼成空間から第1焼成空間に搬出される。搬送ビーム装置は、被処理物を搬送する方向に沿って移動するため、搬送ローラ装置の位置が固定されるローラハースキルンと比較して、内部ヒータ装置が発する熱による影響を受けにくい。これにより、搬送ビーム装置を使用して、被処理物を第1対向体と第2対向体との間の第2焼成空間を通過させることができる。また、第1対向体と第2対向体の間に第2焼成空間が画定されるため、第2焼成空間を高温に維持し易い。さらに、第2焼成空間を高温とすればよく、第1焼成空間まで高温とする必要はない。よって、搬送ビーム装置を使用することにより、被処理物の温度をより高速に上昇させることができる。
【図面の簡単な説明】
【0008】
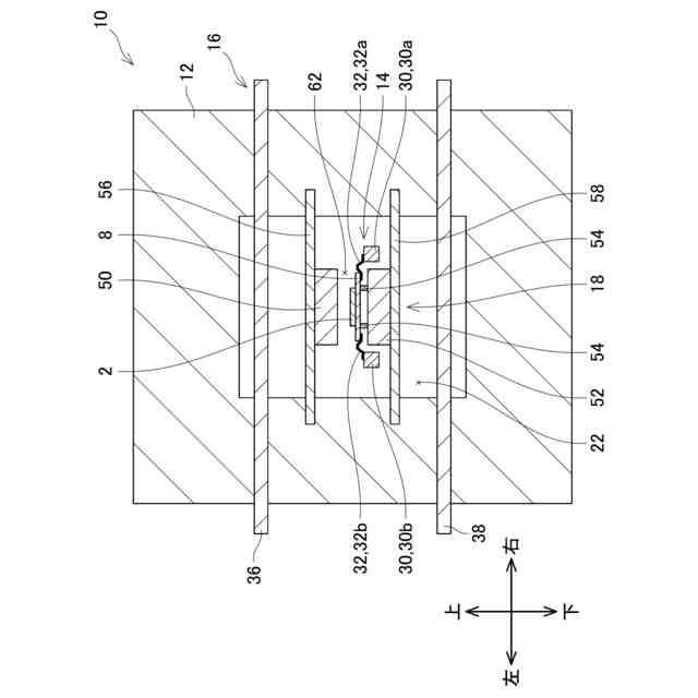
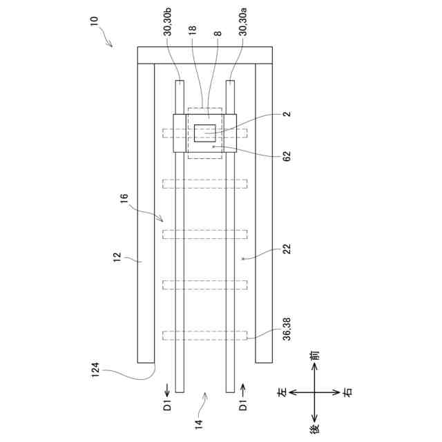
第1実施例のウォーキングビーム炉の概略図である。
第1実施例の被処理物である積層セラミックコンデンサの断面図である。
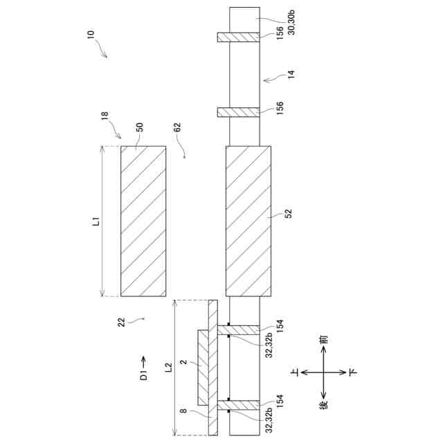
第1実施例のウォーキングビーム炉において、セッタが第2焼成空間に配置されており、支持体に支持されているときの断面図である。
第1実施例のウォーキングビーム炉の断面図である。
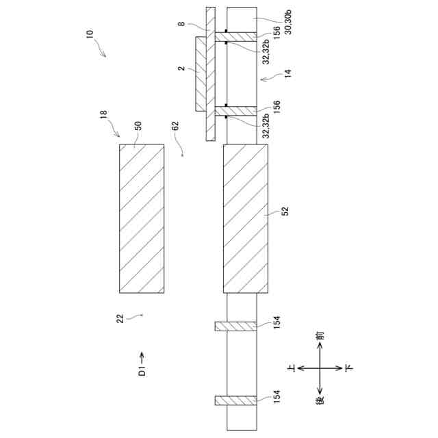
第1実施例のウォーキングビーム炉において、セッタが載置ピンに載置されているときの断面図である。
第2実施例のウォーキングビーム炉の概略図である。
第3実施例のウォーキングビーム炉において、セッタが第1載置ピンに載置されているときの断面図である。
第3実施例のウォーキングビーム炉において、セッタが第2焼成空間を通過しているときの断面図である。
第3実施例のウォーキングビーム炉において、セッタが第2載置ピンに載置されているときの断面図である。
【発明を実施するための形態】
【0009】
以下に説明する実施例の主要な特徴を列記しておく。なお、以下に記載する技術要素は、それぞれ独立した技術要素であって、単独であるいは各種の組合せによって技術的有用性を発揮するものであり、出願時請求項記載の組合せに限定されるものではない。
【0010】
本明細書に開示する技術の第2の態様では、上記の第1の態様において、前記第1対向体は、前記被処理物の搬送方向に対して直交する上下方向に前記第2対向体と離れている。上記の構成によれば、第1対向体が左右方向(水平方向)に第2対向体と離れている構成と比較して、第2焼成空間を高温に維持し易くすることができる。
(【0011】以降は省略されています)
この特許をJ-PlatPat(特許庁公式サイト)で参照する
関連特許
日本碍子株式会社
電池
1か月前
日本碍子株式会社
熱交換器
4か月前
日本碍子株式会社
熱交換器
12日前
日本碍子株式会社
熱交換器
4日前
日本碍子株式会社
把持方法
8日前
日本碍子株式会社
ガスセンサ
1か月前
日本碍子株式会社
ガスセンサ
2か月前
日本碍子株式会社
冷却システム
4か月前
日本碍子株式会社
焼成システム
3か月前
日本碍子株式会社
亜鉛二次電池
3日前
日本碍子株式会社
熱ダイオード
3か月前
日本碍子株式会社
空調システム
1か月前
日本碍子株式会社
ハニカム構造体
1日前
日本碍子株式会社
ハニカム構造体
12日前
日本碍子株式会社
ハニカム構造体
23日前
日本碍子株式会社
ハニカム構造体
1か月前
日本碍子株式会社
ハニカム構造体
8日前
日本碍子株式会社
電気加熱式担体
2日前
日本碍子株式会社
ハニカム構造体
2日前
日本碍子株式会社
ハニカム構造体
2か月前
日本碍子株式会社
電気加熱式担体
1日前
日本碍子株式会社
ハニカム構造体
1日前
日本碍子株式会社
熱処理システム
4か月前
日本碍子株式会社
メタン製造反応器
1日前
日本碍子株式会社
ハニカムフィルタ
1日前
日本碍子株式会社
アルカリ二次電池
12日前
日本碍子株式会社
吸引回収システム
4か月前
日本碍子株式会社
金属溶湯濾過部材
2か月前
日本碍子株式会社
導波素子の製造方法
15日前
日本碍子株式会社
ヒータ及び加熱部材
4か月前
日本碍子株式会社
三相型ハニカムヒータ
1日前
日本碍子株式会社
ウォーキングビーム炉
3日前
日本碍子株式会社
半導体製造装置用部材
2か月前
日本碍子株式会社
半導体製造装置用部材
1か月前
日本碍子株式会社
熱交換部材および熱交換器
4か月前
日本碍子株式会社
センサ素子およびガスセンサ
1か月前
続きを見る
他の特許を見る