TOP
|
特許
|
意匠
|
商標
特許ウォッチ
Twitter
他の特許を見る
10個以上の画像は省略されています。
公開番号
2025148062
公報種別
公開特許公報(A)
公開日
2025-10-07
出願番号
2024048640
出願日
2024-03-25
発明の名称
ズームレンズおよび撮像装置
出願人
キヤノン株式会社
代理人
個人
,
個人
,
個人
主分類
G02B
15/20 20060101AFI20250930BHJP(光学)
要約
【課題】高変倍比かつ高性能を有し、小型かつ製造が容易で、高速ズーミングや高速フォーカシングが可能なズームレンズを提供する。
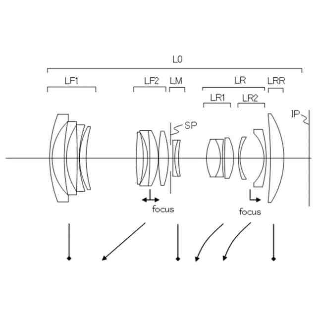
【解決手段】ズームレンズL0は、物体側から像側へ順に配置された、ズーミングのためには移動しない負の屈折力の第1レンズ群LF1と、ズーミングのために移動する少なくとも1つの物体側レンズ群LF2と、ズーミングのためには移動しない中間レンズ群LMと、ズーミングのために移動する少なくとも1つの像側レンズ群LRとを有する。ズーミングに際して隣り合うレンズ群の間隔が変化する。上記少なくとも1つの物体側レンズ群および上記少なくとも1つの像側レンズ群のうち少なくとも2つのレンズ群が、フォーカシングのために移動する。
【選択図】図1
特許請求の範囲
【請求項1】
物体側から像側へ順に配置された、ズーミングのためには移動しない負の屈折力の第1レンズ群と、ズーミングのために移動する少なくとも1つの物体側レンズ群と、ズーミングのためには移動しない中間レンズ群と、ズーミングのために移動する少なくとも1つの像側レンズ群とを有し、ズーミングに際して隣り合うレンズ群の間隔が変化し、
前記少なくとも1つの物体側レンズ群および前記少なくとも1つの像側レンズ群のうちうち少なくとも2つのレンズ群が、フォーカシングのために移動することを特徴とするズームレンズ。
続きを表示(約 1,000 文字)
【請求項2】
前記少なくとも1つの物体側レンズ群および前記少なくとも1つの像側レンズ群のうち少なくとも3つのレンズ群がズーミングのために移動することを特徴とする請求項1に記載のズームレンズ。
【請求項3】
前記第1レンズ群は、フォーカシングのためには移動しないことを特徴とする請求項1に記載のズームレンズ。
【請求項4】
前記中間レンズ群は、フォーカシングのためには移動しないことを特徴とする請求項1に記載のズームレンズ。
【請求項5】
前記少なくとも1つの像側レンズ群に含まれるレンズ群はそれぞれ、5つ以下のレンズにより構成されていることを特徴とする請求項1に記載のズームレンズ。
【請求項6】
前記像側レンズ群より像側に配置され、ズーミングおよびフォーカシングのためには移動しない最終レンズ群を有することを特徴とする請求項1に記載のズームレンズ。
【請求項7】
前記第1レンズ群の焦点距離をfLF1、前記ズームレンズの広角端かつ無限遠物体に合焦した状態での焦点距離をfwとするとき、
0.7≦|fLF1|/fw≦11.7
なる条件を満足することを特徴とする請求項1に記載のズームレンズ。
【請求項8】
前記第1レンズ群の焦点距離をfLF1、前記中間レンズ群の焦点距離をfLMとするとき、
0.2≦|fLF1/fLM|≦3.4
なる条件を満足することを特徴とする請求項1に記載のズームレンズ。
【請求項9】
前記ズームレンズの広角端かつ無限遠物体に合焦した状態での該ズームレンズの最も像側の面から像面までの光軸上の空気換算距離をBFw、前記ズームレンズの広角端かつ無限遠物体に合焦した状態での焦点距離をfwとするとき、
0.3≦BFw/fw≦3.1
なる条件を満足することを特徴とする請求項1に記載のズームレンズ。
【請求項10】
前記第1レンズ群における最も物体側のレンズの焦点距離をfLF11、前記ズームレンズの広角端かつ無限遠物体に合焦した状態での焦点距離をfwとするとき、
1.0≦|fLF11|/fw≦7.6
なる条件を満足することを特徴とする請求項1に記載のズームレンズ。
(【請求項11】以降は省略されています)
発明の詳細な説明
【技術分野】
【0001】
本発明は、撮像に好適なズームレンズに関する。
続きを表示(約 1,800 文字)
【背景技術】
【0002】
撮像に用いられるズームレンズには、小型軽量で、色収差等の諸収差が良好に補正された高い光学性能を有することが望まれている。また、広画角、高変倍比かつ製造が容易で、高速ズーミングや高速フォーカシングが可能であることも望まれている。
【0003】
特許文献1に開示されたズームレンズは、物体側から像側へ順に配置された、ズーミングのためには移動しない負の第1レンズ群、ズーミングのためにそれぞれ移動する正の第2レンズ群と正の第3レンズ群、ズーミングのためには移動しない負の第4レンズ群、ズーミングのために移動する正の第5レンズ群およびズーミングのためには移動しない正の第6レンズ群により構成されている。
【先行技術文献】
【特許文献】
【0004】
特開2017-173588号公報
【発明の開示】
【発明が解決しようとする課題】
【0005】
高速ズーミングや高速フォーカシングを可能とするためにはそれらにおいて移動するレンズ群の質量や移動量を少なくすることが重要である。しかしながら、ズーミングで移動するレンズ群の質量や移動量を少なくすると、高変倍比化や高性能化が困難となる。また小型化や製造の容易化のためにズーミングに際して移動するレンズ群の数を少なくすると、収差補正が困難となったり変倍比の自由度が減ったりする。フォーカシングに際して移動するレンズ群の質量や移動量を小さくすると、近距離側での収差補正が困難になる。
【0006】
本発明は、高変倍比かつ高性能を有し、小型かつ製造が容易で、高速ズーミングや高速フォーカシングが可能なズームレンズを提供する。
【課題を解決するための手段】
【0007】
本発明の一側面としてのズームレンズは、物体側から像側へ順に配置された、ズーミングのためには移動しない負の屈折力の第1レンズ群と、ズーミングのために移動する少なくとも1つの物体側レンズ群と、ズーミングのためには移動しない中間レンズ群と、ズーミングのために移動する少なくとも1つの像側レンズ群とを有する。ズーミングに際して隣り合うレンズ群の間隔が変化する。上記少なくとも1つの物体側レンズ群および上記少なくとも1つの像側レンズ群のうち少なくとも2つのレンズ群が、フォーカシングのために移動することを特徴とする。なお、上記ズームレンズを備えた撮像装置も、本発明の他の一側面を構成する。
【発明の効果】
【0008】
本発明によれば、高変倍比かつ高性能を有し、小型かつ製造が容易で、高速ズーミングや高速フォーカシングが可能なズームレンズを提供することができる。
【図面の簡単な説明】
【0009】
実施例1のズームレンズの断面図。
実施例1のズームレンズの広角端および望遠端かつ無限遠合焦状態での収差図。
実施例1のズームレンズの広角端および望遠端かつ最至近合焦状態での収差図。
実施例2のズームレンズの断面図。
実施例2のズームレンズの広角端および望遠端かつ無限遠合焦状態での収差図。
実施例2のズームレンズの広角端および望遠端かつ最至近合焦状態での収差図。
実施例3のズームレンズの断面図。
実施例3のズームレンズの広角端および望遠端かつ無限遠合焦状態での収差図。
実施例3のズームレンズの広角端および望遠端かつ最至近合焦状態での収差図。
実施例4のズームレンズの断面図。
実施例4のズームレンズの広角端および望遠端かつ無限遠合焦状態での収差図。
実施例4のズームレンズの広角端および望遠端かつ最至近合焦状態での収差図。
実施例5のズームレンズの断面図。
実施例5のズームレンズの広角端および望遠端かつ無限遠合焦状態での収差図。
実施例5のズームレンズの広角端および望遠端かつ最至近合焦状態での収差図。
実施例1~5のズームレンズを備えた撮像装置の概略図。
【発明を実施するための形態】
【0010】
以下、本発明の実施例について図面を参照しながら説明する。
(【0011】以降は省略されています)
この特許をJ-PlatPat(特許庁公式サイト)で参照する
関連特許
キヤノン株式会社
トナー
2日前
キヤノン株式会社
トナー
7日前
キヤノン株式会社
トナー
2日前
キヤノン株式会社
トナー
2日前
キヤノン株式会社
撮影装置
今日
キヤノン株式会社
記録装置
今日
キヤノン株式会社
現像装置
今日
キヤノン株式会社
現像容器
今日
キヤノン株式会社
撮像装置
3日前
キヤノン株式会社
現像装置
今日
キヤノン株式会社
電子機器
9日前
キヤノン株式会社
撮像装置
7日前
キヤノン株式会社
定着装置
1日前
キヤノン株式会社
現像容器
今日
キヤノン株式会社
記録装置
7日前
キヤノン株式会社
光学センサ
2日前
キヤノン株式会社
現像剤容器
8日前
キヤノン株式会社
半導体装置
9日前
キヤノン株式会社
モジュール
2日前
キヤノン株式会社
画像形成装置
3日前
キヤノン株式会社
映像表示装置
2日前
キヤノン株式会社
画像形成装置
1日前
キヤノン株式会社
画像形成装置
3日前
キヤノン株式会社
画像形成装置
3日前
キヤノン株式会社
画像形成装置
3日前
キヤノン株式会社
画像形成装置
1日前
キヤノン株式会社
画像形成装置
1日前
キヤノン株式会社
画像形成装置
3日前
キヤノン株式会社
カートリッジ
今日
キヤノン株式会社
画像形成装置
3日前
キヤノン株式会社
画像形成装置
8日前
キヤノン株式会社
画像形成装置
11日前
キヤノン株式会社
映像表示装置
11日前
キヤノン株式会社
画像形成装置
9日前
キヤノン株式会社
画像処理装置
8日前
キヤノン株式会社
表示システム
8日前
続きを見る
他の特許を見る