TOP
|
特許
|
意匠
|
商標
特許ウォッチ
Twitter
他の特許を見る
公開番号
2025148533
公報種別
公開特許公報(A)
公開日
2025-10-07
出願番号
2025119461,2024084556
出願日
2025-07-16,2020-03-25
発明の名称
処理装置、処理方法及びプログラム
出願人
日本電気株式会社
代理人
個人
主分類
G06Q
30/0241 20230101AFI20250930BHJP(計算;計数)
要約
【課題】店舗で買い物中の顧客に向けて情報を表示する技術において、顧客が表示されている情報に気づかないという問題を軽減する。
【解決手段】本発明の処理装置は、商品が手にとられたことを認識する認識手段と、手にとられた商品が陳列されていた位置であって、商品が手にとられたことでいずれの商品も陳列されていない状態となった位置を特定する位置特定手段と、手にとられた商品に関連する情報を、手にとられた商品が陳列されていた位置に対応する位置に表示させる表示制御手段と、を有する。
【選択図】図2
特許請求の範囲
【請求項1】
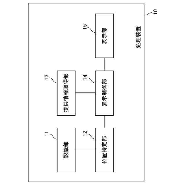
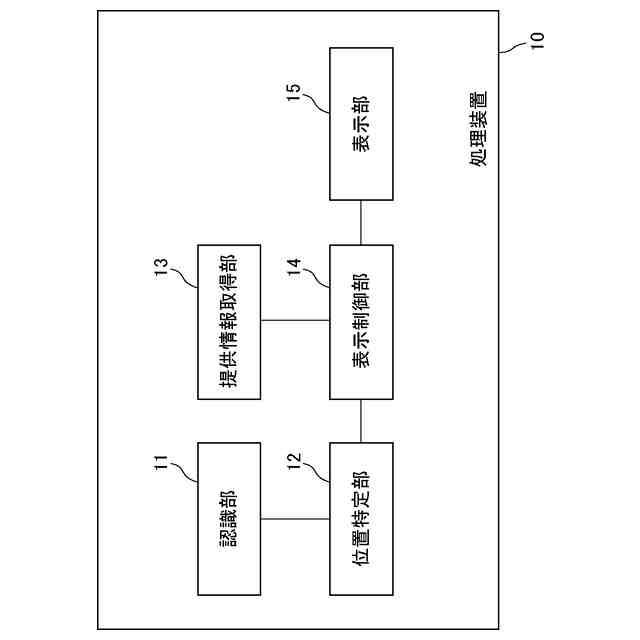
商品が手にとられたことを認識する認識手段と、
手にとられた前記商品が陳列されていた位置であって、前記商品が手にとられたことでいずれの前記商品も陳列されていない状態となった位置を特定する位置特定手段と、
手にとられた前記商品に関連する情報を、手にとられた前記商品が陳列されていた位置に対応する位置に表示させる表示制御手段と、
を有する処理装置。
続きを表示(約 1,200 文字)
【請求項2】
前記表示制御手段は、前記商品を手にとった人物がその場から離れたタイミングで、手にとられた前記商品が陳列されていた位置に対応する位置に表示させた前記商品に関連する情報を非表示とする請求項1に記載の処理装置。
【請求項3】
前記表示制御手段は、手にとられた前記商品が陳列されていた位置に情報を表示させる請求項1又は2に記載の処理装置。
【請求項4】
前記表示制御手段は、前記商品が手にとられたことの認識に応じて、手にとられた前記商品が陳列されていた位置に対応する位置に情報を表示させる請求項1から3のいずれか1項に記載の処理装置。
【請求項5】
前記商品を手にとった人物の顧客識別情報を取得する顧客識別情報取得手段をさらに有し、
前記表示制御手段は、前記顧客識別情報に紐づけて登録されている顧客登録情報に基づき取得された情報を表示させる請求項1から4のいずれか1項に記載の処理装置。
【請求項6】
前記顧客登録情報は、顧客が表示を希望する情報を示し、
前記表示制御手段は、手にとられた前記商品に関連する情報の中の、前記商品を手にとった人物が表示を希望する情報を表示させる請求項5に記載の処理装置。
【請求項7】
前記顧客登録情報は、買い物リストを含み、
前記表示制御手段は、前記買い物リストを表示させる請求項5又は6に記載の処理装置。
【請求項8】
前記商品の外面にはコードが付与されており、
前記商品は前記コードが下を向くように陳列部材の上に陳列されており、
前記認識手段は、前記陳列部材越しに前記コードを読み取るコードリーダの読み取り結果に基づき、手にとられた前記商品を認識し、
前記位置特定手段は、前記読み取り結果に基づき、手にとられた前記商品が陳列されていた位置を特定する請求項1から7のいずれか1項に記載の処理装置。
【請求項9】
コンピュータが、
商品が手にとられたことを認識し、
手にとられた前記商品が陳列されていた位置であって、前記商品が手にとられたことでいずれの前記商品も陳列されていない状態となった位置を特定し、
手にとられた前記商品に関連する情報を、手にとられた前記商品が陳列されていた位置に対応する位置に表示させる処理方法。
【請求項10】
コンピュータを、
商品が手にとられたことを認識する認識手段、
手にとられた前記商品が陳列されていた位置であって、前記商品が手にとられたことでいずれの前記商品も陳列されていない状態となった位置を特定する位置特定手段、
手にとられた前記商品に関連する情報を、手にとられた前記商品が陳列されていた位置に対応する位置に表示させる表示制御手段、
として機能させるプログラム。
発明の詳細な説明
【技術分野】
【0001】
本発明は、処理装置、処理方法及びプログラムに関する。
続きを表示(約 1,400 文字)
【背景技術】
【0002】
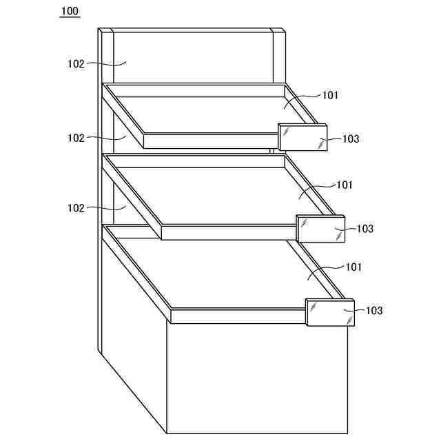
特許文献1は、店舗で陳列販売されている商品の情報(販売価格、生鮮食品の鮮度等)を携帯端末に表示する技術を開示している。
【0003】
特許文献2は、商品に付されているICタグから商品ユニーク識別情報の読取を実行することで、棚からどの商品が取り出されたか、また、棚にどの商品が戻されたかを検出する棚端末を開示している。棚端末は、商品ユニーク識別情報が読取可能から読取不可能に変化すると商品が取り出されたと判定し、商品ユニーク識別情報が読取不可能から読取可能に変化すると商品が棚に戻されたと判定する。また、棚端末は、ICタグからの読み取り結果をサーバに送信し、広告情報を当該サーバから受信し、当該広告情報をディスプレイに表示する。
【先行技術文献】
【特許文献】
【0004】
特開2013-254519号公報
特開2008-90745号公報
【発明の概要】
【発明が解決しようとする課題】
【0005】
店舗で買い物中の顧客に向けて有益な情報を提供することで、売上向上等が期待される。しかし、情報を表示する位置が適切でなければ、顧客が表示されている情報に気づかないという問題が発生し得る。特許文献1及び2はいずれも当該課題及びその解決手段を開示していない。
【0006】
本発明は、店舗で買い物中の顧客に向けて情報を表示する技術において、顧客が表示されている情報に気づかないという問題を軽減することを課題とする。
【課題を解決するための手段】
【0007】
本発明によれば、
顧客が商品を手にとったことを認識する認識手段と、
前記顧客が手にとった前記商品が陳列されていた位置を特定する位置特定手段と、
前記顧客が手にとった前記商品に関連する情報を含む提供情報を、前記顧客が手にとった前記商品が陳列されていた位置に対応する位置に表示させる表示制御手段と、
を有する処理装置が提供される。
【0008】
また、本発明によれば、
コンピュータが、
顧客が商品を手にとったことを認識し、
前記顧客が手にとった前記商品が陳列されていた位置を特定し、
前記顧客が手にとった前記商品に関連する情報を含む提供情報を、前記顧客が手にとった前記商品が陳列されていた位置に対応する位置に表示させる処理方法が提供される。
【0009】
また、本発明によれば、
コンピュータを、
顧客が商品を手にとったことを認識する認識手段、
前記顧客が手にとった前記商品が陳列されていた位置を特定する位置特定手段、
前記顧客が手にとった前記商品に関連する情報を含む提供情報を、前記顧客が手にとった前記商品が陳列されていた位置に対応する位置に表示させる表示制御手段、
として機能させるプログラムが提供される。
【発明の効果】
【0010】
本発明によれば、店舗で買い物中の顧客に向けて情報を表示する技術において、顧客が表示されている情報に気づかないという問題が軽減される。
【図面の簡単な説明】
(【0011】以降は省略されています)
この特許をJ-PlatPat(特許庁公式サイト)で参照する
関連特許
日本電気株式会社
分析装置
10日前
日本電気株式会社
超伝導量子回路
1か月前
日本電気株式会社
レーザモジュール
今日
日本電気株式会社
マルチバンドバラン
28日前
日本電気株式会社
超伝導量子回路装置
今日
日本電気株式会社
受信器および通信装置
1日前
日本電気株式会社
量子回路装置と制御方法
10日前
日本電気株式会社
システム、装置及び方法
今日
日本電気株式会社
量子回路装置と制御方法
10日前
日本電気株式会社
検知装置および検知方法
10日前
日本電気株式会社
通信装置および通信方法
6日前
日本電気株式会社
送信装置および通信装置
6日前
日本電気株式会社
光伝送システムおよび方法
2日前
日本電気株式会社
分析方法および分析システム
7日前
日本電気株式会社
端末装置および無線通信方法
21日前
日本電気株式会社
機器冷却装置及びその冷却方法
22日前
日本電気株式会社
制御装置、プログラム及び方法
今日
日本電気株式会社
演算処理装置および演算処理方法
2日前
日本電気株式会社
兆候検知装置および兆候検知方法
2日前
日本電気株式会社
プログラム、算出装置、及び方法
22日前
日本電気株式会社
共振器及びそれを備えた導波回路
8日前
日本電気株式会社
ピーク抑圧装置及びピーク抑圧方法
20日前
日本電気株式会社
推定装置、推定方法及びプログラム
13日前
日本電気株式会社
システム及びマイグレーション方法
10日前
日本電気株式会社
推定装置、推定方法及びプログラム
13日前
日本電気株式会社
放送用システムおよび字幕作成方法
2日前
日本電気株式会社
推定装置、推定方法及びプログラム
今日
日本電気株式会社
情報処理装置、制御方法及び記憶媒体
今日
日本電気株式会社
画像管理システムおよび画像管理方法
8日前
日本電気株式会社
ソーナー装置、通信方法、プログラム
2日前
日本電気株式会社
波長可変レーザ装置及びその構成方法
6日前
日本電気株式会社
推定装置、推定方法、及び、記録媒体
7日前
日本電気株式会社
処理装置、処理方法、及びプログラム
10日前
日本電気株式会社
判別装置、判別方法、およびプログラム
2日前
日本電気株式会社
予測システム、予測方法及びプログラム
13日前
日本電気株式会社
注文端末、注文受付方法及びプログラム
6日前
続きを見る
他の特許を見る