TOP
|
特許
|
意匠
|
商標
特許ウォッチ
Twitter
他の特許を見る
10個以上の画像は省略されています。
公開番号
2025148657
公報種別
公開特許公報(A)
公開日
2025-10-08
出願番号
2024048887
出願日
2024-03-26
発明の名称
通信システム、プログラム及び通信方法
出願人
古河電気工業株式会社
代理人
個人
,
個人
主分類
G08G
1/16 20060101AFI20251001BHJP(信号)
要約
【課題】通信環境が変化する場合であっても、無線通信の信頼性を担保できる通信システム、プログラム及び通信方法を提供すること。
【解決手段】本実施形態に係る通信システム100は、経路情報を取得する経路情報取得部104と、輻輳エリアAを予測する輻輳エリア予測部106と、輻輳エリアAを自車両81が到着する到着時刻を予測する到着時刻予測部107と、到着時刻に輻輳エリアAで発生する通信負荷を予測する通信負荷予測部108と、輻輳エリアAに到達するまでに、輻輳エリアAにおける通信負荷に基づいて、複数の機能の実行に必要なデータの総データ量を、予定到着時刻に輻輳エリアAで輻輳が生じない許容データ量に設定するとともに、優先度の最も高い機能の実行に必要なデータを複数の無線回線を利用して送受信するように設定する通信設定部110と、を備える。
【選択図】図6
特許請求の範囲
【請求項1】
移動体に搭載され、無線回線を介して移動体の複数の機能それぞれの実行に必要なデータを送受信する無線通信部を備える通信システムであって、
入力された情報に基づいて、移動体が移動する予定の経路に関する経路情報が生成され、前記経路情報を取得する経路情報取得部と、
取得した前記経路情報に含まれている経路において通信の輻輳が生じる可能性がある輻輳エリアを予測する輻輳エリア予測部と、
前記輻輳エリアに移動体が到着する到着時刻を予測する到着時刻予測部と、
前記到着時刻に前記輻輳エリアで発生する通信負荷を予測する通信負荷予測部と、
移動体が前記輻輳エリアに到達するまでに、前記通信負荷予測部によって予測された通信負荷に基づいて、前記無線通信部による前記複数の機能の実行に必要なデータの総データ量を、前記到着時刻に前記輻輳エリアで輻輳が生じない許容データ量に設定するとともに、優先度の最も高い機能の実行に必要なデータを複数の無線回線を利用して送受信するように設定する通信設定部と、を備える通信システム。
続きを表示(約 2,000 文字)
【請求項2】
前記通信設定部は、優先度が2番目以下の機能の実行に必要なデータを、優先度順に前記輻輳エリアにおいて輻輳が生じない範囲で複数の無線回線を利用して送信するように設定する請求項1に記載の通信システム。
【請求項3】
前記通信設定部は、移動体の機能の優先度が高い順に、前記許容データ量の中から前記複数の機能それぞれの実行に必要なデータ毎のデータ量を割り当て、
前記通信設定部によって前記許容データ量の中からデータ量を割り当てられなかった移動体の機能が優先度の最も高い機能である場合に、移動体が前記輻輳エリアに到達するまでに、前記優先度の最も高い機能の制限レベル又は前記優先度の最も高い機能の停止を移動体の運転者に報知するための報知情報を出力する出力処理部と、を更に備える請求項1に記載の通信システム。
【請求項4】
前記移動体は、自動運転車両であり、
前記出力処理部は、前記データ量が割り当てられなかった移動体の機能が自動運転に関わる機能である場合に、自動運転レベルの変更又は移動体の制御モードの自動制御から手動制御への切替を移動体の運転者に報知するための報知情報を出力する請求項3に記載の通信システム。
【請求項5】
前記通信設定部は、移動体の機能の実行に必要なデータを複数の無線回線を利用して送信するように設定する場合に、予測された前記輻輳エリアの手前で取得された通信負荷に基づいて、利用する無線回線の回線数を前記輻輳エリアで輻輳が生じないように設定する請求項1に記載の通信システム。
【請求項6】
前記通信設定部は、移動体の機能の実行に必要なデータを複数の無線回線を利用して送信するように設定する場合に、前記通信負荷予測部によって予測された通信負荷と前記複数の無線回線を利用して送信するデータに必要な回線数の履歴情報に基づいて、利用する無線回線の回線数を前記輻輳エリアで輻輳が生じないように設定する請求項1に記載の通信システム。
【請求項7】
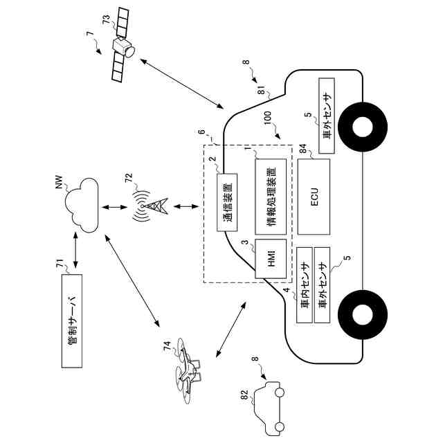
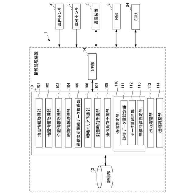
前記経路情報取得部、前記輻輳エリア予測部、前記到着時刻予測部、前記通信負荷予測部、前記通信設定部を有する情報処理装置と、
外部通信装置及び前記情報処理装置と双方向通信を行う前記無線通信部を有する通信装置と、を備え、
前記通信装置は、優先度の高い前記機能の実行に必要なデータの伝送を優先度順に前記輻輳エリアにおいて輻輳が生じない範囲で前記外部通信装置との間で複数の無線回線を利用して行い、残りの機能の実行に必要なデータそれぞれを1回線で送信する請求項1に記載の通信システム。
【請求項8】
前記情報処理装置は、前記通信装置と、移動体の走行情報を検出する車内センサと、移動体の周囲の状況を検出する車外センサと、移動体の運転者による入力操作を受け付けるとともに、運転者に対して情報を出力する入出力装置と、通信可能であり、
前記通信装置、前記車内センサ、前記車外センサ、及び前記入出力装置から取得した情報に基づいて、前記経路情報の生成、前記輻輳エリアの予測、前記到着時刻の予測、前記通信負荷の予測、1つの機能に対する複数の無線回線の利用の有無又は複数の無線回線を利用する場合の回線数の決定を行う請求項7に記載の通信システム。
【請求項9】
前記入出力装置は、前記情報処理装置による前記経路情報の生成に用いられる複数の地点情報の運転者の入力操作を受け付け、前記情報処理装置に送信する請求項8に記載の通信システム。
【請求項10】
移動体に搭載され、無線回線を介して移動体の複数の機能それぞれの実行に必要なデータを送受信する無線通信部を備える通信システムのコンピュータに実行させるプログラムであって、
入力された情報に基づいて、移動体が移動する予定の経路に関する経路情報を取得する経路情報取得工程と、
取得した前記経路情報に含まれている経路において通信の輻輳が生じる可能性がある輻輳エリアを予測する輻輳エリア予測工程と、
前記輻輳エリアを前記移動体が到着する到着時刻を予測する到着時刻予測工程と、
前記到着時刻に前記輻輳エリアで発生する通信負荷を予測する通信負荷予測工程と、
移動体が前記輻輳エリアに到達するまでに、前記通信負荷予測工程で予測された通信負荷に基づいて、前記無線通信部による前記複数の機能の実行に必要なデータの総データ量を、前記到着時刻に前記輻輳エリアで輻輳が生じない許容データ量に設定するとともに、優先度の最も高い機能の実行に必要なデータを複数の無線回線を利用して送受信するように設定する通信設定工程と、を前記コンピュータに実行させるプログラム。
(【請求項11】以降は省略されています)
発明の詳細な説明
【技術分野】
【0001】
本発明は、通信システム、プログラム及び通信方法に関する。
続きを表示(約 1,800 文字)
【背景技術】
【0002】
従来、自動運転等の車両の各種機能を実行するために、外部と各種データを無線通信する技術が知られている。例えば特許文献1には、自動運転支援センタとの通信が途絶した場合に、通信状況情報に基づいて、自動走行を継続するか否かの決定等を行う技術が記載されている。また特許文献2には、データの抜けがある場合に、前回受信した情報でデータ抜けを補完して支援用データを生成し、走行支援装置に出力する技術が記載されている。
【先行技術文献】
【特許文献】
【0003】
特開2021-71753号公報
特開2017-173904号公報
【発明の概要】
【発明が解決しようとする課題】
【0004】
しかしながら、特許文献1の技術では、通信の途絶の有無によって通信状態を判断しており、通信の途絶が発生するまでは通信品質の悪化を把握できない問題点がある。特許文献2ではデータ抜けが発生した場合に、データ抜けを補完し、データロスのカウント情報で信頼性を評価するため、信頼性に乏しいデータ送受信が生じるとともに、データ抜けが発生するまで通信品質低下の事態を把握できない問題点がある。このため、通信の信頼性を担保するという点で改善の余地があった。
【0005】
本発明は、通信環境が変化する場合であっても、無線通信の信頼性を担保できる通信システム、プログラム及び通信方法を提供することを目的とする。
【課題を解決するための手段】
【0006】
(1)通信システムは、移動体に搭載され、無線回線を介して移動体の複数の機能それぞれの実行に必要なデータを送受信する無線通信部を備える通信システムであって、入力された情報に基づいて、移動体が移動する予定の経路に関する経路情報が生成され、前記経路情報を取得する経路情報取得部と、取得した前記経路情報に含まれている経路において通信の輻輳が生じる可能性がある輻輳エリアを予測する輻輳エリア予測部と、前記輻輳エリアに移動体が到着する到着時刻を予測する到着時刻予測部と、前記到着時刻に前記輻輳エリアで発生する通信負荷を予測する通信負荷予測部と、移動体が前記輻輳エリアに到達するまでに、前記通信負荷予測部によって予測された通信負荷に基づいて、前記無線通信部による前記複数の機能の実行に必要なデータの総データ量を、前記到着時刻に前記輻輳エリアで輻輳が生じない許容データ量に設定するとともに、優先度の最も高い機能の実行に必要なデータを複数の無線回線を利用して送受信するように設定する通信設定部と、を備える。
【0007】
(2)(1)に記載の通信システムにおいて、前記通信設定部は、優先度が2番目以下の機能の実行に必要なデータを、優先度順に前記輻輳エリアにおいて輻輳が生じない範囲で複数の無線回線を利用して送信するように設定する。
【0008】
(3)(1)又は(2)に記載の通信システムにおいて、前記通信設定部は、移動体の機能の優先度が高い順に、前記許容データ量の中から前記複数の機能それぞれの実行に必要なデータ毎のデータ量を割り当て、前記通信設定部によって前記許容データ量の中からデータ量を割り当てられなかった移動体の機能が優先度の最も高い機能である場合に、移動体が前記輻輳エリアに到達するまでに、前記優先度の最も高い機能の制限レベル又は前記優先度の最も高い機能の停止を移動体の運転者に報知するための報知情報を出力する出力処理部と、を更に備える。
【0009】
(4)(3)に記載の通信システムにおいて、前記移動体は、自動運転車両であり、前記出力処理部は、前記データ量が割り当てられなかった移動体の機能が自動運転に関わる機能である場合に、自動運転レベルの変更又は移動体の制御モードの自動制御から手動制御への切替を移動体の運転者に報知するための報知情報を出力する。
【0010】
(5)(1)~(4)のいずれかに記載の通信システムにおいて、前記通信設定部は、移動体の機能の実行に必要なデータを複数の無線回線を利用して送信するように設定する場合に、予測された前記輻輳エリアの手前で取得された通信負荷に基づいて、利用する無線回線の回線数を前記輻輳エリアで輻輳が生じないように設定する。
(【0011】以降は省略されています)
この特許をJ-PlatPat(特許庁公式サイト)で参照する
関連特許
古河電気工業株式会社
端子
8日前
古河電気工業株式会社
銅線
4日前
古河電気工業株式会社
端子
9日前
古河電気工業株式会社
回路基板
15日前
古河電気工業株式会社
排水構造
15日前
古河電気工業株式会社
回路基板
12日前
古河電気工業株式会社
回路基板
12日前
古河電気工業株式会社
電気接続箱
15日前
古河電気工業株式会社
固定構造体
16日前
古河電気工業株式会社
複合ケーブル
9日前
古河電気工業株式会社
複合ケーブル
15日前
古河電気工業株式会社
複合ケーブル
9日前
古河電気工業株式会社
複合ケーブル
10日前
古河電気工業株式会社
架橋樹脂発泡体
19日前
古河電気工業株式会社
通信用ケーブル
19日前
古河電気工業株式会社
コネクタ接続構造
8日前
古河電気工業株式会社
光半導体モジュール
8日前
古河電気工業株式会社
レーダ装置の配置構造
8日前
古河電気工業株式会社
ワイヤハーネス組立体
3日前
古河電気工業株式会社
電子部品加工用テープ
8日前
古河電気工業株式会社
ウエハ加工用粘着テープ
9日前
古河電気工業株式会社
フラットケーブル組立体
8日前
古河電気工業株式会社
レーザ装置および制御方法
8日前
古河電気工業株式会社
ワイヤハーネス用コネクタ
8日前
古河電気工業株式会社
光モジュール、光接続構造
9日前
古河電気工業株式会社
バッテリーポスト端子組立体
15日前
古河電気工業株式会社
配線材、及び配線材の製造方法
10日前
古河電気工業株式会社
半導体ウェハ表面保護用テープ
8日前
古河電気工業株式会社
コネクタ及びコネクタ接続構造
8日前
古河電気工業株式会社
端子カバー構造及び電気接続箱
16日前
古河電池株式会社
双極型蓄電池
23日前
古河電池株式会社
双極型蓄電池
9日前
古河電気工業株式会社
検出装置、検出方法及びプログラム
16日前
古河電気工業株式会社
ポリオレフィン樹脂組成物及び配線材
10日前
古河電気工業株式会社
グロメット及びグロメット付ハーネス
4日前
古河電気工業株式会社
通信システム、プログラム及び通信方法
9日前
続きを見る
他の特許を見る