TOP
|
特許
|
意匠
|
商標
特許ウォッチ
Twitter
他の特許を見る
10個以上の画像は省略されています。
公開番号
2025153402
公報種別
公開特許公報(A)
公開日
2025-10-10
出願番号
2024055877
出願日
2024-03-29
発明の名称
コネクタ接続構造
出願人
古河電気工業株式会社
,
古河AS株式会社
代理人
弁理士法人酒井国際特許事務所
主分類
G02B
6/36 20060101AFI20251002BHJP(光学)
要約
【課題】長手方向に対して交差する方向の制振性や耐振性を向上させること。
【解決手段】少なくとも1つの接続部を備えた第1コネクタと、第1コネクタと接続可能に構成された、第1コネクタと対になる第2コネクタとを有するコネクタであって、第1コネクタと第2コネクタとの接続部の周囲に設けられた制振部材を備える。制振部材は、第1コネクタと第2コネクタとが嵌合された状態の場合であって、接続部の周囲の全体に設けられる。接続部の周囲に設けられた制振部材は、衝撃を抑制可能に構成された弾性体または緩衝材などからなる材料から構成されるか、第1コネクタと第2コネクタとの接続部を収納するハウジングを備え、制振部材は、ハウジングに充填された弾性体または緩衝材などからなる材料から構成される。
【選択図】図4
特許請求の範囲
【請求項1】
少なくとも1つの接続部を備えた第1コネクタと、前記第1コネクタと接続可能に構成された、前記第1コネクタと対になる第2コネクタとを有するコネクタ接続構造であって、
前記第1コネクタと前記第2コネクタとの接続部の周囲に設けられた制振部材を備える
ことを特徴とするコネクタ接続構造。
続きを表示(約 420 文字)
【請求項2】
前記制振部材は、前記第1コネクタと前記第2コネクタとが嵌合された状態で、前記接続部の周囲の全体に設けられている
ことを特徴とする請求項1に記載のコネクタ接続構造。
【請求項3】
前記接続部の周囲に設けられた前記制振部材は、衝撃を抑制可能に構成された弾性体または緩衝材から構成される
ことを特徴とする請求項1または2に記載のコネクタ接続構造。
【請求項4】
前記第1コネクタと前記第2コネクタとの前記接続部を収納するハウジングを備え、前記制振部材は、前記ハウジングに充填された弾性体または緩衝材からなる材料から構成される
ことを特徴とする請求項1または2に記載のコネクタ接続構造。
【請求項5】
前記制振部材は、少なくとも2通りの制振特性が異なる材料からなる積層構造から構成される
ことを特徴とする請求項4に記載のコネクタ接続構造。
発明の詳細な説明
【技術分野】
【0001】
本発明は、コネクタ接続構造に関する。
続きを表示(約 1,100 文字)
【背景技術】
【0002】
特許文献1には、第一突合面と第二突合面の間をゲル状透光体またはゴム状透光体によって埋めた構成の光コネクタが記載されている。
【先行技術文献】
【特許文献】
【0003】
特開2017-78819号公報
【発明の概要】
【発明が解決しようとする課題】
【0004】
しかしながら、上述した従来技術においては、光コネクタの長手方向に対して交差した径方向の制振性の向上を図ることが困難であるという問題があった。そのため、光プラグなどの第1コネクタと光アダプタなどの第2コネクタとが接続されて構成されたコネクタ接続構造において径方向に対する制振性や耐振性を向上させる技術が求められていた。
【0005】
本発明は、上記に鑑みてなされたものであって、その目的は、長手方向に対して交差する方向の制振性や耐振性を向上させることができるコネクタ接続構造を提供することにある。
【課題を解決するための手段】
【0006】
上述した課題を解決し、上記目的を達成するために、本発明に係るコネクタ接続構造は、少なくとも1つの接続部を備えた第1コネクタと、前記第1コネクタと接続可能に構成された、前記第1コネクタと対になる第2コネクタとを有するコネクタ接続構造であって、前記第1コネクタと前記第2コネクタとの接続部の周囲に設けられた制振部材を備えることを特徴とする。
【0007】
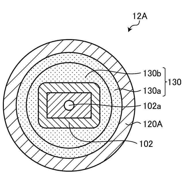
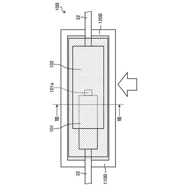
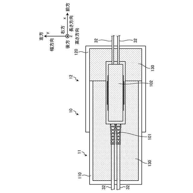
本発明の一態様に係るコネクタ接続構造は、上記の発明において、前記制振部材は、前記第1コネクタと前記第2コネクタとが嵌合された状態で、前記接続部の周囲の全体に設けられていることを特徴とする。
【0008】
本発明の一態様に係るコネクタ接続構造は、上記の発明において、前記接続部の周囲に設けられた前記制振部材は、衝撃を抑制可能に構成された弾性体または緩衝材から構成されることを特徴とする。
【0009】
本発明の一態様に係るコネクタ接続構造は、上記の発明において、前記第1コネクタと前記第2コネクタとの前記接続部を収納するハウジングを備え、前記制振部材は、前記ハウジングに充填された弾性体または緩衝材からなる材料から構成されることを特徴とする。
【0010】
本発明の一態様に係るコネクタ接続構造は、上記の発明において、前記制振部材は、少なくとも2通りの制振特性が異なる材料からなる積層構造から構成されることを特徴とする。
【発明の効果】
(【0011】以降は省略されています)
この特許をJ-PlatPat(特許庁公式サイト)で参照する
関連特許
古河電気工業株式会社
端子
10日前
古河電気工業株式会社
銅線
6日前
古河電気工業株式会社
コネクタ接続構造
10日前
古河電気工業株式会社
光半導体モジュール
10日前
古河電気工業株式会社
ワイヤハーネス組立体
5日前
古河電気工業株式会社
レーダ装置の配置構造
10日前
古河電気工業株式会社
フラットケーブル組立体
10日前
古河電気工業株式会社
ワイヤハーネス用コネクタ
10日前
古河電気工業株式会社
コネクタ及びコネクタ接続構造
10日前
古河電気工業株式会社
グロメット及びグロメット付ハーネス
6日前
古河樹脂加工株式会社
木質配合樹脂管
10日前
古河電気工業株式会社
止水カバー付グロメット及び止水カバー付ハーネス
6日前
古河電気工業株式会社
センサシステム、センシング方法およびプログラム
10日前
株式会社UACJ
磁気ディスク用アルミニウム合金板及び磁気ディスク
4日前
古河電気工業株式会社
フラットケーブル組立体、回転コネクタ装置、及び、スライドドアハーネス
10日前
古河電気工業株式会社
樹脂組成物、樹脂被覆材、絶縁電線、絶縁電線の製造方法、自動車用ワイヤーハーネス及び自動車用ワイヤーハーネスの製造方法
10日前
個人
立体像表示装置
6日前
住友化学株式会社
偏光板
3日前
東レ株式会社
積層フィルム
12日前
住友化学株式会社
垂直偏光板
3日前
東レ株式会社
貼合体の製造方法
6日前
東レ株式会社
赤外線遮蔽構成体
6日前
アイカ工業株式会社
反射防止フィルム
18日前
スタンレー電気株式会社
照明装置
13日前
日本電気株式会社
光集積回路素子
10日前
個人
眼鏡装着位置変更具および眼鏡
4日前
三菱電機株式会社
レンズモジュール
3日前
住友化学株式会社
積層体
10日前
住友化学株式会社
偏光板
6日前
住友化学株式会社
偏光板
6日前
日東電工株式会社
調光フィルム
11日前
新光電気工業株式会社
光導波路部品
3日前
日本精機株式会社
ヘッドアップディスプレイ装置
11日前
日本分光株式会社
赤外顕微鏡
17日前
住友化学株式会社
偏光積層体
6日前
旭化成株式会社
成形体
17日前
続きを見る
他の特許を見る