TOP
|
特許
|
意匠
|
商標
特許ウォッチ
Twitter
他の特許を見る
公開番号
2025152998
公報種別
公開特許公報(A)
公開日
2025-10-10
出願番号
2024055243
出願日
2024-03-29
発明の名称
端子
出願人
古河電気工業株式会社
代理人
個人
,
個人
主分類
H01R
11/12 20060101AFI20251002BHJP(基本的電気素子)
要約
【課題】長時間にわたり通電を繰り返した際の温度上昇を抑制できる端子を提供する。
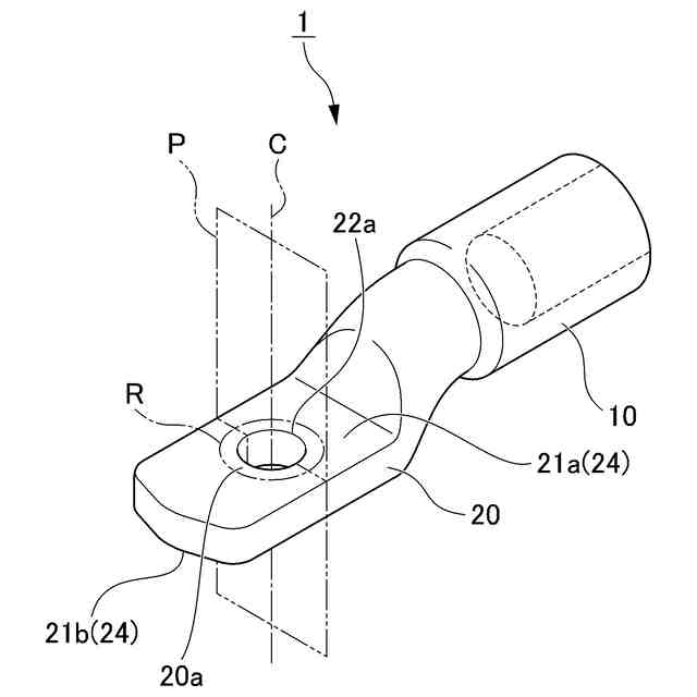
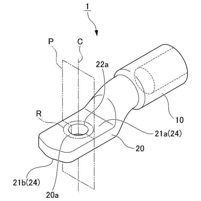
【解決手段】端子1は、アルミニウムまたはアルミニウム合金からなり、導線接続部10と、第1主面21a、および第1主面21aに対向する第2主面21bを有し、第1主面21aおよび第2主面21bを貫通する貫通孔22が形成されている板状部20とを備え、貫通孔22と、貫通孔22の孔径の1.5倍の直径を有する仮想同心円Rとによって区画される板状部20の環状部分20aが、所定の断面で見て、板状部20の板厚を4等分した4つの断面領域のうち、第1主面21aを含む第1断面領域と、第2主面21bを含む第2断面領域とで行なわれた結晶方位解析において、第1断面領域および第2断面領域におけるKAM値が1°以上4°未満の範囲にある測定点の割合が、それぞれの全測定点に対して、いずれも70%以上である。
【選択図】図1
特許請求の範囲
【請求項1】
アルミニウムまたはアルミニウム合金からなり、
導線と接続する導線接続部と、
前記導線接続部とは一体的に形成され、第1主面、および前記第1主面に対向する第2主面を有し、前記第1主面および前記第2主面を貫通する貫通孔が形成されている板状部と、
を備える端子であって、
前記貫通孔と、前記貫通孔の孔径の1.5倍の直径を有する仮想同心円とによって区画される前記板状部の環状部分は、前記貫通孔の中心軸線を含む仮想平面で切断したときの断面で見て、前記板状部の板厚を4等分して得られる4つの断面領域のうち、前記第1主面を含む第1断面領域と、前記第2主面を含む第2断面領域とで行なわれた、電子後方散乱回折(EBSD)法による結晶方位解析において、前記第1断面領域および前記第2断面領域におけるKAM値が1°以上4°未満の範囲にある測定点の割合が、それぞれの全測定点に対して、いずれも70%以上である、端子。
続きを表示(約 230 文字)
【請求項2】
前記結晶方位解析において、前記第1断面領域および第2断面領域におけるKAM値が1°以上2°未満の範囲にある測定点の割合が、それぞれの全測定点に対して、いずれも70%以上である、請求項1に記載の端子。
【請求項3】
前記第1主面および前記第2主面のうちの一方または両方の少なくとも一部に、Zn層、Sn層、Ni層、Ni-P層およびCu層からなる群から選択される1層以上の表面処理層を有する、請求項1または2に記載の端子。
発明の詳細な説明
【技術分野】
【0001】
本発明は、アルミニウムまたはアルミニウム合金からなる端子に関する。
続きを表示(約 2,300 文字)
【背景技術】
【0002】
通常、配電用電線には銅系導体および銅系端子が用いられている。近年では、軽量化の観点から、アルミニウム系導体が用いられることがある。また、アルミニウム系導体の端末接続には、アルミニウム系端子が用いられることがある。アルミニウム系導体にアルミニウム系端子を装着したアルミニウム系端子付きアルミニウム系導体ケーブルを接続部材にボルトなどで締結することによって、電気回路を形成し、電流を流すことができる。
【0003】
このうち、アルミニウム系端子として、例えば特許文献1には、導線と接続する導線接続部と、対向する第1主面から第2主面まで貫通する貫通孔を有し、第1主面および第2主面のうち接続部材に接触する少なくとも一方の主面の、負荷面積率0%の高さおよび負荷面積率10%の高さの差分を表す極点高さSxpが、0.30μm以上40.00μm以下である板状接続部とを備えるアルミニウム系端子が記載されており、かかる構成を採用することにより、板状接続部のうち接続部材に接触する主面の極点高さSxpを所定の範囲内に適切に制御することによって、繰り返し通電時における温度上昇量を抑制できるアルミニウム系端子を提供することができるとしている。
【先行技術文献】
【特許文献】
【0004】
特開2023-53682号公報
【発明の概要】
【発明が解決しようとする課題】
【0005】
アルミニウム系端子と接続部材との締結部は、通電の繰り返しによるアルミニウム系端子の温度変化によって、アルミニウム系端子に応力緩和が生じることで、アルミニウム系端子と接続部材の間における接触抵抗が増大するため、これらの締結部が発熱する恐れがあり、最悪の場合には発火事故を招く恐れがある。
【0006】
これに関し、特許文献1に記載されているアルミニウム系端子は、接続部材に接触する主面における表面形状を制御することで、通電を繰り返した際の温度上昇量を抑制しているが、接続部材に接触する主面を有する板状部(板状接続部)を構成するアルミニウム系導体の特性、特に結晶方位の制御などの観点では十分な検討がなされておらず、特にこの観点を考慮して、さらに長時間にわたり通電を繰り返した際の温度上昇量を抑制すべき点において、改善の余地があった。
【0007】
したがって、本発明は、上記問題点に鑑みてなされたものであり、板状部を構成するアルミニウム系導体の特性を制御し、それにより長時間にわたり通電を繰り返した際の温度上昇量を抑制できる端子を提供することを目的とする。
【課題を解決するための手段】
【0008】
本発明者らは、板状部を構成するアルミニウム系導体の特性について鋭意検討したところ、アルミニウム系導体の結晶組織を制御すること、より具体的に、板状部の貫通孔と、この貫通孔の孔径の1.5倍の直径を有する仮想同心円とによって区画される環状部分のうち、第1主面を含む第1断面領域と、第1主面に対向する第2主面を含む第2断面領域に含まれる測定点同士の結晶方位差を表すKAM値を制御することに着目し、これら第1断面領域および第2断面領域におけるKAM値が特定の範囲にある測定点の割合を、両方の断面領域において高くすることで、長時間にわたり通電を繰り返した際の温度上昇を抑制し、それにより端子の応力緩和を低減して接触抵抗を小さく維持できることを見出し、本発明を完成させるに至った。
【0009】
すなわち、本発明の要旨構成は、以下に示されるとおりである。
(1)アルミニウムまたはアルミニウム合金からなり、導線と接続する導線接続部と、前記導線接続部とは一体的に形成され、第1主面、および前記第1主面に対向する第2主面を有し、前記第1主面および前記第2主面を貫通する貫通孔が形成されている板状部と、を備える端子であって、前記貫通孔と、前記貫通孔の孔径の1.5倍の直径を有する仮想同心円とによって区画される前記板状部の環状部分は、前記貫通孔の中心軸線を含む仮想平面で切断したときの断面で見て、前記板状部の板厚を4等分して得られる4つの断面領域のうち、前記第1主面を含む第1断面領域と、前記第2主面を含む第2断面領域とで行なわれた、電子後方散乱回折(EBSD)法による結晶方位解析において、前記第1断面領域および前記第2断面領域におけるKAM値が1°以上4°未満の範囲にある測定点の割合が、それぞれの全測定点に対して、いずれも70%以上である、端子。
(2)前記結晶方位解析において、前記第1断面領域および第2断面領域におけるKAM値が1°以上2°未満の範囲にある測定点の割合が、それぞれの全測定点に対して、いずれも70%以上である、上記(1)に記載の端子。
(3)前記第1主面および前記第2主面のうちの一方または両方の少なくとも一部に、Zn層、Sn層、Ni層、Ni-P層およびCu層からなる群から選択される1層以上の表面処理層を有する、上記(1)または(2)に記載の端子。
【発明の効果】
【0010】
本発明によれば、板状部を構成するアルミニウム系導体の特性を制御し、それにより長時間にわたり通電を繰り返した際の温度上昇量を抑制できる端子を提供する
【図面の簡単な説明】
(【0011】以降は省略されています)
この特許をJ-PlatPat(特許庁公式サイト)で参照する
関連特許
古河電気工業株式会社
銅線
今日
古河電気工業株式会社
端子
4日前
古河電気工業株式会社
端子
5日前
古河電気工業株式会社
排水構造
11日前
古河電気工業株式会社
回路基板
8日前
古河電気工業株式会社
回路基板
8日前
古河電気工業株式会社
回路基板
11日前
古河電気工業株式会社
電気接続箱
11日前
古河電気工業株式会社
複合ケーブル
11日前
古河電気工業株式会社
複合ケーブル
6日前
古河電気工業株式会社
複合ケーブル
5日前
古河電気工業株式会社
複合ケーブル
5日前
古河電気工業株式会社
コネクタ接続構造
4日前
古河電気工業株式会社
光半導体モジュール
4日前
古河電気工業株式会社
レーダ装置の配置構造
4日前
古河電気工業株式会社
電子部品加工用テープ
4日前
古河電気工業株式会社
フラットケーブル組立体
4日前
古河電気工業株式会社
ウエハ加工用粘着テープ
5日前
古河電気工業株式会社
光モジュール、光接続構造
5日前
古河電気工業株式会社
レーザ装置および制御方法
4日前
古河電気工業株式会社
ワイヤハーネス用コネクタ
4日前
古河電気工業株式会社
バッテリーポスト端子組立体
11日前
古河電気工業株式会社
コネクタ及びコネクタ接続構造
4日前
古河電気工業株式会社
半導体ウェハ表面保護用テープ
4日前
古河電気工業株式会社
配線材、及び配線材の製造方法
6日前
古河電池株式会社
双極型蓄電池
5日前
古河電気工業株式会社
ポリオレフィン樹脂組成物及び配線材
6日前
古河電気工業株式会社
グロメット及びグロメット付ハーネス
今日
古河電気工業株式会社
通信システム、プログラム及び通信方法
5日前
古河電気工業株式会社
通信システム、プログラム及び通信方法
6日前
古河電気工業株式会社
通信システム、プログラム及び通信方法
6日前
古河樹脂加工株式会社
木質配合樹脂管
4日前
古河電気工業株式会社
樹脂組成物及びこれを用いた射出成型体
6日前
古河電気工業株式会社
フェルールホルダ、光接続構造、光モジュール
5日前
古河電気工業株式会社
配線材の製造方法及び製造装置、並びに、配線材
6日前
古河電気工業株式会社
配線材の製造方法及び製造装置、並びに、配線材
6日前
続きを見る
他の特許を見る