TOP
|
特許
|
意匠
|
商標
特許ウォッチ
Twitter
他の特許を見る
公開番号
2025148749
公報種別
公開特許公報(A)
公開日
2025-10-08
出願番号
2024049029
出願日
2024-03-26
発明の名称
磁気粘性流体装置
出願人
株式会社栗本鐵工所
代理人
KEY弁理士法人
主分類
F16D
37/02 20060101AFI20251001BHJP(機械要素または単位;機械または装置の効果的機能を生じ維持するための一般的手段)
要約
【課題】磁気粘性流体を介して部材間で伝達されるトルクの低下を抑制しながら小型化することができる磁気粘性流体装置を提供する。
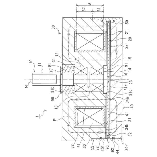
【解決手段】磁気粘性流体装置1は、回転軸10に固定された回転板20と、回転板20に第1隙間を介して対向する第1対向面および回転板20に第2隙間を介して対向する第2対向面を有するヨーク30,40と、第1,2隙間に充填された磁気粘性流体50と、通電時に磁路を形成するコイル60とを備える。非磁性体を用いたケーシング80が、ヨーク30,40の外周面の一部に外嵌され、ケーシング80はヨーク30の外周面においてコイル60が半径方向内方に存在する領域の一部を覆い、コイル内包領域の残余部を覆わないように配置され、軸線の方向から視て、ヨーク30の外周面のコイル内包領域の一部はヨーク30の外周面のコイル内包領域の残余部に対して、内接し又は内接することなく、内側に形成されている。
【選択図】図1
特許請求の範囲
【請求項1】
軸線回りに回転する回転軸に固定された回転板と、
前記回転板の一方の主面に第1隙間を介して対向する第1対向面、および、前記回転板の他方の主面に第2隙間を介して対向する第2対向面を有するヨークと、
前記第1隙間および前記第2隙間に充填された磁気粘性流体と、
通電時に、前記ヨーク、前記回転板および前記磁気粘性流体を通過する磁路を形成し、前記ヨーク内に収容され、前記軸線を周回する形状を有するコイルと、
を備え、
前記回転板が前記ヨークに対して回転可能に設けられた磁気粘性流体装置において、
非磁性体を用いて構成されたケーシングが、前記ヨークの外周面の一部に外嵌され、
前記ケーシングは、前記ヨークの外周面において前記コイルが半径方向内方に存在する領域(以下「コイル内包領域」という。)の一部を覆い、前記コイル内包領域の残余部を覆わないように配置され、
前記軸線の方向から視て、前記ヨークの外周面の前記コイル内包領域の前記一部が、前記ヨークの外周面の前記コイル内包領域の前記残余部に対して、内接し又は内接することなく、内側に形成されている、
ことを特徴とする磁気粘性流体装置。
続きを表示(約 570 文字)
【請求項2】
請求項1に記載の磁気粘性流体装置であって、
前記ヨークは、
前記第1対向面が形成され、前記コイルが収容される第1ヨークと、
前記第2対向面が形成された第2ヨークと、を有し、
前記ケーシングは、前記第1ヨークの外周面の前記コイル内包領域の前記一部と、前記第2ヨークの外周面の少なくとも一部とに外嵌されている、
ことを特徴とする磁気粘性流体装置。
【請求項3】
請求項2に記載の磁気粘性流体装置であって、
前記第1ヨークにおいて、前記ケーシングの内周面と前記コイルの外周面とによって半径方向に挟まれた部分に、前記コイルの通電時に形成される磁気回路において磁気抵抗が最大となる部分が存在する、
ことを特徴とする磁気粘性流体装置。
【請求項4】
請求項1~3のいずれか1項に記載の磁気粘性流体装置であって、
前記コイルと前記回転板との間に前記ヨークの部位が配置されていない、
ことを特徴とする磁気粘性流体装置。
【請求項5】
請求項1~3のいずれか1項に記載の磁気粘性流体装置であって、
前記コイルと前記回転板との間に前記ヨークの部位が配置されている、
ことを特徴とする磁気粘性流体装置。
発明の詳細な説明
【技術分野】
【0001】
本発明は、相対回転可能に設けられた部材間に磁気粘性流体を介在させ、当該磁気粘性流体に付与する磁場の強さを変えることにより、上記部材間で伝達されるトルクを可変とする磁気粘性流体装置に関する。
続きを表示(約 1,700 文字)
【背景技術】
【0002】
この種の磁気粘性流体装置は、例えば特許文献1,2に開示されている。特許文献1に開示されている磁気粘性流体装置、および、特許文献2に開示されている回転制動装置(磁気粘性流体装置)は、回転板と、回転板の両面にそれぞれ対向配置されたヨークとを備える。2つのヨークは非磁性体からなる筒形状のケーシングによって互いに連結されて固定されている。
【0003】
これらの磁気粘性流体装置は、回転板とヨークとの間には、微小寸法の隙間が形成され、当該隙間に磁気粘性流体が充填されている。そして、回転板の両面に対向配置されたヨークの間に、回転板および磁気粘性流体を貫通する磁場が形成されることで、磁気粘性流体が磁場の強さに応じた粘度を発現し、回転板とヨークとの間で磁場の強さに応じたトルクが伝達される。
【先行技術文献】
【特許文献】
【0004】
特開2022-109155号公報
特開2014-181778号公報
【発明の概要】
【発明が解決しようとする課題】
【0005】
近年、外径寸法が小さく小型化された磁気粘性流体装置の需要が高まりつつある。特許文献1,2に開示された磁気粘性流体装置のように、非磁性体からなるケーシングを備えた磁気粘性流体装置の外径寸法を小さくする場合、ケーシングの厚みを薄くしたり、ケーシングの外径を小さくすることが考えられる。しかし、必要な強度を確保するために、ケーシングの厚みを薄くできない場合は、ケーシングの肉厚を維持したまま、ケーシングの外径および内径を小さくし、さらに、ケーシングの内側にあるヨークの外径も小さくする必要がある。
【0006】
しかし、ヨークの外径を一律に小さくすると、磁気粘性流体装置内で形成される磁気回路の磁気抵抗が増加し、磁気粘性流体に磁場を印加した際に、磁気粘性流体を介して回転板とヨークとの間で伝達されるトルクが小さくなってしまう。
【0007】
本発明は、かかる課題に鑑みて創案されたものであり、磁気粘性流体を介して部材間(例えば回転板とヨークとの間)で伝達されるトルクの低下を抑制しながら小型化することができる磁気粘性流体装置を提供することを目的とする。
【課題を解決するための手段】
【0008】
本発明の第1の態様に係る磁気粘性流体装置は、軸線回りに回転する回転軸に固定された回転板と、前記回転板の一方の主面に第1隙間を介して対向する第1対向面、および、前記回転板の他方の主面に第2隙間を介して対向する第2対向面を有するヨークと、前記第1隙間および前記第2隙間に充填された磁気粘性流体と、通電時に、前記ヨーク、前記回転板および前記磁気粘性流体を通過する磁路を形成し、前記ヨーク内に収容され、前記軸線を周回する形状を有するコイルと、を備える。回転板が前記ヨークに対して回転可能に設けられている。非磁性体を用いて構成されたケーシングが、前記ヨークの外周面の一部に外嵌される。前記ケーシングは、前記ヨークの外周面において前記コイルが半径方向内方に存在する領域(以下「コイル内包領域」という。)の一部を覆い、前記コイル内包領域の残余部を覆わないように配置される。前記軸線の方向から視て、前記ヨークの外周面の前記コイル内包領域の前記一部が、前記ヨークの外周面の前記コイル内包領域の前記残余部に対して、内接し又は内接することなく、内側に形成されている。
【0009】
かかる構成を備える磁気粘性流体装置によれば、非磁性体であるケーシングによる磁路への影響を低減することができる。
【0010】
本発明の第2の態様に係る磁気粘性流体装置は、第1の態様に係る磁気粘性流体装置において、前記ヨークは、前記第1対向面が形成され、前記コイルが収容される第1ヨークと、前記第2対向面を有する第2ヨークと、を有する。前記ケーシングは、前記第1ヨークの外周面の前記コイル内包領域の前記一部と、前記第2ヨークの外周面の少なくとも一部とに外嵌されている。
(【0011】以降は省略されています)
この特許をJ-PlatPat(特許庁公式サイト)で参照する
関連特許
個人
鍋虫ねじ
1か月前
個人
紛体用仕切弁
1か月前
個人
回転伝達機構
2か月前
個人
ホース保持具
5か月前
個人
差動歯車用歯形
3か月前
個人
給排気装置
4日前
個人
ジョイント
22日前
個人
地震の揺れ回避装置
2か月前
株式会社不二工機
電磁弁
4か月前
個人
ナット
23日前
株式会社不二工機
電磁弁
3か月前
個人
吐出量監視装置
1か月前
カヤバ株式会社
ダンパ
3か月前
カヤバ株式会社
ダンパ
3か月前
カヤバ株式会社
緩衝器
3か月前
カヤバ株式会社
緩衝器
3か月前
カヤバ株式会社
緩衝器
3日前
柿沼金属精機株式会社
分岐管
1か月前
日東電工株式会社
断熱材
5か月前
株式会社ニフコ
クリップ
8日前
個人
固着具と固着具の固定方法
4か月前
株式会社フジキン
ボールバルブ
4か月前
株式会社ノーリツ
分配弁
5か月前
株式会社ノーリツ
分配弁
5か月前
株式会社ノーリツ
分配弁
5か月前
株式会社不二工機
電動弁
4日前
株式会社不二工機
電磁弁
1か月前
個人
固着具と固着具の固定方法
4か月前
株式会社奥村組
制振機構
12日前
株式会社ノーリツ
分配弁
8日前
個人
固着具と固着具の固定方法
4か月前
アズビル株式会社
回転弁
16日前
株式会社タカギ
水栓装置
2か月前
株式会社奥村組
制振機構
12日前
個人
誘導電流活用式差動制限装置
8日前
株式会社不二越
転がり軸受
1か月前
続きを見る
他の特許を見る