TOP
|
特許
|
意匠
|
商標
特許ウォッチ
Twitter
他の特許を見る
公開番号
2025148881
公報種別
公開特許公報(A)
公開日
2025-10-08
出願番号
2024049217
出願日
2024-03-26
発明の名称
配線材の製造方法及び製造装置、並びに、配線材
出願人
古河電気工業株式会社
代理人
弁理士法人クオリオ
,
個人
,
個人
,
個人
主分類
H01B
13/14 20060101AFI20251001BHJP(基本的電気素子)
要約
【課題】外観特性に優れた被覆層を備えた配線材を、押出温度を高めても、ボイドの発生を抑制しながら連続的に製造できる配線材の製造方法及び製造装置、並びに、配線材を提供する。
【解決手段】重合体混合物を押出機に導入して導体の外周面上に被覆し、次いで、得られた被覆導体を押出機から加圧環境下に直接導入して冷却した後に、被覆導体の外径よりも大きな最小径を有し、かつ開口面積が被覆導体の断面積よりも1.0~70mm
2
大きな導出穴から加圧環境下に存在する少なくとも気体状媒体を噴出させながら被覆導体を常圧環境下に導出する配線材の製造方法及びこれに用いる製造装置、並びに、上記製造装置を用いて製造された配線材。
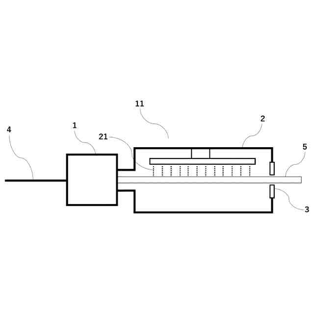
【選択図】図1
特許請求の範囲
【請求項1】
導体の外周面に重合体混合物で形成された被覆層を備えた配線材の製造方法であって、
前記重合体混合物を押出機に導入して前記導体の外周面上に被覆し、
得られた被覆導体を押出機から常圧より高圧の加圧環境下に直接導入して、当該加圧環境下において前記被覆導体を冷却した後に、前記被覆導体の外径よりも大きな最小径を有し、かつ開口面積が前記被覆導体の断面積よりも1.0~70mm
2
大きな導出穴から、前記加圧環境下に存在する少なくとも気体状媒体を噴出させながら前記被覆導体を常圧環境下に導出する、配線材の製造方法。
続きを表示(約 840 文字)
【請求項2】
前記加圧環境下の圧力が常圧より0.05~0.25MPa高圧である、請求項1に記載の製造方法。
【請求項3】
前記加圧環境下の圧力が、常圧より、空気圧縮機のゲージ圧(一次圧力)の5~90%だけ高圧である、請求項1に記載の製造方法。
【請求項4】
前記加圧環境下において前記被覆導体を液体媒体で冷却する、請求項1に記載の製造方法。
【請求項5】
前記加圧環境下において前記被覆導体の表面温度が100℃以下となるまで冷却する、請求項1に記載の製造方法。
【請求項6】
前記加圧環境下から前記常圧環境下に前記被覆導体を導出する際に、前記加圧環境下の圧力と前記常圧環境下の圧力との圧力差を利用して、前記加圧環境下に存在する前記液状媒体を前記気体状媒体とともに噴出させる、請求項4に記載の製造方法。
【請求項7】
前記加圧環境下の圧力が常圧より0.10~0.20MPa高圧である、請求項1に記載の製造方法。
【請求項8】
前記加圧環境下において前記被覆導体の表面温度が80℃以下となるまで冷却する、請求項1に記載の製造方法。
【請求項9】
導体の外周面に重合体混合物の被覆層を備えた配線材の製造装置であって、
前記重合体混合物を前記導体の外周面上に被覆する押出機と、
前記押出機に直接接続され、加圧機構及び冷却機構を有する加圧冷却部とを備え、
前記加圧冷却部内を通過してきた前記被覆導体を常圧環境下に導出する導出部が、前記被覆導体の外径よりも大きな最小径を有し、かつ開口面積が前記被覆導体の断面積よりも1.0~70mm
2
大きな導出穴を有している、製造装置。
【請求項10】
前記導出穴が穴径の大きさを調整する機能を有している、請求項9に記載の製造装置。
(【請求項11】以降は省略されています)
発明の詳細な説明
【技術分野】
【0001】
本発明は、配線材の製造方法及び製造装置、並びに、配線材に関する。
続きを表示(約 2,400 文字)
【背景技術】
【0002】
電気・電子機器分野や産業分野に使用される、絶縁電線、ケーブル、コード、光ファイバー心線又は光ファイバーコード(光ファイバーケーブル)等の配線材は、導体の外周面に被覆層(絶縁層、シース等)を有している。配線材の被覆層は、通常、樹脂組成物又はゴム組成物で形成されている。
【0003】
このような配線材を製造する場合、一般的には、導体の外周面上に樹脂組成物やゴム組成物(以下、樹脂組成物等という。)を押出被覆しながら常圧環境下に導出(押出)した後に冷却して被覆層を形成して、配線材とする。ところが、このような常圧環境下において、樹脂組成物等を押出被覆して冷却すると、種々の要因によって、被覆層中にボイド(気泡や層間剥離等による空隙)が発生することが知られている。ボイドの存在(発生)は被覆層(配線材)の電気特性や機械特性の低下といった様々な問題を引き起こす。そのため、樹脂組成物等を押出被覆した後に加圧環境下で冷却(加圧冷却)し、被覆層中でのボイドの発生を抑制する方法が検討されてきた。
例えば、特許文献1は、堰により仕切られ且つ押出被覆された絶縁電線を冷却水中に走線させて冷却するための冷却水槽と、この冷却水槽からの流出水が導かれる排水槽とを備えた冷却装置が加圧可能状態になっている製造装置を用いて、芯線上に絶縁材料が押出被覆された絶縁電線を加圧冷却して、絶縁電線を製造する方法を提案している。特許文献1の製造方法においては、出口側にシール部として設けたパッキンの穴と絶縁電線とのクリアランスを最小限にとどめて内圧の低下を抑制した冷却装置を用い、圧力を0.03MPa以上の高圧とすればボイドの発生が抑制できるとされている。
【0004】
なお、特許文献2は、被覆層中でのボイドの発生を抑制するものではないが、樹脂組成物等を撚合せケーブル線芯の直上にシース材を充実押出成形した後に加圧冷却雰囲気下で冷却固化せしめる、シースケーブルの製造方法を提案している。特許文献2の製造方法においても、加圧冷却装置本体の後部にはケーブル外径と略同等の孔を開けたパッキンをシールとして設けている。
【先行技術文献】
【特許文献】
【0005】
特開2004-259671号公報
特開平5-250943号公報
【発明の概要】
【発明が解決しようとする課題】
【0006】
特許文献1及び2の製造方法では、押出機のヘッド部と直結した加圧冷却装置内を、樹脂組成物等で被覆した導体を通過させることにより、加圧環境下において、導体を被覆している樹脂組成物等の被覆層を冷却している。
【0007】
ところで、配線材の製造においては、樹脂組成物等を導体の外周面に押出被覆する際の押出温度を高く設定することもある。例えば、樹脂組成物等の溶融粘度を低減させることで、押出機の負荷低減を目的とする場合である。また、近年、配線材の要求特性の多様化や高度化等により、被覆層を形成する樹脂組成物等も多岐にわたっており、例えば、被覆層の強度、耐摩耗性及び耐熱性の高度化に対応すべく、一般的なポリエチレン等よりも高融点の樹脂を使用する場合である。このような場合に押出温度を高く設定すると、圧冷却装置を延長する等の対策を講じなければ、被覆層の冷却が不十分となる。その結果、加圧冷却装置から導出され、常圧環境下に開放された際に被覆層中にボイドが発生する虞がある。また、半溶融状態の被覆層が加圧冷却装置の出口(シール部)と接触することにより、被覆層の表面に傷が生じ、場合によっては配線材から剥がれた被覆層の詰まりが生じて断線する虞がある。
【0008】
また、特許文献1のように、水槽を用いて冷却する場合、押出温度を高温化する際には、被覆層に外径異常が発生しやすく、これが水槽の水位を保つための堰と接触して、配電材の表面に傷が生じ、場合によっては被覆層が破れて堰部分に材料が溜まって、製造の一時中断、更には断線等の異常の原因となる虞がある。
しかし、特許文献1及び2においては、上述の押出温度の高温化についても、またこれに起因するボイドの発生及び傷付きを抑制する観点についても、検討されていない。
【0009】
本発明は、外観特性に優れた被覆層を備えた配線材を、押出温度を高めても、ボイドの発生及び傷付きを抑制しながら連続的に製造できる、配線材の製造方法及び製造装置を提供することを課題とする。また、本発明は、上記製造装置を用いて製造された配線材を提供することを課題とする。
【課題を解決するための手段】
【0010】
本発明者らは、重合体混合物を導体の外周面上に押出被覆した被覆導体を高圧の加圧環境下において加圧冷却して配線材を製造する方法について、ボイド及び傷付きの発生に関して鋭意検討したところ、被覆導体を加圧環境下から常圧環境下に導出する際の導出穴(導出孔)の大きさがボイドの発生や膨張にも影響を与え、かつ傷付きの主要因となることを見出した。この知見に基づいて、本発明者らは引き続き検討を行ったところ、導出穴を被覆導体に対して所定量大きく設定することにより、加圧環境下において加圧冷却した被覆導体(被覆層)を常圧環境下に導出する際に、加圧環境下の圧力と常圧環境下の圧力との圧力差を利用して加圧環境下に存在(圧縮充填)する気体状媒体を被覆導体の導出ととともに噴出させることができ、その結果、被覆導体(被覆層)を効率よく冷却することができ、ボイド及び傷付の発生を抑制できることを見出した。本発明者らはこの知見に基づき更に研究を重ね、本発明をなすに至った。
(【0011】以降は省略されています)
この特許をJ-PlatPat(特許庁公式サイト)で参照する
関連特許
古河電気工業株式会社
銅線
4日前
古河電気工業株式会社
端子
9日前
古河電気工業株式会社
端子
8日前
古河電気工業株式会社
複合ケーブル
9日前
古河電気工業株式会社
コネクタ接続構造
8日前
古河電気工業株式会社
光半導体モジュール
8日前
古河電気工業株式会社
レーダ装置の配置構造
8日前
古河電気工業株式会社
ワイヤハーネス組立体
3日前
古河電気工業株式会社
電子部品加工用テープ
8日前
古河電気工業株式会社
ウエハ加工用粘着テープ
9日前
古河電気工業株式会社
フラットケーブル組立体
8日前
古河電気工業株式会社
ワイヤハーネス用コネクタ
8日前
古河電気工業株式会社
レーザ装置および制御方法
8日前
古河電気工業株式会社
半導体ウェハ表面保護用テープ
8日前
古河電気工業株式会社
コネクタ及びコネクタ接続構造
8日前
古河電気工業株式会社
グロメット及びグロメット付ハーネス
4日前
古河電気工業株式会社
通信システム、プログラム及び通信方法
9日前
古河樹脂加工株式会社
木質配合樹脂管
8日前
古河電気工業株式会社
センサシステム、センシング方法およびプログラム
8日前
古河電気工業株式会社
止水カバー付グロメット及び止水カバー付ハーネス
4日前
株式会社UACJ
磁気ディスク用アルミニウム合金板及び磁気ディスク
2日前
古河電気工業株式会社
フラットケーブル組立体、回転コネクタ装置、及び、スライドドアハーネス
8日前
古河電気工業株式会社
フィルム状接着剤、その硬化フィルムを具備する積層レンズ、フィルム状接着剤用のドープ
9日前
古河電気工業株式会社
樹脂組成物、樹脂被覆材、絶縁電線、絶縁電線の製造方法、自動車用ワイヤーハーネス及び自動車用ワイヤーハーネスの製造方法
8日前
古河電気工業株式会社
フィルム状接着剤、接着剤用組成物、ダイシング・ダイアタッチフィルム、並びに半導体パッケージ及び半導体パッケージの製造方法
9日前
日本発條株式会社
積層体
19日前
個人
フレキシブル電気化学素子
8日前
ローム株式会社
半導体装置
17日前
ローム株式会社
半導体装置
15日前
ローム株式会社
半導体装置
17日前
日新イオン機器株式会社
イオン源
4日前
株式会社ユーシン
操作装置
8日前
個人
防雪防塵カバー
19日前
ローム株式会社
半導体装置
10日前
ローム株式会社
半導体装置
17日前
株式会社GSユアサ
蓄電設備
8日前
続きを見る
他の特許を見る