TOP
|
特許
|
意匠
|
商標
特許ウォッチ
Twitter
他の特許を見る
10個以上の画像は省略されています。
公開番号
2025148966
公報種別
公開特許公報(A)
公開日
2025-10-08
出願番号
2024049367
出願日
2024-03-26
発明の名称
供試魚投入装置
出願人
株式会社神鋼環境ソリューション
代理人
個人
主分類
A01K
61/95 20170101AFI20251001BHJP(農業;林業;畜産;狩猟;捕獲;漁業)
要約
【課題】供試魚を水と共に所定の供試魚保持部に投入するための供試魚投入装置において、供試魚に与える負担を軽減して供試魚保持部に対して安定した姿勢で供試魚を投入可能としながら、供試魚保持部の内部に対する供試魚の投入作業の作業性を向上する。
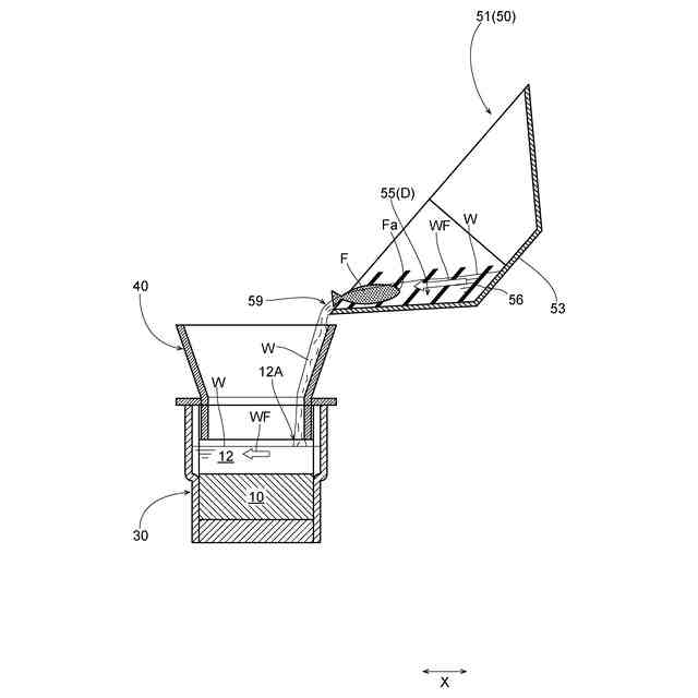
【解決手段】内部に供試魚Fを水Wと共に収容可能な有底筒状の容器本体51で構成され、容器本体51を傾けて当該容器本体51の収容物を所定の供試魚保持部12に注ぐ容器傾斜投入操作が実行されることにより、当該容器本体51の内部に収容されている供試魚Fが、容器本体51の上縁部に位置する所定の放出縁部59から水Wと共に放出されて供試魚保持部12に投入され、容器傾斜投入操作の実行時に、容器本体51の内部からの水Wの放出完了前の供試魚Fの放出を促す供試魚放出促進部Dを備える。
【選択図】図14
特許請求の範囲
【請求項1】
供試魚を水と共に所定の供試魚保持部に投入するための供試魚投入装置であって、
内部に供試魚を水と共に収容可能な有底筒状の容器本体で構成され、
前記容器本体を傾けて当該容器本体の収容物を所定の供試魚保持部に注ぐ容器傾斜投入操作が実行されることにより、当該容器本体の内部に収容されている供試魚が、当該容器本体の上縁部に位置する所定の放出縁部から水と共に放出されて前記供試魚保持部に投入され、
前記容器傾斜投入操作の実行時に、前記容器本体の内部からの水の放出完了前の供試魚の放出を促す供試魚放出促進部を備える供試魚投入装置。
続きを表示(約 880 文字)
【請求項2】
前記容器本体の内壁面側に、前記放出縁部から下方に向けて前記供試魚の全長以上の長さに延在する溝状の供試魚放出促進溝部が形成されており、
前記供試魚放出促進溝部が、前記容器傾斜投入操作の実行時に、前記供試魚を前記放出縁部に向けて案内すると共に当該放出縁部に向かう水流が形成されることで、前記供試魚放出促進部として機能する請求項1に記載の供試魚投入装置。
【請求項3】
前記容器本体の内壁面側において、前記供試魚放出促進溝部の底部が、当該供試魚放出促進溝部を挟む両側の部位よりも、上方ほど外方に傾斜するように形成されている請求項2に記載の供試魚投入装置。
【請求項4】
前記容器本体の内部を、前記供試魚が収容されて前記放出縁部に通じる上方側の供試魚収容空間と、前記供試魚が収容されずに水のみが収容されて前記放出縁部に通じる下方側の水収容空間とに仕切る仕切体が、前記放出縁部に向けて上向きに傾斜する姿勢で前記容器本体の内部に設けられており、
前記仕切体が、前記容器傾斜投入操作の実行時において、前記容器本体の内壁面よりも前に前記放出縁部側に向けて下る放出傾斜状態になることで、前記供試魚放出促進部として機能する請求項1に記載の供試魚投入装置。
【請求項5】
前記仕切体を、前記水収容空間から前記放出縁部への連通部分を閉鎖する放出縁部閉鎖姿勢と、前記水収容空間から前記放出縁部への連通部分を開放する放出縁部開放姿勢との間で揺動自在に支持する仕切体揺動支持部を備え、
前記容器傾斜投入操作の実行時において、前記供試魚収容空間に収容されている供試魚の放出前の段階では、前記仕切体が前記放出縁部閉鎖姿勢となって前記水収容空間に収容されている水の前記放出縁部からの放出が抑制され、前記供試魚収容空間に収容されている供試魚の放出後の段階では、前記仕切体が前記放出縁部開放姿勢となって前記水収容空間に収容されている水の前記放出縁部からの放出が許容される請求項4に記載の供試魚投入装置。
発明の詳細な説明
【技術分野】
【0001】
本発明は、供試魚を水と共に所定の供試魚保持部に投入するための供試魚投入装置に関する。
続きを表示(約 3,300 文字)
【背景技術】
【0002】
近年、ゼブラフィッシュが実験対象動物として非常に注目されている。ゼブラフィッシュのような供試魚を用いた動物実験では、例えば、経口投与などの所定の処置を供試魚に施す際に供試魚を保持するにあたり、供試魚に与えるストレスやダメージを最小限に抑えて、つまり、体表面などに損傷を与えず、火傷の症状を引き起こすこともなく、できるだけ優しく供試魚を保持することが重要な課題となる。
そこで、供試魚に与えるストレスやダメージを極力抑制して、供試魚保持部としての保持用溝に投入された供試魚を所定の姿勢で確実に保持することができる供試魚保持装置が提案されている(例えば特許文献1参照)。
更に、特許文献1には、供試魚を水と共に所定の供試魚保持部に投入するための供試魚投入装置が記載されている。かかる特許文献1記載の供試魚投入装置は、柔軟性を有する保持具に供試魚保持部として形成された保持用溝に対し、供試魚を水と共に誘導するための傾斜パイプ部材を備える。即ち、この傾斜パイプ部材は、水平に対して傾斜されており、上端部分が上向きに開口する投入口として構成され、下端部分が保持用溝の内部に向けて下向きに開口する流出口として構成されている。そして、傾斜パイプ部材の投入口に対して水と共に供試魚を投入すると、その投入された供試魚は、傾斜パイプ部材の内部に形成される水流に乗って流出口に導かれて、当該流出口から保持用溝の内部に向けて水と共に放出されることになる。この供試魚投入装置では、供試魚の姿勢を傾斜パイプ部材の内部を水流に乗って通過させることで適度に安定させることができ、安定した姿勢のままで供試魚を水と共に保持用溝に向けて放出して、当該保持用溝の内部に保持させることができる。
【先行技術文献】
【特許文献】
【0003】
国際公開第2022/210397号
【発明の概要】
【発明が解決しようとする課題】
【0004】
上述の特許文献1記載の供試魚投入装置は、比較的高い位置に配置された投入口の高さまで供試魚を持ち上げるという作業や、保持用溝に供試魚が投入された保持具を取り出す際に干渉する傾斜パイプ部材を保持具の上方から一時的に退避させるという作業が必要となる。このような作業は、少数の供試魚に対して経口投与する場合には問題にはならない程度に僅かなものであるが、多数の供試魚に対して経口投与を行う場合などでは、より作業効率を向上するために軽減することが望まれる。
この実情に鑑み、本発明の主たる課題は、供試魚を水と共に所定の供試魚保持部に投入するための供試魚投入装置において、供試魚に与える負担を軽減して供試魚保持部に対して安定した姿勢で供試魚を投入可能としながら、供試魚保持部の内部に対する供試魚の投入作業の作業性を向上するための技術を提供する点にある。
【課題を解決するための手段】
【0005】
本発明の第1特徴構成は、供試魚を水と共に所定の供試魚保持部に投入するための供試魚投入装置であって、
内部に供試魚を水と共に収容可能な有底筒状の容器本体で構成され、
前記容器本体を傾けて当該容器本体の収容物を所定の供試魚保持部に注ぐ容器傾斜投入操作が実行されることにより、当該容器本体の内部に収容されている供試魚が、当該容器本体の上縁部に位置する所定の放出縁部から水と共に放出されて前記供試魚保持部に投入され、
前記容器傾斜投入操作の実行時に、前記容器本体の内部からの水の放出完了前の供試魚の放出を促す供試魚放出促進部を備える点にある。
【0006】
本構成によれば、上記供試魚放出促進部を備えることにより、上記容器傾斜投入操作の実行時において、容器本体の内部に収容されている水の放出縁部からの放出完了前において、容器本体の内部に収容されている供試魚の放出縁部からの放出が促されることになる。このことで、供試魚保持部に対する供試魚の投入作業が容易になるので、作業性を向上することができる。更に、供試魚保持部に対する供試魚の投入時以降においても、一定時間継続して水を投入し続けることができる。このことで、供試魚保持部の内部に保持された供試魚を少なくとも一定時間水に浸された状態に保ち、当該供試魚を暴れることなく落ち着かせて、供試魚に与えるストレスやダメージを軽減することができる。更に、供試魚保持部の内部に水を滞留させることができる場合には、供試魚保持部の内部の保持された供試魚を、泳力が発揮できる程度の水深になるように適度に水に浸した状態にしながら、供試魚保持部の延在方向に沿った水流を形成することができる。そして、魚は一般的に水流に逆らって泳ぐ習性があることから、供試魚保持部の内部に投入された供試魚の姿勢を水流に逆らう姿勢に安定させることができる。
従って、本発明により、供試魚を水と共に所定の供試魚保持部に投入するための供試魚投入装置において、供試魚に与える負担を軽減して供試魚保持部に対して安定した姿勢で供試魚を投入可能としながら、供試魚保持部の内部に対する供試魚の投入作業の作業性を向上するための技術を提供することができる。
【0007】
本発明の第2特徴構成は、前記容器本体の内壁面側に、前記放出縁部から下方に向けて前記供試魚の全長以上の長さに延在する溝状の供試魚放出促進溝部が形成されており、
前記供試魚放出促進溝部が、前記容器傾斜投入操作の実行時に、前記供試魚を前記放出縁部に向けて案内すると共に当該放出縁部に向かう水流が形成されることで、前記供試魚放出促進部として機能する点にある。
【0008】
本構成によれば、容器傾斜投入操作の実行時において、容器本体を傾け始めると、当該容器本体の内部に収容されている供試魚が供試魚放出促進溝部に入ることで、当該供試魚の姿勢を供試魚放出促進溝部に沿った姿勢に保持することができる。そして、容器本体の傾斜角度(鉛直方向に対する容器本体の軸芯の角度)を増加させて放出縁部からの水の放出が開始されると、供試魚放出促進溝部には供試魚が泳力を発揮できる程度の水深を保ちながら放出縁部に向かう水流が形成されることになるので、供試魚放出促進溝部において供試魚を水流に逆らう姿勢に安定させることができる。更に、容器本体の傾斜角度を増加させると、供試魚放出促進溝部における水流が強くなるので、その強い水流により、容器本体の内部からの水の放出完了前において、放出縁部から供試魚を安定した姿勢を保ったまま尾びれから放出させることができ、更に、供試魚保持部に対して供試魚を投入した後においても継続して一層良好に水を投入し続けることができる。
【0009】
本発明の第3特徴構成は、前記容器本体の内壁面側において、前記供試魚放出促進溝部の底部が、当該供試魚放出促進溝部を挟む両側の部位よりも、上方ほど外方に傾斜するように形成されている点にある。
【0010】
本構成によれば、容器傾斜投入操作の実行時において、供試魚放出促進溝部の底部が、供試魚放出促進溝部を挟む両側の部位よりも前に、放出縁部側に向けて下る放出傾斜状態になる。このことで、容器本体の内部に収容されている水が放出縁部から放出されつくす(容器本体の内部からの水の放出完了)前に、容器本体の内部に収容されている供試魚が、供試魚放出促進溝部に保持された状態で供試魚放出促進溝部を挟む両側の部位よりも前に放出傾斜状態となった供試魚放出促進溝部の底部に沿って放出縁部から放出されるので、容器本体の内部からの水の放出完了前において供試魚の放出縁部からの放出が促進されることになる。そして、供試魚保持部に対して供試魚を投入した後においても継続して一層良好に水を投入し続けることができる。
(【0011】以降は省略されています)
この特許をJ-PlatPat(特許庁公式サイト)で参照する
関連特許
個人
虫捕り器
11日前
個人
刈込鋏保持具
7日前
個人
後付巻降ろし器
11日前
個人
飼育容器
21日前
個人
イカ釣り用ヤエン
11日前
株式会社丹勝
緑化工法
8日前
井関農機株式会社
作業車両
1日前
株式会社シマノ
釣竿
11日前
井関農機株式会社
作業車両
9日前
井関農機株式会社
作業車両
11日前
井関農機株式会社
作業車両
1日前
井関農機株式会社
作業車両
11日前
個人
水耕栽培システム
21日前
大栄工業株式会社
捕獲器
1日前
井関農機株式会社
作業車両
7日前
井関農機株式会社
作業車両
21日前
松山株式会社
農作業機
7日前
個人
伸縮する草刈り機の可動装置。
11日前
松山株式会社
農作業機
21日前
個人
妻面トラス梁付き園芸用ハウス
23日前
トヨタ自動車株式会社
育苗装置
8日前
個人
飼育水槽用の浄化装置
15日前
スガノ農機株式会社
圃場作業装置
8日前
グローブライド株式会社
釣竿
1日前
株式会社デンソー
農業用装置
3日前
グローブライド株式会社
釣竿
2日前
株式会社小川農具製作所
穴明け装置
2日前
井関農機株式会社
コンバイン
8日前
高知県種苗緑化協同組合
幼齢木保護具
21日前
グローブライド株式会社
魚釣用リール
23日前
グローブライド株式会社
魚釣用リール
今日
株式会社サンメイト
動物用排尿処理材
21日前
グローブライド株式会社
釣用のルアー
3日前
株式会社クボタ
コンバイン
2日前
株式会社クボタ
コンバイン
2日前
株式会社クボタ
圃場作業車
1か月前
続きを見る
他の特許を見る