TOP
|
特許
|
意匠
|
商標
特許ウォッチ
Twitter
他の特許を見る
公開番号
2025149298
公報種別
公開特許公報(A)
公開日
2025-10-08
出願番号
2024049848
出願日
2024-03-26
発明の名称
壁パネル構造
出願人
株式会社田窪工業所
代理人
弁理士法人山内特許事務所
主分類
E04B
2/72 20060101AFI20251001BHJP(建築物)
要約
【課題】物置の内部への雨水の進入を防止できる壁パネル構造を提供する。
【解決手段】複数枚のパネル単体1,1を互いに連結する壁パネル構造であって、パネル単体1は、その一側縁において断面コ形に形成された第1係合板3と、同壁パネル単体の他側縁において断面コ形に形成された第2係合板4とを備えており、一方のパネル単体1の第1係合板3に他方の壁パネル単体1の第2係合板4を被せて係合するよう構成されている。係合した状態の第1係合板3と第2係合板4の間には、隣接するパネル単体1,1の隙間から進入した雨水を下方に流す通水空間10が設けられている。隣接するパネル単体1,1の隙間から進入した雨水は通水空間10により重力によって下方に流して、地上に排出することができる。このため物置内の収容物を濡らすことがない。
【選択図】図1
特許請求の範囲
【請求項1】
複数枚のパネル単体を互いに連結して壁パネルを構成する壁パネル構造であって、
パネル単体は、その一側縁において断面コ形に形成された第1係合板と、同壁パネル単体の他側縁において断面コ形に形成された第2係合板とを備えており、
隣接する一対のパネル単体のうち、一方のパネル単体の第1係合板に他方の壁パネル単体の第2係合板を被せて係合するよう構成されており、
係合した状態の第1係合板と第2係合板の間には、隣接するパネル単体の隙間から進入した雨水を下方に流す通水空間が設けられている
ことを特徴とする壁パネル構造。
続きを表示(約 500 文字)
【請求項2】
前記第1係合板が、前記パネル単体に連続する折り板部と該折り板部に連続する背面板部と該背面板部に連続する遊端板部とから断面コ形に形成されており、
前記第2係合板が、前記パネル単体に連続する折り板部と該折り板部に連続する背面板部と該背面板部に連続する遊端板部とから断面コ形に形成されており、
前記通水空間は、前記第1係合板の前記折り板部と前記背面板部との間を傾斜板部で連結して前記第2係合板との間に形成した空間である
ことを特徴とする請求項1記載の壁パネル構造。
【請求項3】
前記第1係合板と前記第2係合板とは、
両係合板のそれぞれの背面板部に通したボルトで結合されている
ことを特徴とする請求項2記載の壁パネル構造。
【請求項4】
前記第1係合板および前記第2係合板それぞれの前記折り板部は、いずれもパネル単体のパネル面に対して直角に屈曲しており、
前記遊端板部は、いずれもパネル単体のパネル面に対して同じ傾斜角を以ってパネル面側に向け延びている
ことを特徴とする請求項2記載の壁パネル構造。
発明の詳細な説明
【技術分野】
【0001】
本発明は、壁パネル構造に関する。さらに詳しくは、本発明は、鋼板製の物置等に関する壁パネル構造に関する。
続きを表示(約 2,600 文字)
【背景技術】
【0002】
従来より鋼板製の壁パネルを組合せて物置やガレージ等を構成した製品があり、その技術分野の従来技術として特許文献1がある。
【0003】
特許文献1の物置は、複数枚の壁パネルを結合して構成されている。その壁パネル構造は、パネル101の一方端に形成される結合板と、同パネル101の他方端に形成される係合板とから断面視で略四角の箱形に形成されるものである。
具体的には、図5(特許文献1の第4図に対応)に示すように、パネルの一方端において、そのパネルに対して内方向きに交差して延びる折込部101aを有する第1パネル101と、パネルの他方端において、パネルに対して内方向きに交差して延びる折込部101e、その折込部101eに連続して延び折込部101eの背面側を覆う配置の折返し部101bと、さらに折返し部101bから壁パネルに向かって延びる折込み片101fを有する第2パネル101とからなる。
【0004】
そして、両パネル101の2枚の折込部101a,101eは重ねて配置され、いずれにも小径の取付孔101cと大径の取付孔101dが形成されている。
大径の取付孔101dから裏当て用の板ナットを挿し込みボルト104(図6参照)を通して締結すると、第1パネル101と第2パネル101が結合される。図5では2枚の折込部101a,101eの間に隙間があるように描かれているが、ボルト締結した後は密着する。また、雨水洩れ防止のため、取付孔101dの周囲にはパッキンが当てがわれる。
【0005】
しかるに、2枚のパネル101,101の折込部101aと折込部101eはボルト締結によって密着したとしても、パネルが鋼板製である以上非常にわずかな隙間は生じてしまう。そのため大雨や暴風雨の発生時には、雨水が折込部101a,101eの間の隙間に進入してしまう。
【0006】
図6は、上記従来技術における雨水進入時のイメージ図である。wは雨水を示しており、壁パネル101の外表面に付着している。この雨水wの一部は折込部101a,101eの間の隙間(現実には密着しているが、分かりやすくするため隙間を大きく描いている)に大雨や暴風雨による庫外からの雨の水圧や毛細管現象等により断面箱形の係合部の内部に雨水が進入する(矢印y1)。そして係合部の内部に入った雨水は折込み片101fの先端とパネル板101との間の隙間から庫内へ出ていく(矢印y2)。このため、物置内の収納物が濡れてしまうという問題がある。また、図5に示す取付孔101c,101dからの水の進入を防止するためパッキンが使用されているが、経年劣化することによりパッキンの隙間から雨水が進入する可能性がある。
【先行技術文献】
【特許文献】
【0007】
実公昭62-7776号公報
【発明の概要】
【発明が解決しようとする課題】
【0008】
本発明は上記事情に鑑み、物置の内部への雨水の進入を防止できる壁パネル構造を提供することを目的とする。
【課題を解決するための手段】
【0009】
第1発明の壁パネル構造は、複数枚のパネル単体を互いに連結して壁パネルを構成する壁パネル構造であって、パネル単体は、その一側縁において断面コ形に形成された第1係合板と、同壁パネル単体の他側縁において断面コ形に形成された第2係合板とを備えており、隣接する一対のパネル単体のうち、一方のパネル単体の第1係合板に他方の壁パネル単体の第2係合板を被せて係合するよう構成されており、係合した状態の第1係合板と第2係合板の間には、隣接するパネル単体の隙間から進入した雨水を下方に流す通水空間が設けられていることを特徴とする。
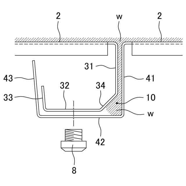
第2発明の壁パネル構造は、第1発明において、前記第1係合板が、前記パネル単体に連続する折り板部と該折り板部に連続する背面板部と該背面板部に連続する遊端板部とから断面コ形に形成されており、前記第2係合板が、前記パネル単体に連続する折り板部と該折り板部に連続する背面板部と該背面板部に連続する遊端板部とから断面コ形に形成されており、前記通水空間は、前記第1係合板の前記折り板部と前記背面板部との間を傾斜板部で連結して前記第2係合板との間に形成した空間であることを特徴とする。
第3発明の壁パネル構造は、第2発明において、前記第1係合板と前記第2係合板とは、両係合板のそれぞれの背面板部に通したボルトで結合されていることを特徴とする。
第4発明の壁パネル構造は、第2発明において、前記第1係合板および前記第2係合板それぞれの前記折り板部は、いずれもパネル単体のパネル面に対して直角に屈曲しており、前記遊端板部は、いずれもパネル単体のパネル面に対して同じ傾斜角を以ってパネル面側に向け延びていることを特徴とする。
【発明の効果】
【0010】
第1発明によれば、隣接するパネル単体の隙間から進入した雨水は第1係合板と第2係合板の間に形成されている通水空間により重力によって下方に流して、地上に排出することができる。このため物置内の収容物を濡らすことがない。
第2発明によれば、通水空間は、第1係合板の折り板部と背面板部との間を傾斜板部で連結して第2係合板との間に形成した空間であるので、第1係合板と第2係合板の隙間から進入した雨水を排出することができる。
第3発明によれば、第1係合板と第2係合板とは、それぞれの背面板部に通したボルトで結合されているが、このボルト係合位置は雨水を流す通水空間から距離をとって離れている。そのため、ネジ孔から物置内への雨水の進入を防止できる。
第4発明によれば、第1係合板および第2係合板それぞれの遊端板部は、いずれもパネル単体のパネル面に対して同じ傾斜角を以ってパネル面側に向け延びているので、第1係合板に第2係合板を被せて結合するとき、傾斜面のガイド作用によって第1係合板の遊端板部に対し第2係合板の遊端板部が嵌まり、互いに密着し隙間が無くなる。また、組立作業も容易となる。
【図面の簡単な説明】
(【0011】以降は省略されています)
この特許をJ-PlatPat(特許庁公式サイト)で参照する
関連特許
株式会社田窪工業所
壁パネル構造
6日前
個人
接合構造
8日前
個人
タッチミー
7日前
個人
屋台
25日前
個人
野良猫ハウス
1か月前
個人
転落防止用手摺
1か月前
個人
キャチクランプ
4か月前
個人
フェンス
1か月前
個人
居住車両用駐車場
1か月前
積水樹脂株式会社
柵体
1か月前
ニチハ株式会社
建築板
1か月前
個人
水害と共にある家
5か月前
個人
筋交自動設定装置
15日前
個人
地下型マンション
3か月前
個人
ベンリナアングル
7日前
個人
鋼管結合資材
3か月前
株式会社タナクロ
テント
3か月前
個人
津波と共にある漁港
5か月前
個人
壁断熱パネル
4か月前
個人
熱抵抗多層断熱建材
1か月前
個人
柵
2か月前
個人
地滑りと共にある山荘
5か月前
個人
パーティション
5か月前
個人
補強部材
1か月前
個人
身体用シェルター
15日前
個人
循環流水式屋根融雪装置
3か月前
成友建設株式会社
建物
1か月前
鹿島建設株式会社
壁体
1か月前
個人
身体用シェルター
15日前
個人
可搬型供養墓
13日前
三協立山株式会社
構造体
3か月前
三協立山株式会社
構造体
4か月前
イワブチ株式会社
組立柱
1か月前
三協立山株式会社
構造体
15日前
株式会社熊谷組
吊り治具
12日前
株式会社熊谷組
木質材料
25日前
続きを見る
他の特許を見る