TOP
|
特許
|
意匠
|
商標
特許ウォッチ
Twitter
他の特許を見る
公開番号
2025149378
公報種別
公開特許公報(A)
公開日
2025-10-08
出願番号
2024049987
出願日
2024-03-26
発明の名称
両回転式スクロール型圧縮機
出願人
株式会社豊田自動織機
代理人
弁理士法人ぱてな
主分類
F04C
18/02 20060101AFI20251001BHJP(液体用容積形機械;液体または圧縮性流体用ポンプ)
要約
【課題】信頼性に優れた両回転式スクロール型圧縮機を提供する。
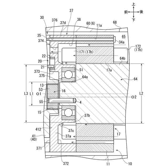
【解決手段】本発明の圧縮機では、駆動機構10がステータ17とロータ11とを有している。ステータ17は、巻線17bを有しており、巻線17bは第1コイルエンド171及び第2コイルエンド172を形成している。駆動スクロール30は、ロータ11によって回転駆動されるカバー体37を有している。また、ハウジング6内には突出体64が設けられている。カバー体37は、駆動軸心O1方向で第1コイルエンド171と対向する壁部37aと、第1コイルエンド171の内周側に進入しつつ突出体64に回転可能に支持される内側筒部37bとを有している。また、壁部37aには、第1コイルエンド171を径方向の外側から覆う外側筒部37dが接続されている。そして、壁部37aに吸入口374が形成されている。吸入口374は、内側筒部37bと外側筒部37dとの間に位置している。
【選択図】図1
特許請求の範囲
【請求項1】
ハウジング、駆動スクロール、従動スクロール、駆動機構及び従動機構を備え、
前記ハウジングは、前記駆動スクロール、前記従動スクロール及び前記駆動機構が収容されるとともに、外部から流体が吸入されるスクロール室を有し、
前記駆動機構は、ステータと、前記ステータを外側から覆いつつ前記ステータによって回転駆動するロータとを有し、
前記駆動スクロールは、前記駆動機構によって駆動軸心周りに回転駆動され、
前記従動スクロールは、前記駆動スクロールに対して偏心しつつ従動軸心周りで前記駆動スクロール及び前記従動機構によって回転従動され、
前記駆動スクロール及び前記従動スクロールは、前記回転駆動及び前記回転従動によって流体を圧縮する圧縮室を形成し、
前記ステータは、前記駆動軸心方向に延びる筒状をなし、前記ハウジングに支持されるステータコアと、前記ステータコアに巻回された巻線とを有し、
前記巻線は、前記ステータコアから前記駆動軸心方向の一方側に筒状に突出する第1コイルエンドと、前記ステータコアを挟んで前記第1コイルエンドの反対側に位置し、前記駆動軸心方向の他方側に筒状に突出する第2コイルエンドとを形成している両回転式スクロール型圧縮機であって、
前記ハウジング内には、前記ステータコアと固定されるとともに、前記駆動スクロール及び前記従動スクロールに向かって前記駆動軸心方向で前記スクロール室内に突出する突出体が設けられ、
前記駆動スクロールは、前記ロータによって回転駆動されるカバー体を有し、
前記カバー体は、前記カバー体の径方向に延び、前記駆動軸心方向で前記第1コイルエンドと対向する壁部と、
前記壁部と接続して前記ステータに向かって前記駆動軸心方向に筒状に延び、前記第1コイルエンドの内周側に進入しつつ前記突出体に回転可能に支持される内側筒部とを有し、
前記壁部には、前記駆動軸心方向に筒状に延び、前記第1コイルエンドを前記径方向の外側から覆う外側筒部が接続され、
前記スクロール室内の流体を前記圧縮室に吸入させる吸入口が前記壁部に形成され、
前記吸入口は、前記内側筒部と前記外側筒部との間に位置することを特徴とする両回転式スクロール型圧縮機。
続きを表示(約 940 文字)
【請求項2】
前記内側筒部は、軸受を介して突出体に回転可能に支持されている請求項1記載の両回転式スクロール型圧縮機。
【請求項3】
前記突出体は、前記軸受を介して前記内側筒部が回転可能に支持される第1径部と、前記第1径部よりも大径をなし、前記ステータコアが固定される第2径部とを有している請求項2記載の両回転式スクロール型圧縮機。
【請求項4】
前記第1径部、前記軸受、前記第1コイルエンド及び前記外側筒部は、前記径方向で重なりつつ配置されている請求項3記載の両回転式スクロール型圧縮機。
【請求項5】
前記内側筒部の外径は、前記第2径部の外径以下の大きさに形成されている請求項3又は4記載の両回転式スクロール型圧縮機。
【請求項6】
前記従動スクロールには、前記第1径部に挿通されて前記従動スクロールを前記従動軸心周りに回転可能に支持する従動軸部が設けられている請求項3記載の両回転式スクロール型圧縮機。
【請求項7】
前記カバー体は、前記内側筒部と壁部とを接続する接続部を有し、
前記接続部は、前記駆動軸心方向で前記内側筒部から前記壁部に向かうにつれて拡径している請求項1記載の両回転式スクロール型圧縮機。
【請求項8】
前記駆動スクロールは、駆動端板と、前記駆動端板から前記従動スクロールに向かって前記駆動軸心方向に延びる駆動渦巻体と、前記駆動端板から前記従動スクロールに向かって前記駆動軸心方向に筒状に延び、駆動渦巻体を外側から覆うとともに前記カバー体と接続する駆動周壁とを有し、
前記従動スクロールは、前記駆動軸心方向で前記駆動渦巻体と前記カバー体との間に配置される従動端板と、前記従動端板から前記駆動端板に向かって前記駆動軸心方向に延び、前記駆動渦巻体との間に前記圧縮室を形成する従動渦巻体とを有し、
前記スクロール室内の流体を前記圧縮室に吸入させる流路は、前記外側筒部の前記径方向の内側のみに形成され、前記従動端板よりも前記径方向の外側から前記スクロール室内の流体を前記圧縮室に吸入させる請求項1記載の両回転式スクロール型圧縮機。
発明の詳細な説明
【技術分野】
【0001】
本発明は両回転式スクロール型圧縮機に関する。
続きを表示(約 1,500 文字)
【背景技術】
【0002】
特許文献1に従来の両回転式スクロール型圧縮機(以下、単に圧縮機という。)が開示されている。この圧縮機は、ハウジング、駆動スクロール、従動スクロール、駆動機構及び従動機構を備えている。ハウジングは、駆動機構、駆動スクロール及び従動スクロールが収容されるスクロール室を有している。スクロール室には、ハウジングの外部から流体が吸入される。同文献において、流体は具体的には冷媒である。
【0003】
駆動機構は、ステータとロータとを有している。ステータは、ステータコアと巻線とを有している。ステータコアは駆動軸心方向に延びる筒状に形成されており、外周面がハウジングに固定されている。巻線はステータコアに巻回されている。巻線は、第1コイルエンドと第2コイルエンドとを形成している。第1コイルエンドは、ステータコアから駆動軸心方向の一方側に筒状に突出している。第2コイルエンドは、ステータコアを挟んで第1コイルエンドの反対側に位置しており、駆動軸心方向の他方側に筒状に突出している。ロータはステータコア、すなわちステータの内周側に配置されている。
【0004】
駆動スクロールはカバー体を有している。このカバー体は筒状をなす延在部を有している。延在部の外周面にはロータが固定されている。これにより、駆動スクロールは、ロータの回転によって駆動軸心周りに回転駆動可能となっている。また、駆動スクロールには、吸入口が形成されている。吸入口はスクロール室に連通している。
【0005】
従動スクロールは、駆動スクロールに対して偏心しつつ従動軸心周りで駆動スクロール及び従動機構によって回転従動可能となっている。これらの駆動スクロール及び従動スクロールは、回転駆動及び回転従動によって流体を圧縮する圧縮室を形成している。
【0006】
また、この圧縮機では、ハウジングに突出体が設けられている。突出体は、外径の大きさが一定の略円柱状に形成されており、駆動スクロール及び従動スクロールに向かって駆動軸心方向でスクロール室内に突出している。そして、突出体は延在部の内部に進入している。また、延在部の内周面と突出体の外周面との間には軸受が設けられている。こうして、突出体は、軸受を介してカバー体を回転可能に支持している。また、突出体の内部には、駆動軸心方向に延びる流体通路が形成されている。流体通路は駆動軸心方向の一方で圧縮室と連通しており、駆動軸心方向の他方でハウジングの外部と連通している。
【0007】
この圧縮機では、スクロール室内の流体が吸入口を経て圧縮室に吸入され、圧縮室で圧縮される。そして、圧縮室で圧縮された流体は、流体通路を流通することによって、ハウジングの外部、すなわち圧縮機の外部に吐出される。
【先行技術文献】
【特許文献】
【0008】
特開平2-227575号公報
【発明の概要】
【発明が解決しようとする課題】
【0009】
この種の圧縮機では、作動時に駆動機構、特に、ステータの巻線が高温となり易い。このため、上記従来の圧縮機では、熱による駆動機構の信頼性の低下が懸念される。
【0010】
本発明は、上記従来の実情に鑑みてなされたものであって、信頼性に優れた両回転式スクロール型圧縮機を提供することを解決すべき課題としている。
【課題を解決するための手段】
(【0011】以降は省略されています)
この特許をJ-PlatPat(特許庁公式サイト)で参照する
関連特許
株式会社豊田自動織機
産業車両
3日前
株式会社豊田自動織機
電力変換器
3日前
株式会社豊田自動織機
電力変換装置
3日前
株式会社豊田自動織機
電磁ブレーキ装置
3日前
株式会社豊田自動織機
スクロール型圧縮機
3日前
株式会社豊田自動織機
エンジン式産業車両
4日前
株式会社豊田自動織機
インバータ一体型電動機
3日前
株式会社豊田自動織機
スクロール型電動圧縮機
3日前
株式会社豊田自動織機
産業車両及び産業車両の冷却装置
4日前
個人
海流製造装置。
26日前
株式会社スギノマシン
圧縮機
4日前
株式会社ツインバード
送風装置
24日前
ダイニチ工業株式会社
空調装置
4か月前
株式会社ツインバード
送風装置
24日前
カヤバ株式会社
電動ポンプ
2か月前
株式会社不二越
蓄圧装置
2か月前
ビッグボーン株式会社
送風装置
1か月前
個人
携帯型扇風機用の送風ノズル
4か月前
株式会社酉島製作所
ポンプ
3か月前
株式会社ニクニ
液封式ポンプ装置
4か月前
株式会社酉島製作所
ポンプ
4か月前
株式会社ノーリツ
ロータリ圧縮機
1か月前
サンデン株式会社
スクロール圧縮機
10日前
サンデン株式会社
スクロール圧縮機
10日前
サンデン株式会社
スクロール圧縮機
10日前
株式会社ノーリツ
ロータリー圧縮機
3か月前
株式会社坂製作所
スクロール圧縮機
3か月前
樫山工業株式会社
真空ポンプ
5日前
株式会社不二越
油圧ユニット
4か月前
株式会社不二越
ベーンポンプ
2か月前
小倉クラッチ株式会社
ルーツブロア
2か月前
個人
連結式螺旋翼体及び流体移送装置
4か月前
株式会社豊田自動織機
流体機械
1か月前
エドワーズ株式会社
真空ポンプ
18日前
株式会社チロル
送風機、送風機付衣服
1か月前
株式会社島津製作所
真空ポンプ
24日前
続きを見る
他の特許を見る