TOP
|
特許
|
意匠
|
商標
特許ウォッチ
Twitter
他の特許を見る
公開番号
2025154193
公報種別
公開特許公報(A)
公開日
2025-10-10
出願番号
2024057065
出願日
2024-03-29
発明の名称
電磁ブレーキ装置
出願人
株式会社豊田自動織機
,
株式会社産機
代理人
個人
,
個人
,
個人
,
個人
,
個人
主分類
F16D
55/00 20060101AFI20251002BHJP(機械要素または単位;機械または装置の効果的機能を生じ維持するための一般的手段)
要約
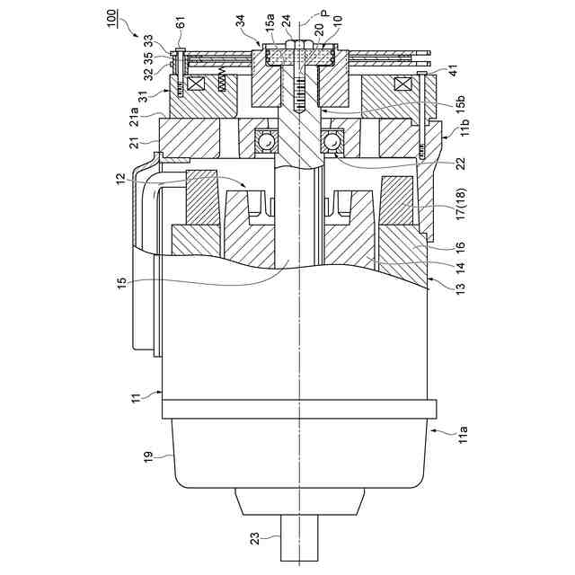
【課題】回転軸の自由端側に形成されたスプラインを介してブレーキハブが係合される回転軸が、回転軸の軸方向に直交する方向においてブレーキハブと直接当たることを抑制可能な電磁ブレーキ装置を提供する。
【解決手段】電磁ブレーキ装置100は、回転軸15の自由端側に形成されたスプライン15cを介して回転軸15と係合される内周部34aを有し、ブレーキ板35を支持するブレーキハブ34と、回転軸15の自由端に固定され、回転軸15の自由端側へのブレーキハブ34の移動を規制するストッパ部10と、ブレーキハブ34とストッパ部10とがブレーキハブ34の径方向に沿って互いに対向する部分に設けられた緩衝部材25と、を備える。
【選択図】図2
特許請求の範囲
【請求項1】
回転軸の自由端側に形成されたスプラインを介して前記回転軸と係合される内周部を有し、ブレーキ板を支持するブレーキハブと、
前記回転軸の前記自由端に固定され、前記回転軸の前記自由端側への前記ブレーキハブの移動を規制するストッパ部と、
前記ブレーキハブと前記ストッパ部とが前記ブレーキハブの径方向に沿って互いに対向する部分に設けられた緩衝部材と、を備える、電磁ブレーキ装置。
続きを表示(約 420 文字)
【請求項2】
前記ブレーキハブは、前記ストッパ部を収容する凹部を有し、
前記緩衝部材は、前記ブレーキハブの前記凹部の内周面と前記ストッパ部の外周面との間に設けられている、請求項1に記載の電磁ブレーキ装置。
【請求項3】
前記ブレーキ板は、前記ブレーキハブの外周部に形成されたスプラインを介して係合されている、請求項1又は2に記載の電磁ブレーキ装置。
【請求項4】
回転軸の自由端側に形成されたスプラインを介して前記回転軸と係合される内周部を有し、ブレーキ板を支持するブレーキハブと、
前記回転軸の前記自由端に固定され、前記回転軸の前記自由端側への前記ブレーキハブの移動を規制するストッパ部と、
前記回転軸の前記スプラインよりも前記自由端側に設けられた外周対向面と前記ブレーキハブとが前記ブレーキハブの径方向に沿って互いに対向する部分に設けられた緩衝部材と、を備える、電磁ブレーキ装置。
発明の詳細な説明
【技術分野】
【0001】
本発明は、電磁ブレーキ装置に関する。
続きを表示(約 1,600 文字)
【背景技術】
【0002】
従来、第1回転要素と第2回転要素の軸方向への相対的な移動を抑制する緩衝材を設けることにより、異音の発生防止を図る技術が知られている(例えば特許文献1参照)。
【先行技術文献】
【特許文献】
【0003】
特許第6981182号公報
【発明の概要】
【発明が解決しようとする課題】
【0004】
電動フォークリフト等においてパーキングブレーキとして用いられる電磁ブレーキの設置例として、例えば、走行用のモータの一方の端部から突出したモータの回転軸に対して取り付ける構成がある。この構成では、モータの回転軸が自由端となって軸方向に直交する方向に振動し得る。その結果、ブレーキ板を支持するブレーキハブとモータの回転軸とがスプライン嵌合により係合されている部分において、ブレーキハブと回転軸とが直接当たって異音が発生するおそれがある。
【0005】
本発明は、回転軸の自由端側に形成されたスプラインを介してブレーキハブが係合される回転軸が、回転軸の軸方向に直交する方向においてブレーキハブと直接当たることを抑制可能な電磁ブレーキ装置を提供することを目的とする。
【課題を解決するための手段】
【0006】
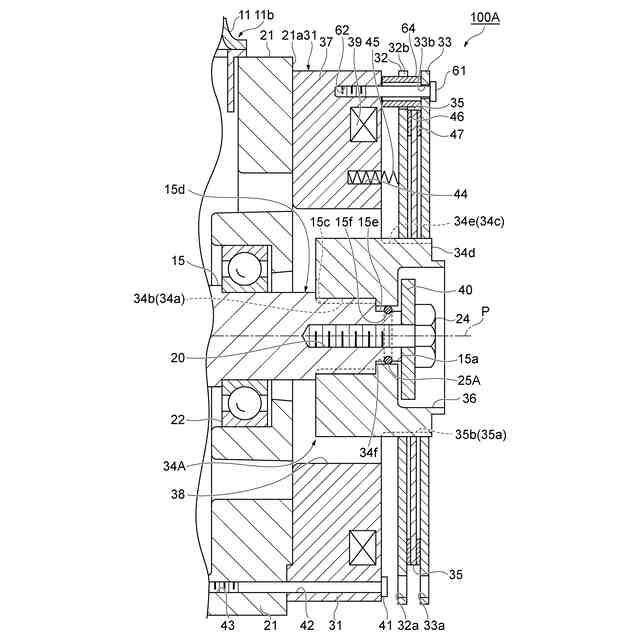
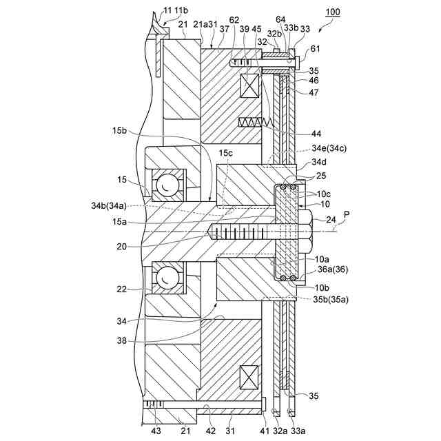
本発明の一態様に係る電磁ブレーキ装置は、回転軸の自由端側に形成されたスプラインを介して回転軸と係合される内周部を有し、ブレーキ板を支持するブレーキハブと、回転軸の自由端に固定され、回転軸の自由端へのブレーキハブの移動を規制するストッパ部と、ブレーキハブとストッパ部とがブレーキハブの径方向に沿って互いに対向する部分に設けられた緩衝部材と、を備える。
【0007】
本発明の一態様に係る電磁ブレーキ装置では、ブレーキハブとストッパ部とがブレーキハブの径方向に沿って互いに対向する部分に緩衝部材が設けられている。ストッパ部が回転軸の自由端に固定されることから、緩衝部材は、回転軸におけるスプラインよりも自由端側に位置する。これにより、回転軸の自由端が回転軸の軸方向に直交する方向に振動すると、回転軸のスプラインにおいてブレーキハブと回転軸とが直接当たる前に、ブレーキハブとストッパ部とで緩衝部材が挟まれることとなる。したがって、回転軸の自由端側に形成されたスプラインを介してブレーキハブが係合される回転軸が、回転軸の軸方向に直交する方向においてブレーキハブと直接当たることを抑制することができる。
【0008】
一実施形態において、ブレーキハブは、ストッパ部を収容する凹部を有し、緩衝部材は、ブレーキハブの凹部の内周面とストッパ部の外周面との間に設けられていてもよい。この場合、ストッパ部がブレーキハブに対して回転軸の軸方向にはみ出す量を抑制しつつ、凹部の中のスペースを利用して緩衝部材を設けることができる。
【0009】
一実施形態において、ブレーキ板は、ブレーキハブの外周部に形成されたスプラインを介して係合されていてもよい。この場合、ブレーキハブの内周部と回転軸との間のスプラインと、ブレーキハブの外周部とブレーキ板との間のスプラインと、の2カ所にスプラインが存在するため、ブレーキハブのがたつきが生じやすい傾向がある。そのため、緩衝部材によってブレーキハブと回転軸とが直接当たることを抑制する効果が顕著なものとなる。
【0010】
本発明の他の態様に係る電磁ブレーキ装置は、回転軸の自由端側に形成されたスプラインを介して回転軸と係合される内周部を有し、ブレーキ板を支持するブレーキハブと、回転軸の自由端に固定され、回転軸の自由端へのブレーキハブの移動を規制するストッパ部と、回転軸のスプラインよりも自由端側に設けられた外周対向面とブレーキハブとがブレーキハブの径方向に沿って互いに対向する部分に設けられた緩衝部材と、を備える。
(【0011】以降は省略されています)
この特許をJ-PlatPat(特許庁公式サイト)で参照する
関連特許
株式会社豊田自動織機
産業車両
今日
株式会社豊田自動織機
電力変換器
今日
株式会社豊田自動織機
回転圧縮機
3日前
株式会社豊田自動織機
回転圧縮機
3日前
株式会社豊田自動織機
電力変換器
3日前
株式会社豊田自動織機
荷役制御装置
7日前
株式会社豊田自動織機
電力変換装置
今日
株式会社豊田自動織機
電磁ブレーキ装置
今日
株式会社豊田自動織機
段積みケース構造
7日前
株式会社豊田自動織機
スクロール型圧縮機
2日前
株式会社豊田自動織機
回転電機のステータ
7日前
株式会社豊田自動織機
スクロール型圧縮機
今日
株式会社豊田自動織機
エンジン式産業車両
1日前
株式会社豊田自動織機
スクロール型圧縮機
1日前
株式会社豊田自動織機
スクロール型圧縮機
2日前
株式会社豊田自動織機
車両のリアシート構造
2日前
株式会社豊田自動織機
インバータ一体型電動機
今日
株式会社豊田自動織機
スクロール型電動圧縮機
今日
株式会社豊田自動織機
両回転式スクロール型圧縮機
2日前
トヨタ自動車株式会社
電池
3日前
株式会社豊田自動織機
両回転式スクロール型圧縮機
2日前
株式会社豊田自動織機
両回転式スクロール型圧縮機
2日前
株式会社豊田自動織機
両回転式スクロール型圧縮機
2日前
株式会社豊田自動織機
両回転式スクロール型圧縮機
2日前
株式会社豊田自動織機
両回転式スクロール型圧縮機
2日前
株式会社豊田自動織機
両回転式スクロール型圧縮機
2日前
株式会社豊田自動織機
ローリングピストン型圧縮機
1日前
株式会社豊田自動織機
ローリングピストン型電動圧縮機
1日前
株式会社豊田自動織機
産業車両及び産業車両の冷却装置
1日前
トヨタ自動車株式会社
塗工装置
1日前
トヨタ自動車株式会社
二次電池
1日前
株式会社豊田自動織機
ローリングピストン型電動圧縮機
1日前
株式会社豊田自動織機
ローリングピストン型電動圧縮機
1日前
株式会社豊田自動織機
ローリングピストン型電動圧縮機
1日前
株式会社豊田自動織機
ローリングピストン型電動圧縮機
1日前
株式会社豊田自動織機
ACインバータ及び絶縁抵抗低下検知方法
1日前
続きを見る
他の特許を見る