TOP
|
特許
|
意匠
|
商標
特許ウォッチ
Twitter
他の特許を見る
公開番号
2025149545
公報種別
公開特許公報(A)
公開日
2025-10-08
出願番号
2024050265
出願日
2024-03-26
発明の名称
円盤状基板の製造方法及び円盤状基板の製造装置
出願人
株式会社レゾナック
代理人
弁理士法人太陽国際特許事務所
主分類
B24B
37/08 20120101AFI20251001BHJP(研削;研磨)
要約
【課題】研磨後の円盤状基板を上定盤から剥離し易い、円盤状基板の製造方法及び円盤状基板の製造装置を提供する。
【解決手段】円盤状基板の製造方法は、円盤状基板50を収納するキャリア52を下定盤12と上定盤14との間に配置する工程と、下定盤12と上定盤14とで円盤状基板50を挟持して下定盤12と上定盤14との間に処理液を供給しつつ円盤状基板50を研磨処理する工程と、上定盤14と円盤状基板50との間に、円盤状基板50を上定盤14から剥離する第一剥離流体を、第一供給系41を用いて供給する工程と、上定盤14とキャリア52との間に、キャリア52を上定盤14から剥離する第二剥離流体を、第一供給系から独立する第二供給系42を用いて供給する工程と、を含む。
【選択図】図2
特許請求の範囲
【請求項1】
円盤状基板を収納するキャリアを下定盤と上定盤との間に配置する工程と、
前記下定盤と前記上定盤とで前記円盤状基板を挟持して前記下定盤と前記上定盤との間に処理液を供給しつつ前記円盤状基板を研削処理又は研磨処理する工程と、
前記上定盤と前記円盤状基板との間に、前記円盤状基板を前記上定盤から剥離する第一剥離流体を、第一供給系を用いて供給する工程と、
前記上定盤と前記キャリアとの間に、前記キャリアを前記上定盤から剥離する第二剥離流体を、前記第一供給系から独立する第二供給系を用いて供給する工程と、
を含む、円盤状基板の製造方法。
続きを表示(約 930 文字)
【請求項2】
前記第一剥離流体と前記第二剥離流体とのうち少なくとも一方の剥離流体を供給する工程は、
液体を送り込むことによって、前記液体を前記処理液に接触させる処理と、
気体を前記液体に後続して送り込むことによって、前記処理液に接触する状態の前記液体に圧力を加える処理と、
を含む、請求項1に記載の円盤状基板の製造方法。
【請求項3】
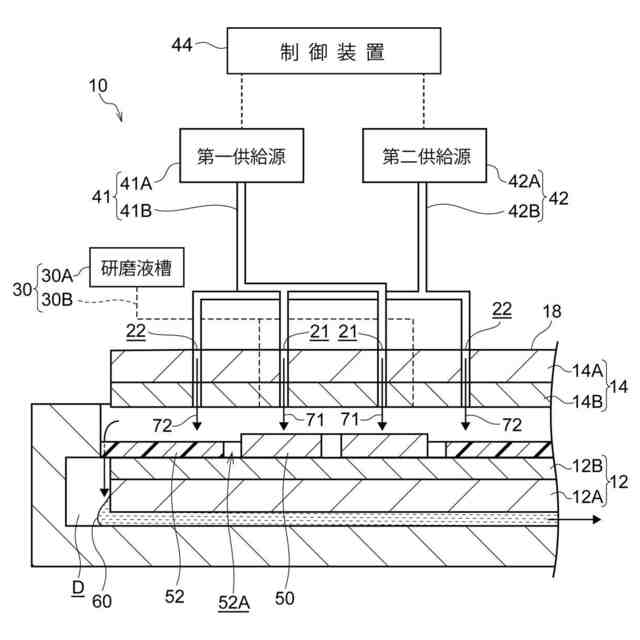
上側に円盤状基板を収納するキャリアが載置される下定盤と、
前記下定盤の上側に前記下定盤に対して近接又は離隔可能に配置され、前記円盤状基板に対向する部分に形成された第一ノズル孔と、前記キャリアに対向する部分に形成された第二ノズル孔と、を有する上定盤と、
前記下定盤と前記上定盤との間に処理液を供給する処理液供給部と、
前記円盤状基板を前記上定盤から剥離する第一剥離流体が蓄えられた第一供給源と、前記第一供給源と前記第一ノズル孔との間に接続された第一配管と、を有する第一供給系と、
前記キャリアを前記上定盤から剥離する第二剥離流体が蓄えられた第二供給源と、前記第二供給源と前記第二ノズル孔との間に接続された第二配管と、を有し、前記第一供給系から独立して設けられた第二供給系と、
を備える、円盤状基板の製造装置。
【請求項4】
前記第一供給系によって前記第一剥離流体を前記上定盤と前記円盤状基板との間に供給する処理と、前記第二供給系によって前記第二剥離流体を前記上定盤と前記キャリアとの間に供給する処理と、を実行する制御装置、
を更に備える、請求項3に記載の円盤状基板の製造装置。
【請求項5】
前記制御装置は、
前記第一剥離流体と前記第二剥離流体とのうち少なくとも一方の剥離流体を供給する処理として、
液体を送り込むことによって前記液体を前記処理液に接触させ、前記液体に後続して気体を送り込むことによって、前記処理液に接触する状態の前記液体に圧力を加えるように、前記第一供給系と前記第二供給系とのうち少なくとも一方を制御する、
請求項4に記載の円盤状基板の製造装置。
発明の詳細な説明
【技術分野】
【0001】
本開示は、円盤状基板の製造方法及び円盤状基板の製造装置に関する。
続きを表示(約 1,800 文字)
【背景技術】
【0002】
従来、磁気記録媒体用の基板として用いられる円盤状基板の製造工程において、円盤状基板の表面の平坦性を向上させるために、研磨装置を用いて円盤状基板の表面を研磨することが知られている。例えば特許文献1に開示された研磨装置では、下定盤と上定盤とが互いに対向して配置されると共に、下定盤と上定盤との間に円盤状基板がキャリアの内側に収納された状態で配置される。
【0003】
特許文献1では、下定盤と上定盤とが円盤状基板に接触した状態で、下定盤と上定盤との間に研磨液を供給しつつ円盤状基板を回転させることによって、円盤状基板の表面が研磨される。しかし、研磨装置では、円盤状基板の研磨後、研磨された円盤状基板とキャリアとが研磨液を介して上定盤に吸着することによって、上定盤が上昇しても円盤状基板が上定盤から剥離されない場合がある。
【0004】
これを解決するために、特許文献1では、上定盤と円盤状基板との間、及び、上定盤とキャリアとの間のそれぞれに対して、剥離流体としての剥離ガスを、上定盤に設けられたノズル孔を介して外部から供給させて、円盤状基板を上定盤から剥離させている。特許文献1では、剥離ガスの供給によって、研磨液を、上定盤と円盤状基板との間、及び、上定盤とキャリアとの間から排出することが開示されている。円盤状基板とキャリアとが上定盤から剥離された後、円盤状基板は、研磨装置から、次の工程を実施するための装置に移送される。
【先行技術文献】
【特許文献】
【0005】
特開2005-230978号公報
【発明の概要】
【発明が解決しようとする課題】
【0006】
ここで、通常、円盤状基板の周囲に位置するキャリアの厚みは、円盤状基板の厚みより薄い。このため、円盤状基板を収納したキャリアが下定盤の上に配置されると、円盤状基板の高さは、キャリアの高さより高くなる。すなわち、下定盤と上定盤との間では、キャリアの上側の部分におけるキャリアの単位面積あたりの空間体積の方が、円盤状基板の上側の部分における円盤状基板の単位面積あたりの空間体積より大きい。
【0007】
特許文献1では、円盤状基板の上側に供給される剥離流体としての剥離ガスの供給系と、キャリアの上側に供給される剥離流体としての剥離ガスの供給系とについて、それぞれの供給源が共通であると共に、共通の供給源から延びる1つの共通の配管が供給路の一部として使用される。特許文献1では、円盤状基板の側の剥離ガスの供給系とキャリアの側の剥離ガスの供給系として、1つの供給系が共通して用いられる。
【0008】
このため、剥離流体が円盤状基板の上側に供給されると、単位面積あたりの空間体積の大きいキャリアの上側に剥離流体は逸れ易い。換言すると、剥離流体が、円盤状基板の上側よりも圧力損失の小さいキャリアの上側に流れてしまう。結果、円盤状基板の上側に供給される剥離流体の圧力が低下する。このため、円盤状基板の上側の部分に溜まった研磨液が十分に排出されず、結果、円盤状基板が上定盤から剥離されない場合がある。
【0009】
本開示は、上記した問題に着目して為されたものであって、研磨後の円盤状基板を上定盤から剥離し易い、円盤状基板の製造方法及び円盤状基板の製造装置を提供する。
【課題を解決するための手段】
【0010】
上記の課題を達成するための具体的手段は、以下の通りである。
<1>
円盤状基板を収納するキャリアを下定盤と上定盤との間に配置する工程と、前記下定盤と前記上定盤とで前記円盤状基板を挟持して前記下定盤と前記上定盤との間に処理液を供給しつつ前記円盤状基板を研削処理又は研磨処理する工程と、前記上定盤と前記円盤状基板との間に、前記円盤状基板を前記上定盤から剥離する第一剥離流体を、第一供給系を用いて供給する工程と、前記上定盤と前記キャリアとの間に、前記キャリアを前記上定盤から剥離する第二剥離流体を、前記第一供給系から独立する第二供給系を用いて供給する工程と、を含む、円盤状基板の製造方法。
(【0011】以降は省略されています)
この特許をJ-PlatPat(特許庁公式サイト)で参照する
関連特許
株式会社レゾナック
研磨液、研磨方法、部品の製造方法、及び、半導体部品の製造方法
3日前
株式会社レゾナック
樹脂組成物、プリプレグ、積層板、樹脂フィルム、プリント配線板及び半導体パッケージ
3日前
個人
包丁研ぎ器具
2か月前
株式会社松風
研磨用ゴム砥石
10日前
個人
研磨体
4か月前
株式会社サンポー
ブラスト装置
5か月前
株式会社東京精密
研削装置
6日前
株式会社クボタ
管研削装置
3か月前
株式会社村田製作所
切削装置
4か月前
株式会社ディスコ
被加工物の加工方法
1か月前
ノリタケ株式会社
超砥粒ホイール
10日前
大同特殊鋼株式会社
疵研削順序決定方法
5か月前
株式会社東京精密
加工装置
10日前
株式会社東京精密
加工方法
12日前
不二空機株式会社
可搬型動力工具
4か月前
株式会社ニッチュー
ブラスト装置
3か月前
シンクス株式会社
ボード切断装置
4か月前
株式会社東京精密
加工装置
12日前
株式会社ディスコ
砥石
4か月前
トヨタ自動車株式会社
回転砥石の製造方法
2か月前
ノリタケ株式会社
研磨パッド
10日前
秀和工業株式会社
処理装置および処理方法
1か月前
オークマ株式会社
円筒研削盤
3か月前
富士紡ホールディングス株式会社
研磨パッド
6日前
富士紡ホールディングス株式会社
研磨パッド
6日前
富士紡ホールディングス株式会社
研磨パッド
6日前
富士紡ホールディングス株式会社
研磨パッド
6日前
株式会社ディスコ
加工方法、及び、切削装置
6か月前
株式会社アイドゥス企画
受動変形内面研磨ホイール
2か月前
株式会社東京精密
研削装置
1か月前
株式会社ディスコ
研削装置
2か月前
株式会社東京精密
ワーク加工装置
5か月前
株式会社東京精密
ワーク加工装置
5か月前
旭化成株式会社
研磨パッド
1か月前
株式会社ディスコ
加工装置
1か月前
JFEスチール株式会社
鋼帯のブラシ研削方法
5か月前
続きを見る
他の特許を見る