TOP
|
特許
|
意匠
|
商標
特許ウォッチ
Twitter
他の特許を見る
公開番号
2025149973
公報種別
公開特許公報(A)
公開日
2025-10-08
出願番号
2025081543
出願日
2025-05-14
発明の名称
端末、無線通信方法及び基地局
出願人
株式会社NTTドコモ
代理人
インフォート弁理士法人
主分類
H04W
72/23 20230101AFI20251001BHJP(電気通信技術)
要約
【課題】通信品質/スループットを向上させること。
【解決手段】本開示の一態様に係る端末は、インデックス0を有するコントロールリソースセットの設定を受信し、1つ以上のtransmission configuration indication(TCI)状態の指示を受信する受信部と、前記1つ以上のTCI状態が、2つのTCI状態であり、且つ、前記設定が、前記2つのTCI状態の内の1つのTCI状態を決定するための第1パラメータを含んでいる場合、前記1つのTCI状態によって参照される同期信号ブロックに基づいて、インデックス0を有するサーチスペースの1つ以上のphysical downlink control channel(PDCCH)候補のモニタリングオケージョンを決定する制御部と、を有する。
【選択図】図2
特許請求の範囲
【請求項1】
インデックス0を有するコントロールリソースセットの設定を受信し、1つ以上のtransmission configuration indication(TCI)状態の指示を受信する受信部と、
前記1つ以上のTCI状態が、2つのTCI状態であり、且つ、前記設定が、前記2つのTCI状態の内の1つのTCI状態を決定するための第1パラメータを含んでいる場合、前記1つのTCI状態によって参照される同期信号ブロックに基づいて、インデックス0を有するサーチスペースの1つ以上のphysical downlink control channel(PDCCH)候補のモニタリングオケージョンを決定する制御部と、を有する端末。
続きを表示(約 1,200 文字)
【請求項2】
前記設定が、前記コントロールリソースセットが統一TCI状態に従うための第2パラメータを含んでおり、且つ、前記設定が、前記第1パラメータを含んでいない場合、前記制御部は、前記指示に基づく1つのTCI状態によって参照される同期信号ブロックに基づいて、前記モニタリングオケージョンを決定する、請求項1に記載の端末。
【請求項3】
前記設定が、前記コントロールリソースセットが統一TCI状態に従うための第2パラメータを含んでいない場合、前記制御部は、1つのTCI状態を指示するmedium access control(MAC) control element(CE)アクティベーションコマンドとランダムアクセス手順と設定グラントphysical uplink shared channel(PUSCH)送信との内の最も最近の1つによって決定される同期信号ブロックに基づいて、前記モニタリングオケージョンを決定する、請求項1に記載の端末。
【請求項4】
前記1つのTCI状態は、前記同期信号ブロックと疑似コロケートされているchannel state information(CSI)-reference signal(RS)を含む、請求項1に記載の端末。
【請求項5】
インデックス0を有するコントロールリソースセットの設定を受信するステップと、
1つ以上のtransmission configuration indication(TCI)状態の指示を受信するステップと、
前記1つ以上のTCI状態が、2つのTCI状態であり、且つ、前記設定が、前記2つのTCI状態の内の1つのTCI状態を決定するための第1パラメータを含んでいる場合、前記1つのTCI状態によって参照される同期信号ブロックに基づいて、インデックス0を有するサーチスペースの1つ以上のphysical downlink control channel(PDCCH)候補のモニタリングオケージョンを決定するステップと、を有する、端末の無線通信方法。
【請求項6】
インデックス0を有するコントロールリソースセットの設定を送信し、1つ以上のtransmission configuration indication(TCI)状態の指示を送信する送信部と、
前記1つ以上のTCI状態が、2つのTCI状態であり、且つ、前記設定が、前記2つのTCI状態の内の1つのTCI状態を決定するための第1パラメータを含んでいる場合、前記1つのTCI状態によって参照される同期信号ブロックに基づいて、インデックス0を有するサーチスペースの1つ以上のphysical downlink control channel(PDCCH)候補のモニタリングオケージョンを決定する制御部と、を有する基地局。
発明の詳細な説明
【技術分野】
【0001】
本開示は、次世代移動通信システムにおける端末、無線通信方法及び基地局に関する。
続きを表示(約 1,800 文字)
【背景技術】
【0002】
Universal Mobile Telecommunications System(UMTS)ネットワークにおいて、更なる高速データレート、低遅延などを目的としてLong Term Evolution(LTE)が仕様化された(非特許文献1)。また、LTE(Third Generation Partnership Project(3GPP(登録商標)) Release(Rel.)8、9)の更なる大容量、高度化などを目的として、LTE-Advanced(3GPP Rel.10-14)が仕様化された。
【0003】
LTEの後継システム(例えば、5th generation mobile communication system(5G)、5G+(plus)、6th generation mobile communication system(6G)、New Radio(NR)、3GPP Rel.15以降などともいう)も検討されている。
【先行技術文献】
【非特許文献】
【0004】
3GPP TS 36.300 V8.12.0 “Evolved Universal Terrestrial Radio Access (E-UTRA) and Evolved Universal Terrestrial Radio Access Network (E-UTRAN); Overall description; Stage 2 (Release 8)”、2010年4月
【発明の概要】
【発明が解決しようとする課題】
【0005】
既存の無線通信システム(例えば、NR)において、チャネル又は信号の受信及び送信に統一(unified)transmission configuration indication(TCI)状態が適用されることが検討されている。
【0006】
しかしながら、このようなTCI状態に関する動作が十分に検討されていない。TCI状態が適切に適用されなければ、通信品質/スループットが低下するおそれがある。
【0007】
そこで、本開示は、通信性能/スループットを向上させることができる端末、無線通信方法及び基地局を提供することを目的の1つとする。
【課題を解決するための手段】
【0008】
本開示の一態様に係る端末は、インデックス0を有するコントロールリソースセットの設定を受信し、1つ以上のtransmission configuration indication(TCI)状態の指示を受信する受信部と、前記1つ以上のTCI状態が、2つのTCI状態であり、且つ、前記設定が、前記2つのTCI状態の内の1つのTCI状態を決定するための第1パラメータを含んでいる場合、前記1つのTCI状態によって参照される同期信号ブロックに基づいて、インデックス0を有するサーチスペースの1つ以上のphysical downlink control channel(PDCCH)候補のモニタリングオケージョンを決定する制御部と、を有する。
【発明の効果】
【0009】
本開示の一態様によれば、通信品質/スループットを向上させることができる。
【図面の簡単な説明】
【0010】
図1は、SS#0のPDCCHモニタリングオケージョンの決定の一例を示す。
図2は、実施形態1に係るSS#0のPDCCHモニタリングオケージョンの決定の一例を示す。
図3は、本開示の一実施形態に係る無線通信システムの概略構成の一例を示す図である。
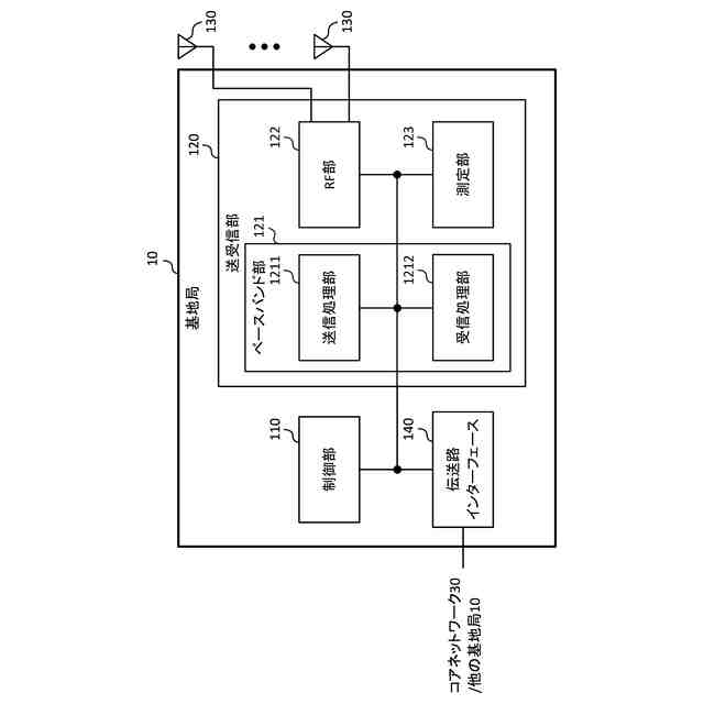
図4は、本開示の一実施形態に係る基地局の構成の一例を示す図である。
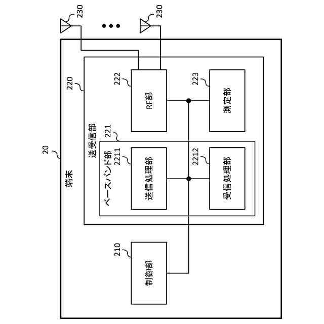
図5は、本開示の一実施形態に係る端末の構成の一例を示す図である。
図6は、本開示の一実施形態に係る基地局及び端末のハードウェア構成の一例を示す図である。
【発明を実施するための形態】
(【0011】以降は省略されています)
この特許をJ-PlatPat(特許庁公式サイト)で参照する
関連特許
株式会社NTTドコモ
無線通信システム
3日前
株式会社NTTドコモ
制御装置及び制御方法
3日前
株式会社NTTドコモ
端末、無線通信方法及び基地局
5日前
株式会社NTTドコモ
端末、無線通信方法及び基地局
5日前
株式会社NTTドコモ
端末、無線通信方法及び基地局
5日前
株式会社NTTドコモ
端末、無線通信方法及び基地局
5日前
株式会社NTTドコモ
端末、無線通信方法及び基地局
5日前
株式会社NTTドコモ
端末、無線通信方法及び基地局
5日前
株式会社NTTドコモ
端末、無線通信方法及び基地局
5日前
株式会社NTTドコモ
端末、無線通信方法及び基地局
5日前
株式会社NTTドコモ
端末、無線通信方法及び基地局
5日前
株式会社NTTドコモ
端末、無線通信方法及び基地局
5日前
株式会社NTTドコモ
端末、無線通信方法及び基地局
5日前
株式会社NTTドコモ
端末、無線通信方法及び基地局
5日前
株式会社NTTドコモ
端末、無線通信方法及び基地局
5日前
株式会社NTTドコモ
情報処理装置及び情報処理方法
4日前
株式会社NTTドコモ
情報処理装置及び情報処理方法
4日前
株式会社NTTドコモ
情報処理装置及び情報処理方法
4日前
株式会社NTTドコモ
端末、無線通信方法及び基地局
5日前
株式会社NTTドコモ
第1無線アクセスネットワークノード、通信方法及び第2無線アクセスネットワークノード
5日前
デンカ株式会社
窓構造
3日前
デンカ株式会社
窓構造およびシート
3日前
サクサ株式会社
中継装置
4日前
サクサ株式会社
中継装置
5日前
WHISMR合同会社
収音装置
1か月前
アイホン株式会社
電気機器
26日前
キヤノン株式会社
撮像装置
1か月前
株式会社リコー
画像形成装置
1か月前
キヤノン電子株式会社
画像読取装置
1か月前
サクサ株式会社
無線通信装置
4日前
サクサ株式会社
無線システム
3日前
サクサ株式会社
無線通信装置
4日前
個人
ワイヤレスイヤホン対応耳掛け
24日前
株式会社リコー
画像形成装置
2か月前
株式会社リコー
画像形成装置
1か月前
キヤノン株式会社
撮像システム
26日前
続きを見る
他の特許を見る