TOP
|
特許
|
意匠
|
商標
特許ウォッチ
Twitter
他の特許を見る
10個以上の画像は省略されています。
公開番号
2025150193
公報種別
公開特許公報(A)
公開日
2025-10-09
出願番号
2024050954
出願日
2024-03-27
発明の名称
車両用安全装置
出願人
株式会社アイシン
代理人
弁理士法人酒井国際特許事務所
主分類
B60R
21/00 20060101AFI20251002BHJP(車両一般)
要約
【課題】車室内の様々な年齢層の乗員の救助を行うことが可能な車両用安全装置を提供する。
【解決手段】車両用安全装置は、取得部と、判定部と、救助部と、を備える。取得部は、車室内の乗員の年齢層の判定に用いられる判定用情報を取得する。判定部は、取得部によって取得された判定用情報に基づいて、乗員の年齢層を判定する。救助部は、判定部に判定された年齢層に応じた救助方法を実行する。
【選択図】図11
特許請求の範囲
【請求項1】
車室内の乗員の年齢層の判定に用いられる判定用情報を取得する取得部と、
前記取得部によって取得された前記判定用情報に基づいて、前記乗員の前記年齢層を判定する判定部と、
前記判定部に判定された前記年齢層に応じた救助方法を実行する救助部と、
を備える車両用安全装置。
続きを表示(約 430 文字)
【請求項2】
前記判定用情報は、前記車室内に送信波を送信し前記送信波の反射波を受信するセンサのから出力された情報を含み、
前記判定部は、前記判定用情報に基づいて、前記乗員の体格から前記年齢層を判定する、
請求項1に記載の車両用安全装置。
【請求項3】
幼児を含む前記年齢層の場合の前記救助方法は、前記車両の外部へ通報することを含み、
前記幼児を含む前記年齢層よりも上の前記年齢層の場合の前記救助方法は、前記車両からの乗員の自力での降車を前記車両に搭載された車載装置によって支援することを含む、
請求項1に記載の車両用安全装置。
【請求項4】
前記幼児を含む前記年齢層よりも上の前記年齢層の場合の前記救助方法は、前記車載装置としてのスピーカから降車を促す音声の出力と、前記車載装置としてのドアロック装置による前記車両のドアのロックの解除とのいずれかを含む、
請求項3に記載の車両用安全装置。
発明の詳細な説明
【技術分野】
【0001】
本発明の実施形態は、車両用安全装置に関する。
続きを表示(約 1,500 文字)
【背景技術】
【0002】
車両において、車室内に幼児が取り残されている場合に、車両の外部に通報することで幼児を救助する車両用安全装置が知られている。例えば、幼児が乗車した車両の車室内温度を測定し、温度が所定値以上のときにドアロックを解除し、外部へ連絡することで幼児の救出を促す装置がある(例えば、特許文献1参照)。
【先行技術文献】
【特許文献】
【0003】
特開2014-65361号公報
【発明の概要】
【発明が解決しようとする課題】
【0004】
従来技術では、救助の対象が幼児のみであるが、小児や大人でも温度が高い車室内に取り残されると、状態が悪化する可能性がある。
【0005】
本発明の実施形態が解決しようとする課題の一つは、車室内の様々な年齢層の乗員の救助を行うことが可能な車両用安全装置を提供することである。
【課題を解決するための手段】
【0006】
本発明の実施形態に係る車両用安全装置は、車室内の乗員の年齢層の判定に用いられる乗員情報を取得する取得部と、前記取得部によって取得された前記判定用情報に基づいて、前記乗員の前記年齢層を判定する判定部と、前記判定部に判定された前記年齢層に応じた救助方法を実行する救助部と、を備える。
【発明の効果】
【0007】
本発明の実施形態に係る車両用安全装置によれば、車室内の様々な年齢層の乗員の救助を行うことができる。
【図面の簡単な説明】
【0008】
図1は、実施形態の安全装置が搭載される車両の車室内の構成の一例を示す側面図である。
図2は、実施形態の安全装置のハードウェア構成の一例を示すブロック図である。
図3は、実施形態の安全装置の機能構成の一例を示すブロック図である。
図4は、実施形態の点群情報の一例を示す図である。
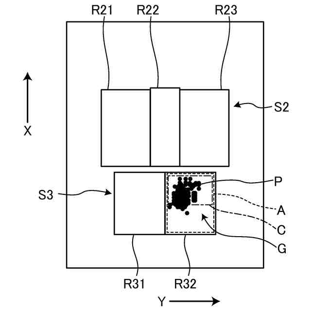
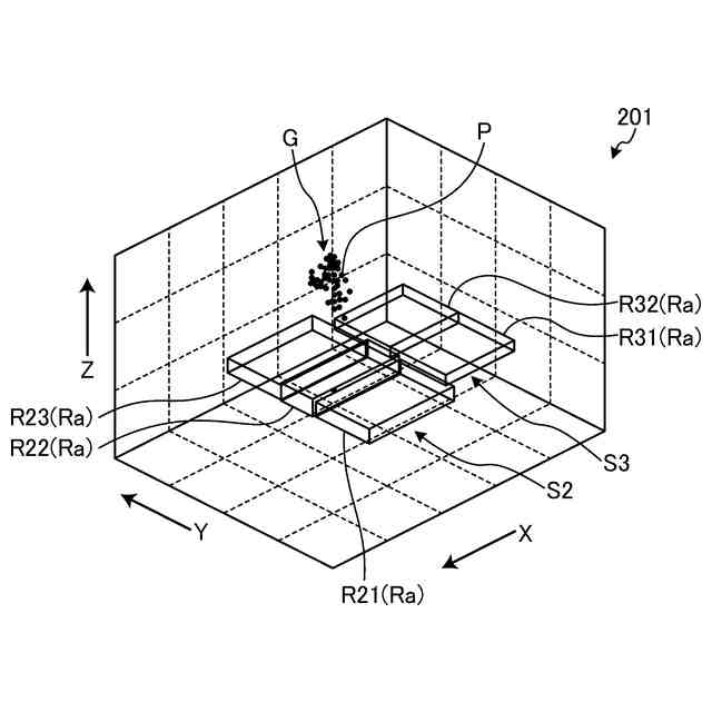
図5は、実施形態における注目領域と上部領域と乗員が大人である場合の点群との関係の一例を示す図である。
図6は、実施形態における注目領域と上部領域と乗員が子供である場合の点群との関係の一例を示す図である。
図7は、実施形態の上部比率の算出方法の一例を示す図である。
図8は、実施形態における注目領域と前部領域と乗員が大人である場合の点群との関係の一例を示す図である。
図9は、実施形態における注目領域と前部領域と乗員が子供である場合の点群との関係の一例を示す図である。
図10は、実施形態の前部比率の算出方法の一例を示す図である。
図11は、実施形態の安全装置による救助処理の一例を示すフローチャートである。
【発明を実施するための形態】
【0009】
以下、本発明の例示的な実施形態が開示される。以下に示される実施形態の構成、並びに当該構成によりもたらされる作用、結果、及び効果は、一例である。本発明は、以下の実施形態に開示される構成以外によりも実現可能であるとともに、基本的な構成に基づく種々の効果や派生的な効果のうち、少なくとも一つを得ることが可能である。
【0010】
図1は、実施形態の安全装置1が搭載される車両10の車室R内の構成の一例を示す側面図である。図中、X方向は、車両10の後部から前部へ向かう方向に対応し、Y方向は、車両10の左側面から右側面へ向かう方向に対応し、Z方向は、車両10の下部から上部へ向かう方向に対応している。
(【0011】以降は省略されています)
この特許をJ-PlatPat(特許庁公式サイト)で参照する
関連特許
株式会社アイシン
ロータ
今日
株式会社アイシン
ロータ
2日前
株式会社アイシン
空気袋
11日前
株式会社アイシン
駆動装置
9日前
株式会社アイシン
回転電機
7日前
株式会社アイシン
車体構造
7日前
株式会社アイシン
制御装置
7日前
株式会社アイシン
回転電機
3日前
株式会社アイシン
ステータ
今日
株式会社アイシン
電子機器
1日前
株式会社アイシン
保護装置
1日前
株式会社アイシン
検知装置
1日前
株式会社アイシン
駆動装置
1日前
株式会社アイシン
制御装置
1日前
株式会社アイシン
制御装置
1日前
株式会社アイシン
制御装置
1日前
株式会社アイシン
ステータ
今日
株式会社アイシン
回転電機
3日前
株式会社アイシン
ステータ
今日
株式会社アイシン
ステータ
今日
株式会社アイシン
レーダ装置
1日前
株式会社アイシン
温度調節器
21日前
株式会社アイシン
温度調節器
7日前
株式会社アイシン
鋳ぐるみ品
11日前
株式会社アイシン
温度調節器
11日前
株式会社アイシン
温度調節器
21日前
株式会社アイシン
運転支援装置
7日前
株式会社アイシン
ポンプケース
14日前
株式会社アイシン
衝撃吸収部材
1日前
株式会社アイシン
折り畳み装置
今日
株式会社アイシン
案内システム
1日前
株式会社アイシン
電解システム
2日前
株式会社アイシン
超音波センサ
2日前
株式会社アイシン
超音波センサ
2日前
株式会社アイシン
マニホールド
9日前
株式会社アイシン
開閉システム
8日前
続きを見る
他の特許を見る