TOP
|
特許
|
意匠
|
商標
特許ウォッチ
Twitter
他の特許を見る
公開番号
2025150437
公報種別
公開特許公報(A)
公開日
2025-10-09
出願番号
2024051307
出願日
2024-03-27
発明の名称
砂杭締固め工法での砂排出方法
出願人
株式会社不動テトラ
代理人
個人
,
個人
主分類
E02D
3/08 20060101AFI20251002BHJP(水工;基礎;土砂の移送)
要約
【課題】砂杭締固め工法で粒状体材料を地盤中に排出するとき、熟練の作業者だけでなく、それ以外の作業者でも、地盤中に適正な量の粒状体材料を排出できるようにする。
【解決手段】砂杭締固め工法での砂排出方法であって、粒状体材料を排出するための操作器具の操作状態とそのときの粒状体材料の排出状態を、排出する粒状体材料の種類や状態又は排出先の原地盤状態及び施工深度の条件毎に収集する第一の工程と、収集した操作器具の操作状態とそのときの粒状体材料の排出状態より、排出する粒状体材料の種類や状態又は排出先の原地盤状態及び施工深度の条件毎の最適な操作器具の操作パターンを取得する第二の工程と、取得した操作器具の操作パターンの中から、粒状体材料を排出する場所の条件に合った最適な操作器具の操作パターンを求め、求めた操作器具の操作パターンに基づいて操作器具を操作して、地盤中に粒状体材料を排出する第三の工程を有する。
【選択図】図4
特許請求の範囲
【請求項1】
地盤中に貫入したケーシングパイプより粒状体材料を排出し、排出した粒状体材料を打ち戻して締固め砂杭を地盤中に造成する砂杭締固め工法で、地盤中に粒状体材料を排出するときに、操作器具を操作して粒状体材料を排出する砂杭締固め工法での砂排出方法であって、
粒状体材料を排出するための操作器具の操作状態とそのときの粒状体材料の排出状態を、排出する粒状体材料の種類や状態又は排出先の原地盤状態及び施工深度の条件毎に収集する第一の工程と、
収集した操作器具の操作状態とそのときの粒状体材料の排出状態より、排出する粒状体材料の種類や状態又は排出先の原地盤状態及び施工深度の条件毎の最適な操作器具の操作パターンを取得する第二の工程と、
取得した操作器具の操作パターンの中から、粒状体材料を排出する場所の条件に合った最適な操作器具の操作パターンを求め、求めた操作器具の操作パターンに基づいて操作器具を操作して、地盤中に粒状体材料を排出する第三の工程と、
を有することを特徴とする砂杭締固め工法での砂排出方法。
続きを表示(約 270 文字)
【請求項2】
請求項1に記載された砂杭締固め工法での砂排出方法において、
粒状体材料を排出するための操作器具は、ケーシングパイプ内に給気を行うための給気用操作スイッチ、ケーシングパイプ内より排気を行うための排気用操作スイッチ、ケーシングパイプ内への圧縮空気による噴射を行うためのジェット用操作スイッチである砂杭締固め工法での砂排出方法。
【請求項3】
請求項1又は2に記載された砂杭締固め工法での砂排出方法において、
第三の工程での操作器具の操作は、手動又は自動で行うようにする砂杭締固め工法での砂排出方法。
発明の詳細な説明
【技術分野】
【0001】
本発明は、地盤中に締固め砂杭を造成して地盤の改良を行う砂杭締固め工法で、地盤中に砂や砕石などの粒状体材料を排出するときの砂排出方法に関する。
続きを表示(約 2,200 文字)
【背景技術】
【0002】
従来、地盤中に締固め砂杭を造成して地盤の改良を行う砂杭締固め工法としては、サンドコンパクションパイル工法、サンドドレーン工法あるいは静的締固め砂杭工法などが知られている。
【0003】
例えば、サンドコンパクションパイル工法について説明する。サンドコンパクションパイル工法において用いる地盤改良装置1は、図1に示すように、運転室3を設けた自走可能な施工機2を備え、この施工機2の前部にマスト4を立設する。これとともに、立設したマスト4に沿って上下に向かう地盤中に貫入可能なケーシングパイプ5を備える。施工機2は、ケーシングパイプ5の地盤中への貫入又は地盤中からの引抜きを行う。ケーシングパイプ5は、円筒形の管で、その内部を砂や砕石などの粒状体材料Mを収容し、その下端に設ける排出口6から地盤中に粒状体材料Mを排出する。
【0004】
この地盤改良装置1を用いて行うサンドコンパクションパイル工法は、図2に示すように、粒状体材料Mを収容したケーシングパイプ5を地盤中の所定深度まで貫入する(図2A)。貫入後、ケーシングパイプ5を引抜きながら、その下端の排出口6より粒状体材料Mを地盤中に排出する(図2B)。続いて、排出した粒状体材料Mを打ち戻す(図2C)。このケーシングパイプ5の引抜きながらの粒状体材料Mの排出と排出した粒状体材料Mの打ち戻しを上方に向かって繰り返し行う(図2D,E)。これにより、地盤中に拡径した締固め砂杭Pを造成する(図2F)。このように地盤中に拡径した締固め砂杭Pを造成することで、地盤を強固なものに改良することができる(特許文献1)。
【0005】
ところで、サンドコンパクションパイル工法において、ケーシングパイプ5を引抜きながら粒状体材料Mを地盤中に排出するとき、ケーシングパイプ5から過不足なく適正な量の粒状体材料Mを地盤中に排出できるようにするため、地盤改良装置1は各種の機器を備えている。つまり、ケーシングパイプ5の内部には、収容した粒状体材料Mの上部空間Eへの圧縮空気の給気Aや排気Bを行う機器、あるいは粒状体材料Mに圧縮空気による噴射(以下、ジェットJという)を行う機器などを備える。
【0006】
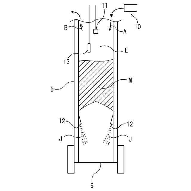
すなわち、図3に示すように、ケーシングパイプ5の内部において、収容した粒状体材料Mの上部空間Eにコンプレッサー10から圧縮空気を給気Aする、あるいは上部空間E内の空気を排気Bするなどの給気Aと排気Bをコントロールして、上部空間Eの管内圧力を調整する。これにより、粒状体材料Mを地盤中に排出するとき、上部空間Eの管内圧力を高めて、ケーシングパイプ5の内部の粒状体材料Mを排出口6より適正な量を地盤中に排出できるようにする。また、ケーシングパイプ5の上部空間E内には圧力センサー11を設け、圧力センサー11で管内圧力を測定する。さらに、ケーシングパイプ5の下部の内面には、ジェットJを行う噴射孔12を設け、粒状体材料Mを排出口6から排出するとき、噴射孔12よりジェットJを粒状体材料Mに噴射して、締め固まった粒状体材料Mをほぐすことで、粒状体材料Mを排出口6より適正な量を排出できるようにする。なお、ケーシングパイプ5内に収容した粒状体材料Mを地盤中に排出したとき、適正な量を排出しているかどうかは、ケーシングパイプ5内の設けた砂面計13で、排出前後のケーシングパイプ5内の粒状体材料Mの上面の位置を計測することで、判断することができる。
【0007】
また、ケーシングパイプ5の内部への給気A、排気B、ジェットJの噴射などを行う機器は、施工機2の運転室3を設けた操作器具で操作する。この操作器具は、給気Aを行うオン・オフ式の給気用操作スイッチ、排気Bを行うオン・オフ式の排気用操作スイッチ、ジェットJの噴射を行うオン・オフ式のジェット用操作スイッチなどである。
【0008】
しかしながら、サンドコンパクションパイル工法においてケーシングパイプ5を引抜きながら粒状体材料Mを地盤中に排出するとき、作業者は、施工機2の運転室3に設けた操作器具、つまり給気用操作スイッチ、排気用操作スイッチ、ジェット用操作スイッチを操作して、粒状体材料Mを過不足なく適正な量を排出するが、このとき、操作器具の操作では、排出する粒状体材料Mの種類や状態又は排出先の原地盤状態及び施工深度の条件毎に異なる。
【0009】
すなわち、作業者は、排出する粒状体材料Mの種類や状態又は排出先の原地盤状態及び施工深度の条件に応じて、操作器具を操作しなければならない。しかも、この操作器具の操作は1秒から数秒単位での操作であり、複雑である。そのため、熟練の作業者であれば、操作器具を適切に操作して適正な量の粒状体材料Mを地盤中に排出することができるが、それ以外の作業者では、操作器具を適切に操作することが難しく、地盤中に適正な量の粒状体材料Mを排出することができない。つまり、地盤中に所定の締固め砂杭Pを造成することができず、計画通りの地盤の改良を行うことができないという問題がある。
【先行技術文献】
【特許文献】
【0010】
特開平8-284146号公報
【発明の概要】
【発明が解決しようとする課題】
(【0011】以降は省略されています)
この特許をJ-PlatPat(特許庁公式サイト)で参照する
関連特許
株式会社不動テトラ
艤装式係留フック
6日前
株式会社不動テトラ
施工パターン検証装置及び施工パターン検証方法
7日前
株式会社不動テトラ
地盤強度推定装置、地盤強度推定システム、及び地盤強度推定方法
7日前
FKS株式会社
擁壁
17日前
鈴健興業株式会社
敷板部材
13日前
株式会社クボタ
作業車
15日前
株式会社奥村組
ケーソン工法
20日前
株式会社クボタ
作業車
15日前
株式会社ネクステリア
平板基礎
13日前
個人
擁壁用ブロックおよび擁壁
14日前
千代田工営株式会社
回転貫入杭
今日
株式会社大林組
建物の構造
14日前
株式会社奥村組
ケーソン刃口金物
20日前
株式会社熊谷組
地盤改良方法
9日前
株式会社熊谷組
山留壁用親杭
6日前
株式会社熊谷組
密度計測方法
15日前
日立建機株式会社
建設機械
7日前
日立建機株式会社
作業機械
6日前
ヤマト発動機株式会社
浮遊型消波装置
17日前
日立建機株式会社
建設機械
7日前
日立建機株式会社
作業機械
7日前
日立建機株式会社
作業機械
6日前
日立建機株式会社
作業機械
17日前
日立建機株式会社
作業機械
6日前
日立建機株式会社
建設機械
13日前
日立建機株式会社
作業機械
今日
日本車輌製造株式会社
建設機械
2日前
日立建機株式会社
作業車両
2日前
ライト工業株式会社
鉄筋保持用治具
7日前
カナデビア株式会社
サクション基礎
7日前
鹿島建設株式会社
接続方法および接続構造
2日前
日立建機株式会社
電動式作業機械
13日前
JFEスチール株式会社
鋼管矢板の継手構造
17日前
株式会社竹内製作所
作業用車両
6日前
株式会社竹内製作所
作業用車両
6日前
JFEスチール株式会社
鋼管矢板の継手構造
7日前
続きを見る
他の特許を見る