TOP
|
特許
|
意匠
|
商標
特許ウォッチ
Twitter
他の特許を見る
10個以上の画像は省略されています。
公開番号
2025150445
公報種別
公開特許公報(A)
公開日
2025-10-09
出願番号
2024051315
出願日
2024-03-27
発明の名称
電子時計
出願人
セイコーエプソン株式会社
代理人
個人
,
個人
,
個人
主分類
G04R
60/10 20130101AFI20251002BHJP(時計)
要約
【課題】アンテナの受信性能の低下を抑制でき、発電部の面積を拡大できる電子時計の提供。
【解決手段】電子時計は、文字板と、文字板の裏面側に配置され、光を電気エネルギーに変換する発電部を備える太陽電池と、太陽電池の裏面側に配置され、文字板の表面に直交する方向から見た平面視で発電部に重なる板状の第1導体素子、第1導体素子と平面視で重なる板状の第2導体素子、第1導体素子の外周に接続され、第1導体素子と第2導体素子とを短絡する短絡部を有するアンテナと、を備え、第1導体素子の外周は、短絡部に接続する接続部と、短絡部に接続していない非接続部とで構成され、非接続部の少なくとも一部は、平面視において発電部の外側に位置し、発電部は、接続部と重なる重なり部を有する。
【選択図】図6
特許請求の範囲
【請求項1】
文字板と、
前記文字板の裏面側に配置され、光を電気エネルギーに変換する発電部を備える太陽電池と、
前記太陽電池の裏面側に配置され、前記文字板の表面に直交する方向から見た平面視で前記発電部に重なる板状の第1導体素子、前記第1導体素子と前記平面視で重なる板状の第2導体素子、前記第1導体素子の外周に接続され、前記第1導体素子と前記第2導体素子とを短絡する短絡部を有するアンテナと、
を備え、
前記第1導体素子の外周は、前記短絡部に接続する接続部と、前記短絡部に接続していない非接続部とで構成され、前記非接続部の少なくとも一部は、前記平面視において前記発電部の外側に位置し、
前記発電部は、前記接続部と重なる重なり部を有する
ことを特徴とする電子時計。
続きを表示(約 540 文字)
【請求項2】
請求項1に記載の電子時計において、
前記発電部が前記第1導体素子の外周と重なる範囲は、前記平面視で、前記文字板の中心から前記短絡部の中心を結ぶ仮想線に対して、±90度以内である
ことを特徴とする電子時計。
【請求項3】
請求項1に記載の電子時計において、
前記平面視において、前記非接続部の全体が前記発電部の外側に位置する
ことを特徴とする電子時計。
【請求項4】
請求項1に記載の電子時計において、
前記非接続部と前記平面視で重なる誘電体補助部材を有し、
前記誘電体補助部材と前記平面視で重なる領域では、前記非接続部は前記発電部の外側に位置する
ことを特徴とする電子時計。
【請求項5】
請求項1に記載の電子時計において、
前記太陽電池に対して導通部材を介して導通される回路基板を備え、
前記アンテナの外周面には凹部が形成され、
前記接続部および前記短絡部は、前記凹部を含んで形成され、
前記導通部材は、前記平面視において前記凹部に配置されて前記短絡部の外側に設けられている
ことを特徴とする電子時計。
発明の詳細な説明
【技術分野】
【0001】
本発明は、アンテナおよび太陽電池を内蔵する電子時計に関する。
続きを表示(約 1,900 文字)
【背景技術】
【0002】
特許文献1には、衛星信号を受信するアンテナと太陽電池とを内蔵する電子時計が開示されている。アンテナは、太陽電池の裏側に配置され、太陽電池と重なる放射電極を備える板状の逆Fアンテナであり、放射電極の外周の一部は、平面視において太陽電池の発電部の外側に位置することが開示されている。具体的には、放射電極の外周の全てが発電部の外側に位置する構成や、放射電極の内側に第1発電部を設け、第1発電部を囲む第1非発電部の外側に第2発電部を設ける構成が開示されている。
【先行技術文献】
【特許文献】
【0003】
特開2019-191146号公報
【発明の概要】
【発明が解決しようとする課題】
【0004】
特許文献1の電子時計では、発電部の面積を拡大するために放射電極の外側に発電部を設けているが、発電部の位置によっては、アンテナの受信性能が大きく低下してしまうという課題があった。
【課題を解決するための手段】
【0005】
本開示の電子時計は、文字板と、前記文字板の裏面側に配置され、光を電気エネルギーに変換する発電部を備える太陽電池と、前記太陽電池の裏面側に配置され、前記文字板の表面に直交する方向から見た平面視で前記発電部に重なる板状の第1導体素子、前記第1導体素子と前記平面視で重なる板状の第2導体素子、前記第1導体素子の外周に接続され、前記第1導体素子と前記第2導体素子とを短絡する短絡部を有するアンテナと、を備え、前記第1導体素子の外周は、前記短絡部に接続する接続部と、前記短絡部に接続していない非接続部とで構成され、前記非接続部の少なくとも一部は、前記平面視において前記発電部の外側に位置し、前記発電部は、前記接続部と重なる重なり部を有することを特徴とする。
【図面の簡単な説明】
【0006】
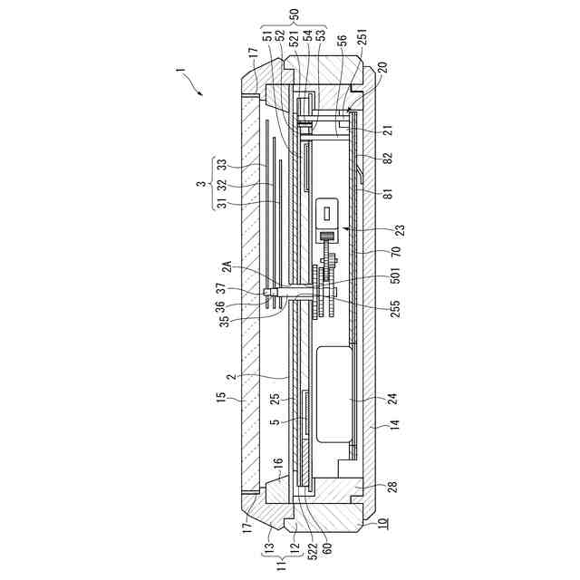
第1実施形態の電子時計を示す正面図である。
第1実施形態の電子時計を示す断面図である。
第1実施形態の電子時計のアンテナ、ソーラーパネルおよび回路基板を示す斜視図である。
第1実施形態の電子時計のアンテナ、ソーラーパネルおよびムーブメントを示す分解斜視図である。
第1実施形態のアンテナおよびアンテナ補助部材を示す分解斜視図である。
第1実施形態の電子時計のアンテナおよびソーラーパネルを示す平面図である。
第2実施形態のアンテナおよびソーラーパネルを示す平面図である。
第3実施形態のアンテナおよびソーラーパネルを示す平面図である。
第4実施形態のアンテナおよびソーラーパネルを示す平面図である。
【発明を実施するための形態】
【0007】
[第1実施形態]
以下、第1実施形態の電子時計1を図面に基づいて説明する。本実施形態では、電子時計1のカバーガラス15側を表面側または上側とし、裏蓋14側を裏面側または下側として説明する。また、平面視とは、文字板2の表面に直交する方向、つまり後述する指針軸35~37の軸方向から電子時計1を見ることを意味し、側面視とは、文字板2の表面に平行な方向から電子時計1を見ることを意味する。
【0008】
本実施形態の電子時計1は、後述するアンテナ50を内蔵し、図1に示すように、地球の上空を所定の軌道で周回している複数のGPS衛星や準天頂衛星などの位置情報衛星Sからの衛星信号を受信して衛星時刻情報を取得し、内部時刻情報を修正できるように構成されている。
【0009】
電子時計1は、図1、2に示すように、ケース10と、ケース10内に収容された文字板2、指針3、日車5とを備える。電子時計1は、外部操作用のりゅうず6と、2つのボタン7、8とを備える。
【0010】
[電子時計の外装構造]
ケース10は、ケース本体11と、裏蓋14とを備える。ケース本体11は、円筒状の胴12と、胴12の表面側に設けられたリング状のベゼル13とを備える。なお、本実施形態では、胴12と裏蓋14とは別体で構成されているが、これに限らず、胴12および裏蓋14が一体化されたワンピースケースでもよい。また、本実施形態では、胴12とベゼル13とは別体で構成されているが、これに限らず、胴12およびベゼル13が一体化された構造を用いてもよく、この場合、安価にできるメリットがある。
胴12、ベゼル13、裏蓋14の材質は、ステンレス鋼、チタン合金、アルミ、真鍮などの金属材料つまり導電性材料である。
(【0011】以降は省略されています)
この特許をJ-PlatPat(特許庁公式サイト)で参照する
関連特許
個人
砂時計
22日前
個人
目覚し時計
2か月前
個人
休憩報知タイマー
3か月前
個人
時刻同期システム
24日前
セイコーウオッチ株式会社
時計
2日前
セイコーエプソン株式会社
時計
3か月前
個人
自照式の針により認視性を高めたアナログ式時計
3か月前
セイコーエプソン株式会社
電子時計
2か月前
セイコーエプソン株式会社
電子時計
2日前
ローム株式会社
時間測定回路
3日前
株式会社村田製作所
光学的パターン表示物品
8日前
シチズン時計株式会社
腕時計
1日前
セイコーエプソン株式会社
電子制御式機械時計
10日前
シチズン時計株式会社
電子時計
1か月前
セイコーエプソン株式会社
電子制御式機械時計
3か月前
シチズン時計株式会社
機械式時計
1か月前
シチズン時計株式会社
機械式時計
3か月前
シチズン時計株式会社
機械式時計
2か月前
セイコーエプソン株式会社
ムーブメント及び時計
3か月前
カシオ計算機株式会社
装飾板及び時計
9日前
個人
アナログ時計、時間表示方法、および、時間表示プログラム
3か月前
セイコーエプソン株式会社
電子時計
3か月前
セイコータイムクリエーション株式会社
からくり時計
8日前
カシオ計算機株式会社
制御装置、制御方法、及びプログラム
9日前
セイコーエプソン株式会社
機械式時計
23日前
カシオ計算機株式会社
機器ケース及び時計
2か月前
カシオ計算機株式会社
機器ケース及び時計
1か月前
セイコーエプソン株式会社
時計および風防部材の製造方法
3日前
セイコーエプソン株式会社
インデックス、文字板、及び時計
1か月前
カシオ計算機株式会社
電子時計及び電子時計本体
23日前
カシオ計算機株式会社
外装部品ユニット及び時計
8日前
住友ベークライト株式会社
計時装置、計時方法および検査装置
3か月前
セイコーウオッチ株式会社
時計、音声再生方法およびプログラム
1か月前
モントレー ブレゲ・エス アー
表示機構のための調整システム
3か月前
モントレー ブレゲ・エス アー
プレート上のディスプレイモジュールの配置
3か月前
カシオ計算機株式会社
電子時計、外装部材及びバンド
23日前
続きを見る
他の特許を見る