TOP
|
特許
|
意匠
|
商標
特許ウォッチ
Twitter
他の特許を見る
10個以上の画像は省略されています。
公開番号
2025150492
公報種別
公開特許公報(A)
公開日
2025-10-09
出願番号
2024051393
出願日
2024-03-27
発明の名称
半導体チップ
出願人
三安ジャパンテクノロジー株式会社
代理人
個人
,
個人
主分類
H10D
30/66 20250101AFI20251002BHJP()
要約
【課題】信頼性が向上する炭化珪素半導体チップを提供する。
【解決手段】半導体チップであって、第1導電型の炭化珪素で形成された炭化珪素基板2と、第1導電型の炭化珪素で形成されたドリフト層3と、前記ドリフト層上に、上面視において、第2導電型の半導体と前記第1主面側の電極が配置されるアクティブ領域41と、前記アクティブ領域を囲うように設けられた耐圧の劣化を防止するための終端領域42と、が設けられ、
前記耐圧構造の外周及び半導体チップの端部は、ともに上面視において六角形であり、
前記耐圧構造の外周の六角形のコーナー部は丸みを有し、
前記第2導電型の半導体は、上面視でストライプ構造20a,20bをなし、それらの方向が少なくとも2つの方向に配置されており、それらの互いになす角度は、60°の倍数である。
【選択図】図2
特許請求の範囲
【請求項1】
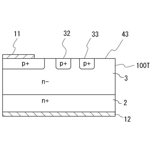
第1導電型の半導体で形成された炭化珪素基板と、
前記炭化珪素基板の第1主面側に形成され、第1導電型の半導体で形成された炭化珪素を主とする層であるドリフト層と、
を備え、
前記ドリフト層上に、上面視において、第2導電型の半導体と前記第1主面側の電極が配置されるアクティブ領域と、前記アクティブ領域を囲うように設けられた耐圧の劣化を防止するための終端領域と、が設けられ、
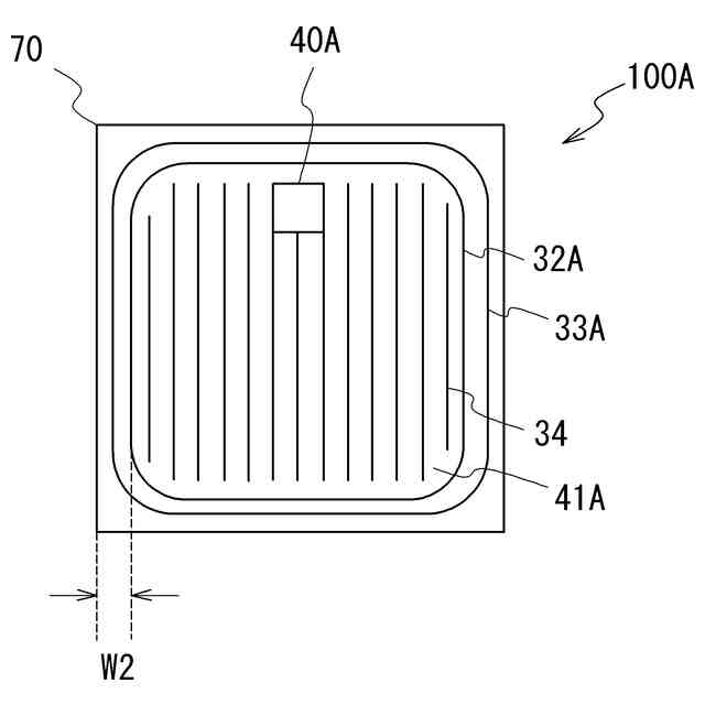
前記終端領域には、上面視において六角形の第2導電型の半導体を備えた耐圧構造が設けられ、前記耐圧構造の外周及び半導体チップの端部は、ともに上面視において六角形であり、
前記耐圧構造の外周の六角形のコーナー部は丸みを有し、
前記第2導電型の半導体は、上面視でストライプ構造をなし、それらの方向が少なくとも2つの方向に配置されており、それらの互いになす角度は、60度の倍数をなす、
半導体チップ。
続きを表示(約 670 文字)
【請求項2】
前記第2導電型の半導体のストライプ構造は、2つの方向に配置されており、その2つのストライプ構造は、半導体チップの第1主面の中央を通る配線又は仮想線について互いに鏡面対称である、
請求項1に記載の半導体チップ。
【請求項3】
前記第2導電型の半導体と前記電極のストライプ構造は、3つの方向に配置されており、それらの方向は3回回転対称をなす、
請求項1に記載の半導体チップ。
【請求項4】
前記耐圧構造の外周及び前記半導体チップの端部は、上面視において、互いに対応する辺が平行な六角形をなし、その六角形の各内角はすべて120°であり、
少なくとも2つの方向に配置されている前記ストライプ構造の全ての方向が、それぞれに前記耐圧構造の外周の六角形の一辺のいずれかと並行である、
請求項1に記載の半導体チップ。
【請求項5】
前記アクティブ領域にMOSFETが設けられ、前記第2導電型の半導体として、前記MOSFETのボディ層が備えられ、
前記ボディ層と並行にゲート電極及びゲート絶縁膜が配置されて、上面視においてストライプ構造をなす、
請求項1に記載の半導体チップ。
【請求項6】
前記アクティブ領域にショットキーバリアダイオードが設けられ、前記第1主面側の電極とショットキー接合またはオーミック接合した前記第2導電型の半導体が、上面視においてストライプ構造をなす、
請求項1に記載の半導体チップ。
発明の詳細な説明
【技術分野】
【0001】
本発明は、半導体チップに関する。
続きを表示(約 2,000 文字)
【背景技術】
【0002】
基板及びドリフト層(エピタキシャル層)に炭化珪素(SiC)を用いた半導体装置は、基板に珪素(Si)を用いた半導体装置よりも高耐圧、低損失、及び高速を実現できることから、例えばパワー半導体装置として用いられている。
【0003】
例えば、特許文献1には、炭化珪素MOSFETを備えた上面視において六角形の炭化珪素半導体チップが開示されている。特許文献2には、複数のベース電極がストライプ構造をなす炭化珪素MOSFETを備えた炭化珪素半導体チップが開示されている。特許文献3には、複数の第2導電型半導体とオーミック電極とが接するオーミック領域がストライプ構造をなす炭化珪素ダイオードを備えた半導体チップが開示されている。
【先行技術文献】
【特許文献】
【0004】
特表2023-552373号公報
特開2019-176078号公報
特開2021-93522号公報
【発明の概要】
【発明が解決しようとする課題】
【0005】
半導体チップは、製造時の熱プロセスにおいて、部材の熱膨張率が異なることから、互いに温度変化に伴う熱膨張が異なるため、熱応力が生じる。この熱応力は、部材の反りに起因する剥がれや、格子の破損などによるデバイスとしての信頼性の低下を招くと考えられる。ひとつの半導体チップにおいてストライプ構造が一方向であれば、熱変化による湾曲(反り)の方向が一方向であり、互いに弱めあうことがないから、熱応力が強くなってしまうという問題があった。
本発明は、これらの問題に鑑みて、製造時の熱応力を分散させることによって、信頼性の高い半導体チップを提供することを目的とする。
【課題を解決するための手段】
【0006】
本発明の半導体チップの一つの態様は、
第1導電型の半導体で形成された炭化珪素基板と、
前記炭化珪素基板の第1主面側に形成され、第1導電型の半導体で形成された炭化珪素を主とする層であるドリフト層と、
を備え、
前記ドリフト層上に、上面視において、第2導電型の半導体と前記第1主面側の電極が配置されるアクティブ領域と、前記アクティブ領域を囲うように設けられた耐圧の劣化を防止するための終端領域と、が設けられ、
前記終端領域には、上面視において六角形の第2導電型の半導体を備えた耐圧構造が設けられ、前記耐圧構造の外周及び半導体チップの端部は、ともに上面視において六角形であり、
前記耐圧構造の外周の六角形のコーナー部は丸みを有し、
前記第2導電型の半導体は、上面視でストライプ構造をなし、それらの方向が少なくとも2つの方向に配置されており、それらの互いになす角度は、60度の倍数をなすものである。
【0007】
このように、本発明の半導体チップによれば、第2導電型の半導体は、上面視でストライプ構造をなし、それらの方向が少なくとも2つの方向に配置されるので、製造の際の熱プロセスにおいて湾曲しようとする湾曲の方向が少なくとも二つとなることから、ストライプ構造が一方向の半導体チップよりも、熱応力の方向が分散して、半導体チップの部材の熱ストレスを減少させることができる。このため、半導体チップの信頼性を向上させることができる。また、第2導電型の半導のストライプ構造の方向のなす角度は、60度の倍数をなすことにより、ストライプ構造の方向が複数方向となっても、六方晶の炭化珪素基板において、半導体セルの電気的特性が変わらないため、ストライプ構造の方向が1つの場合に比べても設計が複雑にならない半導体チップを実現することができる。
【0008】
本発明の半導体チップは、上述の態様の具体的態様として、前記第2導電型の半導体のストライプ構造は、2つの方向に配置されており、その2つのストライプ構造は、半導体チップの第1主面の中央を通る配線又は仮想線について互いに鏡面対称であるものである。
【0009】
このように、ストライプ構造が2つであり、鏡面対称であるので、ストライプ構造を構成する前記第2導電型の半導体のそれぞれの長さを効率よく調整して配置することができるから、このため、アクティブ領域の面積に対して効率よく高密度にストライプ構造を配置することができる。このため、アクティブ領域の面積に対して大きな電流を流すことが可能な半導体チップを実現することができる。
【0010】
本発明の半導体チップは、上述の態様の具体的態様として、前記第2導電型の半導体と前記電極のストライプ構造は、3つの方向に配置されており、それらの方向は3回回転対称をなすものである。
(【0011】以降は省略されています)
この特許をJ-PlatPat(特許庁公式サイト)で参照する
関連特許
個人
半導体装置
5日前
エイブリック株式会社
半導体装置
11日前
東レ株式会社
太陽電池モジュール
5日前
富士電機株式会社
半導体装置
1か月前
富士電機株式会社
半導体装置
14日前
ローム株式会社
半導体装置
6日前
富士通株式会社
半導体装置
4日前
三菱電機株式会社
半導体装置
4日前
AGC株式会社
太陽電池モジュール
17日前
日亜化学工業株式会社
発光装置
1か月前
ミツミ電機株式会社
半導体装置
11日前
株式会社半導体エネルギー研究所
半導体装置
1か月前
日亜化学工業株式会社
発光素子
4日前
TDK株式会社
圧電素子
4日前
日亜化学工業株式会社
発光素子
12日前
キヤノン株式会社
有機発光素子
24日前
日亜化学工業株式会社
発光装置
3日前
株式会社東芝
熱電変換装置
12日前
TDK株式会社
光検知装置
11日前
ローム株式会社
TVSダイオード
12日前
ローム株式会社
TVSダイオード
12日前
ローム株式会社
窒化物半導体装置
1か月前
住友電気工業株式会社
半導体装置
24日前
住友電気工業株式会社
半導体装置
24日前
ローム株式会社
半導体装置
12日前
サンケン電気株式会社
半導体装置
10日前
デクセリアルズ株式会社
受光装置
10日前
キオクシア株式会社
記憶装置
10日前
内山工業株式会社
太陽電池
10日前
株式会社カネカ
太陽電池モジュール
12日前
三菱電機株式会社
半導体装置
18日前
個人
半導体装置
1か月前
株式会社カネカ
太陽電池モジュール
3日前
沖電気工業株式会社
発光装置及び表示装置
5日前
株式会社カネカ
太陽光発電システム
1か月前
キオクシア株式会社
半導体装置
18日前
続きを見る
他の特許を見る