TOP
|
特許
|
意匠
|
商標
特許ウォッチ
Twitter
他の特許を見る
10個以上の画像は省略されています。
公開番号
2025150743
公報種別
公開特許公報(A)
公開日
2025-10-09
出願番号
2024051793
出願日
2024-03-27
発明の名称
作業機械用情報入力システム
出願人
日立建機株式会社
代理人
弁理士法人開知
主分類
E02F
9/26 20060101AFI20251002BHJP(水工;基礎;土砂の移送)
要約
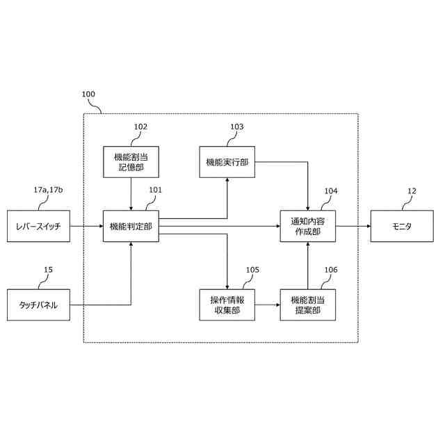
【課題】作業機械の操作レバーに設けられた入力装置、または操作レバー以外の機器に設けられた入力装置への適切な機能割り当てをオペレータに提案することが可能な作業機械用情報入力システムを提供する。
【解決手段】制御装置100は、レバースイッチ17a,17bおよびタッチパネル15の操作によって前記複数の機能のいずれかが実行されたことを示す操作情報を収集し、収集した前記操作情報を基に、レバースイッチ17a,17bまたはタッチパネル15に割り当てる機能の提案をモニタ12に出力する。
【選択図】 図5
特許請求の範囲
【請求項1】
作業機械の複数の機能を実行する制御装置と、
前記作業機械を操作するための操作レバーに設けられ、前記複数の機能のいずれかの実行を前記制御装置に指示する第1入力装置と、
前記作業機械に搭載される機器のうち前記操作レバー以外の機器に設けられ、前記複数の機能のいずれかの実行を前記制御装置に指示する第2入力装置と、を備えた作業機械用情報入力システムにおいて、
前記作業機械の情報を通知する通知装置を備え、
前記第1入力装置および前記第2入力装置のそれぞれは、前記複数の機能のうちいずれか1つの機能を選択的に割当可能であり、
前記制御装置は、
前記第1入力装置および前記第2入力装置の操作によって前記複数の機能のいずれかが実行されたことを示す操作情報を収集し、
収集した前記操作情報を基に、前記第1入力装置または前記第2入力装置に割り当てる機能の提案を前記通知装置に出力する
ことを特徴とする作業機械の情報入力システム。
続きを表示(約 1,300 文字)
【請求項2】
請求項1に記載の作業機械の情報入力システムにおいて、
前記操作レバー以外の機器は、前記作業機械の運転室に設置されたモニタであり、
前記第2入力装置は、前記モニタに設けられたタッチパネルである
ことを特徴とする作業機械の情報入力システム。
【請求項3】
請求項1に記載の作業機械の情報入力システムにおいて、
前記操作情報は、前記第1入力装置および前記第2入力装置にそれぞれ割り当てられている機能の実行回数である
ことを特徴とする作業機械の情報入力システム。
【請求項4】
請求項3に記載の作業機械の情報入力システムにおいて、
前記制御装置は、前記第2入力装置に割り当てられている機能の実行回数から前記第1入力装置に割り当てられている機能の実行回数を引いた差分が所定の閾値以上となった場合に、前記第2入力装置に割り当てられている機能を前記第1入力装置に割り当てるよう提案する
ことを特徴とする作業機械の情報入力システム。
【請求項5】
請求項3に記載の作業機械の情報入力システムにおいて、
前記制御装置は、
前記作業機械が所定のモードに移行した際に、前記第1入力装置および前記第2入力装置にそれぞれ割り当てられている機能の実行回数のカウントを開始し、
前記作業機械が前記所定のモードから離脱した際に、前記第1入力装置および前記第2入力装置にそれぞれ割り当てられている機能の実行回数をリセットする
ことを特徴とする作業機械の情報入力システム。
【請求項6】
請求項1に記載の作業機械の情報入力システムにおいて、
前記制御装置は、前記作業機械がキーオフ状態からキーオン状態に切り替わったタイミング、または、前記作業機械の運転室に設置されたシャットオフレバーがアンロック状態からロック状態に切り替わったタイミングで、前記提案を前記通知装置に出力する
ことを特徴とする作業機械の情報入力システム。
【請求項7】
請求項1に記載の作業機械の情報入力システムにおいて、
前記制御装置は、前記提案に、前記第1入力装置または前記第2入力装置に割り当てられている機能の名称と、前記第1入力装置または前記第2入力装置に割り当てることを提案する機能の名称とを含める
ことを特徴とする作業機械の情報入力システム。
【請求項8】
請求項1に記載の作業機械の情報入力システムにおいて、
前記制御装置は、前記提案が却下されていた履歴がある場合には、前記提案を前記通知装置に出力しない
ことを特徴とする作業機械の情報入力システム。
【請求項9】
請求項1に記載の作業機械の情報入力システムにおいて、
前記通知装置は、モニタであり、
前記制御装置は、前記第1入力装置に割り当てる機能の提案と合わせて、前記第1入力装置の配置が分かる前記操作レバーの模式図を前記モニタに出力する
ことを特徴とする作業機械の情報入力システム。
発明の詳細な説明
【技術分野】
【0001】
本発明は、例えば油圧ショベル等の作業機械に情報を入力するシステムに関する。
続きを表示(約 1,200 文字)
【背景技術】
【0002】
近年、油圧ショベル等の作業機械の多機能化が進んでおり、多数の電子機器が作業機械に搭載されるようになってきている。
【0003】
これらの電子機器によって実現される機能として、例えば、作業機械及び作業機械の作業装置に取り付けられた各種センサが取得した情報から作業機械及び作業装置の位置や姿勢を算出し、施工時の目標面との位置関係をオペレータに通知することで作業を補助するマシンガイダンス(MG)という機能が挙げられる。
【0004】
また、作業機械及び作業装置の位置、姿勢の情報と予め設定した作業領域の情報から、作業機械及び作業装置が作業領域の境界へと接近している度合いを算出し、接近度合いに合わせてオペレータへの通知及び作業機械乃至作業装置の動作制限をかけることで、作業領域内で作業することを補助する領域制限という機能もある。
【0005】
さらには、作業機械に搭載されたカメラ等のセンサから取得した情報をもとにオペレータに作業機械周囲の状況を画像情報等を用いて通知する機能や、周囲の作業員を検知して、検知した情報を通知する機能等もある。
【0006】
これまでにあげたような様々な機能を使用するためには、各機能の設定等を行うための情報を入力できる入力装置が必要となる。そのような入力装置として、例えば、各種アクチュエータを操作する操作レバーに設けられたレバースイッチ等があげられる。また、最近では、タッチパネルモニタ等を始めとする各種情報デバイスが入力装置として作業機械にも活用されるようになってきている。
【0007】
作業機械の機能の増加に伴い、作業機械に搭載される入力装置も増加してきており、機能と入力装置の組み合わせが膨大になってきている。機能と入力装置の組み合わせが適切であるほど、作業効率は向上する。
【0008】
特許文献1のショベルでは、操作レバーに設けられた操作スイッチ(入力装置)に複数の機能のうちの1つを選択的に割り当てることができる。そのため、オペレータは、所望の機能を操作スイッチに割り当てることにより、作業効率の向上を図ることできる。
【先行技術文献】
【特許文献】
【0009】
特開2017-110472号公報
【発明の概要】
【発明が解決しようとする課題】
【0010】
特許文献1のショベルでは、複数の機能のうちの1つを選択的に操作スイッチに割り当てることが可能である。しかし、オペレータは、操作レバーに設けられた操作スイッチ(入力装置)、および操作レバー以外の機器に設けられた入力装置のそれぞれにどの機能を割り当てれば作業効率が向上するかが分からなければ、適切な割り当てを行うことができない。そして、適切な機能の割り当てがオペレータにより行われなければ、作業効率を却って低下させてしまうおそれがある。
(【0011】以降は省略されています)
この特許をJ-PlatPat(特許庁公式サイト)で参照する
関連特許
日立建機株式会社
作業機械
3日前
日立建機株式会社
作業機械
16日前
日立建機株式会社
油圧機器
11日前
日立建機株式会社
作業機械
12日前
日立建機株式会社
作業機械
12日前
日立建機株式会社
作業機械
12日前
日立建機株式会社
作業車両
12日前
日立建機株式会社
作業車両
12日前
日立建機株式会社
建設機械
12日前
日立建機株式会社
建設機械
12日前
日立建機株式会社
建設機械
16日前
日立建機株式会社
油圧機器
16日前
日立建機株式会社
作業車両
16日前
日立建機株式会社
作業機械
10日前
日立建機株式会社
建設機械
16日前
日立建機株式会社
作業機械
16日前
日立建機株式会社
作業機械
16日前
日立建機株式会社
作業機械
16日前
日立建機株式会社
建設機械
16日前
日立建機株式会社
作業機械
17日前
日立建機株式会社
作業機械
17日前
日立建機株式会社
作業機械
20日前
日立建機株式会社
建設機械
20日前
日立建機株式会社
作業機械
24日前
日立建機株式会社
作業機械
10日前
日立建機株式会社
作業機械
1か月前
日立建機株式会社
作業車両
10日前
日立建機株式会社
作業機械
10日前
日立建機株式会社
作業車両
5日前
日立建機株式会社
作業機械
9日前
日立建機株式会社
転圧機械
10日前
日立建機株式会社
作業機械
9日前
日立建機株式会社
作業車両
9日前
日立建機株式会社
建設機械
10日前
日立建機株式会社
変速装置
9日前
日立建機株式会社
作業機械
9日前
続きを見る
他の特許を見る