TOP
|
特許
|
意匠
|
商標
特許ウォッチ
Twitter
他の特許を見る
公開番号
2025150820
公報種別
公開特許公報(A)
公開日
2025-10-09
出願番号
2024051938
出願日
2024-03-27
発明の名称
情報処理システム、情報処理方法、及びプログラム
出願人
日本電気株式会社
代理人
個人
主分類
G16H
10/00 20180101AFI20251002BHJP(特定の用途分野に特に適合した情報通信技術)
要約
【課題】患者の本人確認をより確実に行うこと。
【解決手段】情報処理システムは、患者の生体情報を取得する生体情報取得手段と、生体情報取得手段により取得された生体情報に基づいて、患者の認証を行う認証処理手段と、認証処理手段により認証された患者の生体情報を、患者の識別情報に対応付けて記憶する第1記憶手段と、認証処理手段により認証された患者の生体情報に基づいて、患者の署名情報を生成し、署名情報を含む署名付きトレース情報を生成するトレース情報生成手段と、トレース情報生成手段により生成された署名付きトレース情報を取得するトレース情報取得手段と、トレース情報取得手段により取得された署名付きトレース情報の署名情報に対して検証処理を行う検証処理手段と、を備える。
【選択図】図2
特許請求の範囲
【請求項1】
患者の生体情報を取得する生体情報取得手段と、
前記生体情報取得手段により取得された生体情報に基づいて、前記患者の認証を行う認証処理手段と、
前記認証処理手段により認証された患者の生体情報を、前記患者の識別情報に対応付けて記憶する第1記憶手段と、
前記認証処理手段により認証された患者の生体情報に基づいて、該患者の署名情報を生成し、該署名情報を含む署名付きトレース情報を生成するトレース情報生成手段と、
前記トレース情報生成手段により生成された署名付きトレース情報を取得するトレース情報取得手段と、
前記トレース情報取得手段により取得された署名付きトレース情報の署名情報に対して検証処理を行う検証処理手段と、
を備える、
情報処理システム。
続きを表示(約 1,900 文字)
【請求項2】
請求項1記載の情報処理システムであって、
前記患者の署名情報を検証するための鍵検証情報と、該署名情報を生成するための鍵パラメータ情報と、を生成する鍵情報生成手段と、
前記鍵情報生成手段により生成された鍵検証情報と鍵パラメータ情報とを、前記認証された患者の生体情報と該患者の識別情報に対応付けて記憶する第2記憶手段と、
を更に備え、
前記トレース情報生成手段は、前記患者の識別情報に対応する前記鍵パラメータ情報と前記生体情報とに基づいて署名情報を生成し、該署名情報を含む署名付きトレース情報を生成し、
前記検証処理手段は、前記認証処理手段により認証された患者の識別情報に対応した鍵検証情報に基づいて、前記トレース情報取得手段により取得された署名付きトレース情報の署名情報に対して検証処理を行う、
情報処理システム。
【請求項3】
請求項2記載の情報処理システムであって、
前記患者の同意を求める同意情報の表示を行う表示手段を更に備え、
前記表示手段に表示された同意情報に対して、患者が同意する操作が行われた場合、前記トレース情報生成手段は、前記鍵情報生成手段により生成された鍵パラメータ情報と前記生体情報とに基づいて署名情報を生成し、該署名情報を含む署名付き同意情報を生成する、
情報処理システム。
【請求項4】
請求項1記載の情報処理システムであって、
前記トレース情報生成手段により生成された署名付きトレース情報は、前記患者から採取された検体に基づき生成されたワクチン又は治療薬対して添付される、
情報処理システム。
【請求項5】
請求項1記載の情報処理システムであって、
前記検証処理手段は、前記患者に対しワクチン又は治療薬を投与する前に、前記検証処理を行う、
情報処理システム。
【請求項6】
請求項5記載の情報処理システムであって、
前記ワクチン又は治療薬は、前記患者に対する個別化ワクチン又は個別化治療薬である、
情報処理システム。
【請求項7】
請求項1記載の情報処理システムであって、
前記トレース情報は、読込装置によって読込可能な形態で表示された情報である、
情報処理システム。
【請求項8】
患者の生体情報を取得するステップと、
前記取得された生体情報に基づいて、前記患者の認証を行うステップと、
前記認証された患者の生体情報を、前記患者の識別情報に対応付けて記憶するステップと、
前記認証された患者の生体情報に基づいて、該患者の署名情報を生成し、該署名情報を含む署名付きトレース情報を生成するステップと、
前記生成された署名付きトレース情報を取得するステップと、
前記取得された署名付きトレース情報の署名情報に対して検証処理を行うステップと、
を含む、
情報処理方法。
【請求項9】
患者の生体情報を取得する処理と、
前記取得された生体情報に基づいて、前記患者の認証を行う処理と、
前記認証された患者の生体情報を、前記患者の識別情報に対応付けて記憶する処理と、
前記認証された患者の生体情報に基づいて、該患者の署名情報を生成し、該署名情報を含む署名付きトレース情報を生成する処理と、
前記生成された署名付きトレース情報を取得する処理と、
前記取得された署名付きトレース情報の署名情報に対して検証処理を行う処理と、
をコンピュータに実行させる、
プログラム。
【請求項10】
患者の生体情報を取得する生体情報取得手段と、
前記生体情報取得手段により取得された生体情報に基づいて、前記患者の認証を行う認証処理手段と、
前記認証処理手段により認証された患者の生体情報を、前記患者の識別情報に対応付けて記憶する第1記憶手段と、
前記認証処理手段により認証された患者の識別情報を含む、該患者のトレース情報を生成するトレース情報生成手段と、
前記トレース情報生成手段により生成されたトレース情報を取得するトレース情報取得手段と、
前記トレース情報取得手段により取得されたトレース情報の識別情報と、前記認証処理手段により認証された患者の生体情報に対応した識別情報と、の一致を検証する検証処理を行う検証処理手段と、
を備える、
情報処理システム。
(【請求項11】以降は省略されています)
発明の詳細な説明
【技術分野】
【0001】
本開示は、情報処理システム、情報処理方法、及びプログラムに関する。
続きを表示(約 2,800 文字)
【背景技術】
【0002】
例えば、医療機関で、患者から血液やがんの腫瘍部分などの検体が採取され、その検体を基に、複数の機関や企業などを経て、その患者に特化した、所謂、個別化ワクチンが生成される。そして、医療機関で、その同一の患者に対し、生成された個別化ワクチンが投与される。このような、ワクチンの生成フローにおいて、検体検出の医療機関と、個別化ワクチン投与の医療機関との間のフローにおいて生成物の管理を行うシステムが知られている(例えば、特許文献1参照)。
【先行技術文献】
【特許文献】
【0003】
国際公開第2023/058625号
【発明の概要】
【発明が解決しようとする課題】
【0004】
しかしながら、上記のように、検体採取を行う医療機関と、個別化ワクチン投与の医療機関との間だけの管理では、本人確認が十分といえず、管理が不十分となる可能性があり、ワクチンの投与間違いが生じる虞がある。
【0005】
本開示の目的は、上述した課題のいずれかを解決する情報処理システム、情報処理方法、及びプログラムを提供することにある。
【課題を解決するための手段】
【0006】
上記目的を達成するための本開示の一態様は、
患者の生体情報を取得する生体情報取得手段と、
前記生体情報取得手段により取得された生体情報に基づいて、前記患者の認証を行う認証処理手段と、
前記認証処理手段により認証された患者の生体情報を、前記患者の識別情報に対応付けて記憶する第1記憶手段と、
前記認証処理手段により認証された患者の生体情報に基づいて、該患者の署名情報を生成し、該署名情報を含む署名付きトレース情報を生成するトレース情報生成手段と、
前記トレース情報生成手段により生成された署名付きトレース情報を取得するトレース情報取得手段と、
前記トレース情報取得手段により取得された署名付きトレース情報の署名情報に対して検証処理を行う検証処理手段と、
を備える、
情報処理システム
である。
上記目的を達成するための本開示の一態様は、
患者の生体情報を取得するステップと、
前記取得された生体情報に基づいて、前記患者の認証を行うステップと、
前記認証された患者の生体情報を、前記患者の識別情報に対応付けて記憶するステップと、
前記認証された患者の生体情報に基づいて、該患者の署名情報を生成し、該署名情報を含む署名付きトレース情報を生成するステップと、
前記生成された署名付きトレース情報を取得するステップと、
前記取得された署名付きトレース情報の署名情報に対して検証処理を行うステップと、
を含む、
情報処理方法
である。
上記目的を達成するための本開示の一態様は、
患者の生体情報を取得する処理と、
前記取得された生体情報に基づいて、前記患者の認証を行う処理と、
前記認証された患者の生体情報を、前記患者の識別情報に対応付けて記憶する処理と、
前記認証された患者の生体情報に基づいて、該患者の署名情報を生成し、該署名情報を含む署名付きトレース情報を生成する処理と、
前記生成された署名付きトレース情報を取得する処理と、
前記取得された署名付きトレース情報の署名情報に対して検証処理を行う処理と、
をコンピュータに実行させる、
プログラム
である。
上記目的を達成するための本開示の一態様は、
患者の生体情報を取得する生体情報取得手段と、
前記生体情報取得手段により取得された生体情報に基づいて、前記患者の認証を行う認証処理手段と、
前記認証処理手段により認証された患者の生体情報を、前記患者の識別情報に対応付けて記憶する第1記憶手段と、
前記認証処理手段により認証された患者の識別情報を含む、該患者のトレース情報を生成するトレース情報生成手段と、
前記トレース情報生成手段により生成されたトレース情報を取得するトレース情報取得手段と、
前記トレース情報取得手段により取得されたトレース情報の識別情報と、前記認証処理手段により認証された患者の生体情報に対応した識別情報と、の一致を検証する検証処理を行う検証処理手段と、
を備える、
情報処理システム
である。
上記目的を達成するための本開示の一態様は、
患者の生体情報を取得するステップと、
前記取得された生体情報に基づいて、前記患者の認証を行うステップと、
前記認証された患者の生体情報を、前記患者の識別情報に対応付けて記憶するステップと、
前記認証された患者の識別情報を含む、該患者のトレース情報を生成するステップと、
前記生成されたトレース情報を取得するステップと、
前記取得されたトレース情報の識別情報と、前記認証された患者の生体情報に対応した識別情報と、の一致を検証する検証処理を行うステップと、
を含む、
情報処理方法
である。
【発明の効果】
【0007】
本開示によれば、上述した課題のいずれかを解決する情報処理システム、情報処理方法、及びプログラムを提供することができる。
【図面の簡単な説明】
【0008】
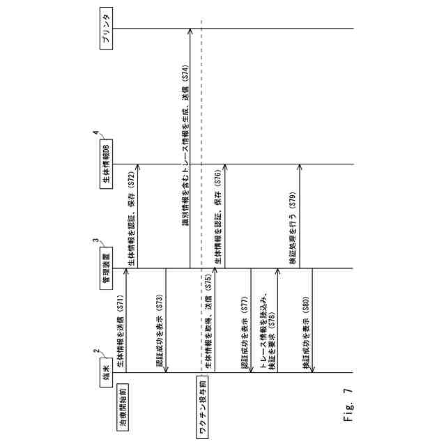
本開示にかかる情報処理システムの概略的なハードウェア構成を示す図である。
本開示にかかる情報処理システムの概略的なシステム構成を示すブロック図である。
本開示にかかる情報処理方法のチャート図である。
本開示にかかる端末の表示例を示す図である。
本開示にかかる情報処理システムの概略的なシステム構成を示すブロック図である。
本開示にかかる情報処理方法のチャート図である。
本開示にかかる情報処理方法のチャート図である。
【発明を実施するための形態】
【0009】
実施形態1
例えば、病院など医療機関で、患者から血液やがんの腫瘍部分などの検体が採取され、その検体を基に、複数の機関や企業などを経て、その患者に特化した、所謂、個別化ワクチンや個別化治療薬が生成される。そして、医療機関で、その同一の患者に対し、生成された個別化ワクチンや個別化治療薬が投与される。
【0010】
このように、個別化ワクチンや個別化治療薬の工程において、ある患者から採取された検体を基にしたワクチンや治療薬が同一の患者に投与される必要がある。
(【0011】以降は省略されています)
この特許をJ-PlatPat(特許庁公式サイト)で参照する
関連特許
日本電気株式会社
監視装置
今日
日本電気株式会社
監視装置
今日
日本電気株式会社
管理装置
今日
日本電気株式会社
分析装置
16日前
日本電気株式会社
海底分岐装置
1日前
日本電気株式会社
光集積回路素子
5日前
日本電気株式会社
レーザモジュール
6日前
日本電気株式会社
超伝導量子回路装置
6日前
日本電気株式会社
受信器および通信装置
7日前
日本電気株式会社
量子回路装置と制御方法
16日前
日本電気株式会社
量子回路装置と制御方法
16日前
日本電気株式会社
送信装置および通信装置
12日前
日本電気株式会社
システム、装置及び方法
6日前
日本電気株式会社
通信装置および通信方法
12日前
日本電気株式会社
光伝送システムおよび方法
8日前
日本電気株式会社
分析方法および分析システム
13日前
日本電気株式会社
制御装置、プログラム及び方法
6日前
日本電気株式会社
演算処理装置および演算処理方法
8日前
日本電気株式会社
兆候検知装置および兆候検知方法
8日前
日本電気株式会社
共振器及びそれを備えた導波回路
14日前
日本電気株式会社
放送用システムおよび字幕作成方法
8日前
日本電気株式会社
推定装置、推定方法及びプログラム
6日前
日本電気株式会社
情報処理装置、制御方法及び記憶媒体
6日前
日本電気株式会社
波長可変レーザ装置及びその構成方法
12日前
日本電気株式会社
ソーナー装置、通信方法、プログラム
8日前
日本電気株式会社
推定装置、推定方法、及び、記録媒体
13日前
日本電気株式会社
画像管理システムおよび画像管理方法
14日前
日本電気株式会社
判別装置、判別方法、およびプログラム
8日前
日本電気株式会社
安否確認支援装置、方法及びプログラム
1日前
日本電気株式会社
学習装置、学習方法及び学習プログラム
6日前
日本電気株式会社
通信装置、通信方法及び通信プログラム
13日前
日本電気株式会社
注文端末、注文受付方法及びプログラム
12日前
日本電気株式会社
情報処理装置、情報処理方法、プログラム
14日前
日本電気株式会社
動作認識装置、動作認識方法、プログラム
8日前
日本電気株式会社
管理装置、管理方法および管理プログラム
14日前
日本電気株式会社
画像選択装置、画像選択方法及び記憶媒体
14日前
続きを見る
他の特許を見る