TOP
|
特許
|
意匠
|
商標
特許ウォッチ
Twitter
他の特許を見る
10個以上の画像は省略されています。
公開番号
2025151262
公報種別
公開特許公報(A)
公開日
2025-10-09
出願番号
2024052593
出願日
2024-03-27
発明の名称
保護素子
出願人
デクセリアルズ株式会社
代理人
個人
,
個人
主分類
H01H
37/76 20060101AFI20251002BHJP(基本的電気素子)
要約
【課題】高融点金属層と低融点金属層を有する可溶導体を用いて、速やかに且つ確実に電流経路を遮断でき、また簡易な工程で製造できる保護素子を提供する。
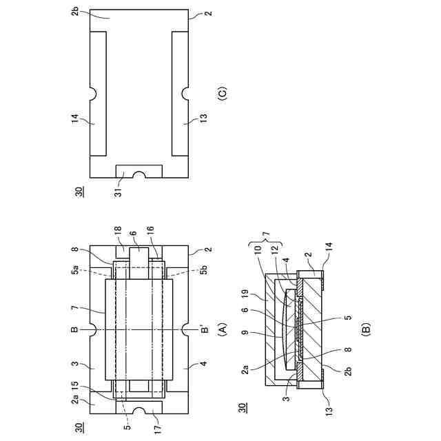
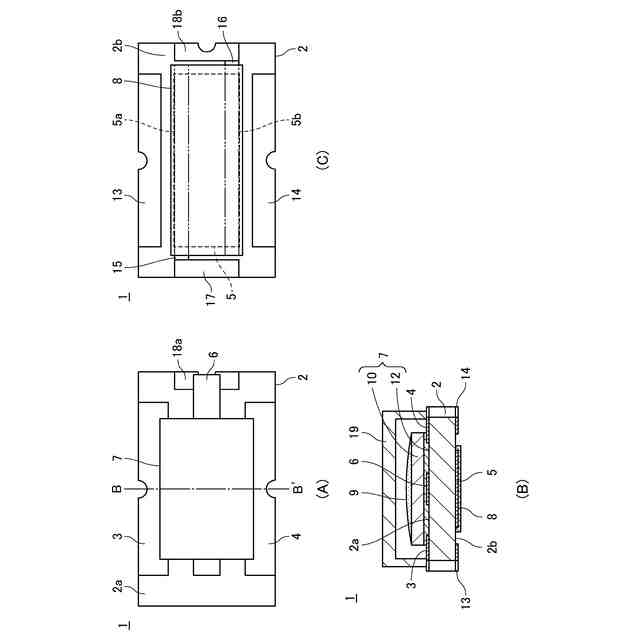
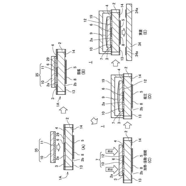
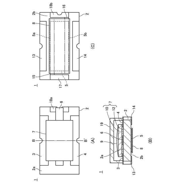
【解決手段】保護素子1は、絶縁基板2と、発熱体5と、第1、第2の電極3,4と、発熱体引出電極6と、定格電流を超えた過電流の通電による自己発熱及び/又は発熱体5の発熱により溶断し、電流経路を遮断する可溶導体7を備え、可溶導体7は、高融点金属層10と第2の低融点金属層12の積層構造を有し、可溶導体7は、第2の低融点金属層12が絶縁基板2に対向する向きで第2の低融点金属層12を介して第1の電極3上、第2の電極4上及び発熱体引出電極6上に接続され、第1の電極3と発熱体引出電極6との間及び第2の電極4と発熱体引出電極6との間において、第2の低融点金属層12の少なくとも一部が絶縁基板2と直接又は間接的に接触している。
【選択図】図1
特許請求の範囲
【請求項1】
絶縁基板と、
前記絶縁基板に設けられた発熱体と、
前記絶縁基板に設けられた第1の電極及び第2の電極と、
前記第1の電極及び第2の電極の間の電流経路上で前記発熱体に電気的に接続された発熱体引出電極と、
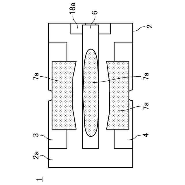
前記第1の電極、前記発熱体引出電極、及び前記第2の電極にわたって接続され、定格電流を超えた過電流の通電による自己発熱及び/又は前記発熱体の発熱により、前記第1の電極及び第2の電極間で溶断し、電流経路を遮断する可溶導体とを備え、
前記可溶導体は、高融点金属層と、前記高融点金属層を構成する高融点金属と前記高融点金属よりも融点の低い第1の低融点金属との合金で構成された第2の低融点金属層の積層構造をなし、
前記可溶導体は、前記第2の低融点金属層が前記絶縁基板に対向する向きで前記第2の低融点金属層を介して前記第1の電極上、前記第2の電極上及び前記発熱体引出電極上に接続され、
前記第1の電極と前記発熱体引出電極との間及び前記第2の電極と前記発熱体引出電極との間において、前記可溶導体は、前記第2の低融点金属層の少なくとも一部が、前記絶縁基板と、直接又は間接的に接触している、
保護素子。
続きを表示(約 1,000 文字)
【請求項2】
回路基板に実装され、前記回路基板の異常時に前記回路基板内の少なくとも一部の通電を遮断する保護素子であって、
前記第2の低融点金属層の液相点が前記保護素子の前記回路基板への実装温度よりも高い、請求項1に記載の保護素子。
【請求項3】
前記絶縁基板の前記可溶導体が設けられた表面に設けられ、前記可溶導体を覆うカバー部材を備え、
前記カバー部材の内面に、前記可溶導体の前記第2の低融点金属層が前記絶縁基板に接触する部位を押さえる規制壁を有する、請求項1に記載の保護素子。
【請求項4】
前記絶縁基板の、前記第1の電極と前記発熱体引出電極との間及び第2の電極と前記発熱体引出電極との間に形成され、厚さが前記第1及び第2の電極と前記発熱体引出電極のいずれの厚さよりも厚い絶縁層を有し、
前記第2の低融点金属層は、前記絶縁層に接触している、請求項1に記載の保護素子。
【請求項5】
前記絶縁層の厚さは、前記発熱体引出電極の厚さと前記第1の低融点金属層の厚さの合計よりも厚い、請求項4に記載の保護素子。
【請求項6】
前記絶縁基板の、前記第1の電極と前記発熱体引出電極との間及び第2の電極と前記発熱体引出電極との間に形成され、高さが前記第1及び第2の電極と前記発熱体引出電極のいずれの厚さよりも高い凸部を有し、
前記第2の低融点金属層は、前記凸部に接触している、請求項1に記載の保護素子。
【請求項7】
前記凸部の高さは、前記発熱体引出電極の厚さと前記第1の低融点金属層の厚さの合計よりも高い、請求項6に記載の保護素子。
【請求項8】
前記発熱体は、前記絶縁基板の前記可溶導体が設けられた表面、又は前記表面の反対側の裏面に設けられ、
少なくとも前記発熱体を覆うように、前記絶縁基板に設けられた絶縁部材を有する、請求項1~7のいずれか1項に記載の保護素子。
【請求項9】
前記発熱体は、前記絶縁基板の内部に設けられている、請求項1~7のいずれか1項に記載の保護素子。
【請求項10】
前記第2の低融点金属層と前記絶縁基板の接触する面積は、前記可溶導体と重なる前記第1の電極と前記発熱体引出電極の間の面積の50%以上、且つ前記可溶導体と重なる前記第2の電極と前記発熱体引出電極の間の面積の50%以上である請求項1~7のいずれか1項に記載の保護素子。
(【請求項11】以降は省略されています)
発明の詳細な説明
【技術分野】
【0001】
本技術は、回路基板に実装され、回路基板の異常時に回路基板内の少なくとも一部の通電を遮断する保護素子に関する。
続きを表示(約 2,400 文字)
【背景技術】
【0002】
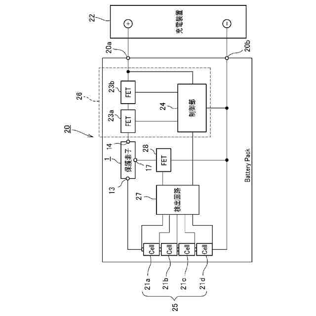
充電して繰り返し利用することのできる二次電池の多くは、バッテリパックに加工されてユーザに提供される。例えば、重量エネルギー密度の高いリチウムイオン二次電池においては、ユーザ及び電子機器の安全を確保するために、一般的に、過充電保護、過放電保護等のいくつもの保護回路をバッテリパックに内蔵し、所定の場合にバッテリパックの出力を遮断する機能を有している。
【0003】
例えば、バッテリパックの保護機構としては、バッテリパックに内蔵されたFETスイッチを用いて出力のON/OFFを行うことにより、バッテリパックの過充電保護又は過放電保護動作を行うものがある。しかしながら、何らかの原因でFETスイッチが短絡破壊した場合、雷サージ等が印加されて瞬間的な大電流が流れた場合、あるいはバッテリセルの寿命によって出力電圧が異常に低下したり、逆に過大異常電圧を出力したりした場合であっても、バッテリパックや電子機器は、発火等の事故から保護されなければならない。そこで、このような想定し得るいかなる異常状態においても、バッテリセルの出力を安全に遮断するために、外部からの信号によって電流経路を遮断する機能を有するヒューズ素子からなる保護素子が用いられる。
【0004】
このようなリチウムイオン二次電池等向けの保護回路の保護素子として、特許文献1に記載されているように、保護素子内部に発熱体を有し、この発熱体によって電流経路上の可溶導体を溶断する構造が一般的に用いられている。
【0005】
特許文献1に記載されているような保護素子においては、リフロー実装を用いた場合に、リフローの熱によって溶融しないように、一般的には、可溶導体には融点が300℃以上のPb入り高融点ハンダが用いられている。しかしながら、RoHS指令等においては、Pb含有ハンダの使用は、限定的に認められているに過ぎず、今後Pbフリー化の要求は、強まるものと考えられる。
【先行技術文献】
【特許文献】
【0006】
特開2010-170801号公報
特開2004-185960号公報
特開2012-003878号公報
【発明の概要】
【発明が解決しようとする課題】
【0007】
ここで、「ハンダ喰われ」や「溶食現象」は、電子部品等のAuメッキ、Agメッキが、溶融したハンダ内に溶けだす現象として以前からよく知られており、この現象を利用してPbフリーハンダ材に対応した保護素子が、特許文献2に記載されている。しかしながら、特許文献2に記載されているように、絶縁層に高融点金属膜が密着された構造では、高融点金属膜が低融点金属膜の溶融により溶食現象(溶解現象ともいう)を生じるのみであり、回路の遮断を完全にできない場合があるとの問題がある。また、可溶導体を確実に溶断させるのには、高融点金属層等にスリット及び膜厚段差等を形成するのが好ましいが、スリット及び膜厚段差形成のための工程が増加するとの問題がある(たとえば、特許文献3を参照)。
【0008】
そこで、本技術は、高融点金属層と低融点金属層を有する可溶導体を用いて、速やかに且つ確実に電流経路を遮断することができ、また簡易な工程で製造することができる保護素子を提供することを目的とする。
【課題を解決するための手段】
【0009】
上述した課題を解決するために、本技術に係る保護素子は、絶縁基板と、前記絶縁基板に設けられた発熱体と、前記絶縁基板に設けられた第1の電極及び第2の電極と、前記第1の電極及び第2の電極の間の電流経路上で前記発熱体に電気的に接続された発熱体引出電極と、前記第1の電極、前記発熱体引出電極、及び前記第2の電極にわたって接続され、定格電流を超えた過電流の通電による自己発熱及び/又は前記発熱体の発熱により、前記第1の電極及び第2の電極間で溶断し、電流経路を遮断する可溶導体とを備え、前記可溶導体は、高融点金属層と、前記高融点金属層を構成する高融点金属と前記高融点金属よりも融点の低い第1の低融点金属との合金で構成された第2の低融点金属層の積層構造をなし、前記可溶導体は、前記第2の低融点金属層が前記絶縁基板に対向する向きで前記第2の低融点金属層を介して前記第1の電極上、前記第2の電極上及び前記発熱体引出電極上に接続され、前記第1の電極と前記発熱体引出電極との間及び前記第2の電極と前記発熱体引出電極との間において、前記可溶導体は、前記第2の低融点金属層の少なくとも一部が、前記絶縁基板と、直接又は間接的に接触している。
【0010】
また、本技術に係る保護素子は、絶縁基板と、前記絶縁基板に設けられた発熱体と、前記絶縁基板に設けられた第1の電極及び第2の電極と、前記第1の電極及び第2の電極の間の電流経路上で前記発熱体に電気的に接続された発熱体引出電極と、前記第1の電極、前記発熱体引出電極、及び前記第2の電極にわたって接続され、定格電流を超えた過電流の通電による自己発熱及び/又は前記発熱体の発熱により、前記第1の電極及び第2の電極間で溶断し、電流経路を遮断する可溶導体とを備え、前記可溶導体は、低融点金属層の両面が前記低融点金属層よりも融点の高い高融点金属層によって被覆された被覆構造をなし、前記可溶導体は、前記第1の電極、前記第2の電極及び前記発熱体引出電極の各々と導電性接続材料を介して接続され、前記第1の電極と前記発熱体引出電極との間及び前記第2の電極と前記発熱体引出電極との間において、前記可溶導体は、少なくとも一部が、前記絶縁基板と直接又は間接的に接触している。
(【0011】以降は省略されています)
この特許をJ-PlatPat(特許庁公式サイト)で参照する
関連特許
個人
フレキシブル電気化学素子
8日前
日本発條株式会社
積層体
19日前
ローム株式会社
半導体装置
15日前
ローム株式会社
半導体装置
17日前
ローム株式会社
半導体装置
17日前
ローム株式会社
半導体装置
17日前
ローム株式会社
半導体装置
10日前
日新イオン機器株式会社
イオン源
4日前
株式会社ユーシン
操作装置
8日前
オムロン株式会社
電磁継電器
9日前
太陽誘電株式会社
全固体電池
15日前
個人
半導体パッケージ用ガラス基板
18日前
株式会社GSユアサ
蓄電装置
19日前
株式会社GSユアサ
蓄電設備
8日前
株式会社GSユアサ
蓄電設備
8日前
株式会社ホロン
冷陰極電子源
15日前
株式会社ホロン
冷陰極電子源
2日前
太陽誘電株式会社
コイル部品
8日前
株式会社GSユアサ
蓄電装置
15日前
TDK株式会社
電子部品
15日前
トヨタ自動車株式会社
バッテリ
9日前
ノリタケ株式会社
熱伝導シート
8日前
トヨタ自動車株式会社
蓄電装置
8日前
日東電工株式会社
積層体
9日前
サクサ株式会社
電池の固定構造
8日前
日本特殊陶業株式会社
保持装置
17日前
ローム株式会社
電子装置
19日前
日本特殊陶業株式会社
保持装置
19日前
日本特殊陶業株式会社
保持装置
15日前
日本特殊陶業株式会社
保持装置
15日前
ローム株式会社
半導体装置
10日前
ローム株式会社
半導体装置
10日前
株式会社ダイヘン
搬送装置
8日前
株式会社トクヤマ
シリコンエッチング液
2日前
TDK株式会社
コイル部品
15日前
株式会社トクヤマ
シリコンエッチング液
2日前
続きを見る
他の特許を見る