TOP
|
特許
|
意匠
|
商標
特許ウォッチ
Twitter
他の特許を見る
公開番号
2025151377
公報種別
公開特許公報(A)
公開日
2025-10-09
出願番号
2024052772
出願日
2024-03-28
発明の名称
水蒸気透過率測定装置および水蒸気透過率測定方法
出願人
株式会社カネカ
代理人
個人
,
個人
主分類
G01N
15/08 20060101AFI20251002BHJP(測定;試験)
要約
【課題】水蒸気透過率の測定精度を向上する水蒸気透過率測定装置を提供する。
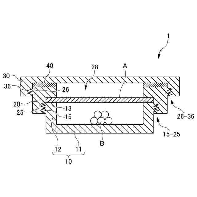
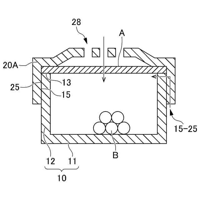
【解決手段】水蒸気透過率測定装置1は、フィルム状の試料Aの水蒸気透過率を測定する装置であって、底壁11と底壁の周縁において上方に延在した周側壁12とを有する容器であって、底壁11と周側壁12とで囲われた空間に吸湿材Bが配置され、空間を覆うように周側壁12の上端面13上に試料Aが配置される、容器10と、試料Aが露出する開口28を有し、周側壁12の上端面13と対向し、容器10の周側壁12の外周面の上部と嵌合する蓋であって、容器10の周側壁12と協働して試料が挟み込まれる、蓋20と、蓋20の開口28を封止する封止機構30と、を備える。
【選択図】図1
特許請求の範囲
【請求項1】
フィルム状の試料の水蒸気透過率を測定する装置であって、
底壁と前記底壁の周縁において上方に延在した周側壁とを有する容器であって、前記底壁と前記周側壁とで囲われた空間に吸湿材が配置され、前記空間を覆うように前記周側壁の上端面上に前記試料が配置される、容器と、
前記試料が露出する開口を有し、前記周側壁の上端面と対向し、前記容器の前記周側壁の外周面の上部と嵌合する蓋であって、前記容器の前記周側壁と協働して前記試料が挟み込まれる、蓋と、
前記蓋の開口を封止する封止機構と、
を備える、水蒸気透過率測定装置。
続きを表示(約 570 文字)
【請求項2】
前記封止機構は、前記蓋の開口を覆い、前記蓋の外周面の上部と嵌合する蓋である、請求項1に記載の水蒸気透過率測定装置。
【請求項3】
請求項1に記載の水蒸気透過率測定装置を用いた水蒸気透過率測定方法であって、
前記容器に前記吸湿材を配置し、前記容器に前記蓋を嵌合して前記容器と前記蓋で前記試料を挟み込み、所定湿度環境において所定時間経過後、前記吸湿材の質量変化を測定することによって、前記蓋の開口に露出する前記試料を透過する水蒸気透過量と、前記蓋と前記容器の周側壁の外周面との嵌合部である封止部からリークする水蒸気透過量と、を測定する、第1工程と、
前記容器に前記吸湿材を配置し、前記容器に前記蓋を嵌合して前記容器と前記蓋で前記試料を挟み込み、更に前記蓋の開口を前記封止機構で封止し、前記所定湿度環境において前記所定時間経過後、前記吸湿材の質量変化を測定することによって、前記蓋と前記容器の周側壁の外周面との嵌合部である封止部からリークする水蒸気透過量を測定する、第2工程と、
前記第1工程の測定値から前記第2工程の測定値を差し引いて、前記試料を透過する水蒸気透過量を得、得られた水蒸気透過量に基づいて水蒸気透過率を算出する、第3工程と、
を含む、水蒸気透過率測定方法。
発明の詳細な説明
【技術分野】
【0001】
本発明は、フィルム状の試料の水蒸気透過率を測定する装置および方法に関する。
続きを表示(約 1,900 文字)
【背景技術】
【0002】
食品、医薬品または電子部品等の包装材として、水蒸気透過性が低いバリアフィルムが用いられている。例えば非特許文献1,2および特許文献1には、このようなフィルム状(シート状)の試料の水蒸気透過率を測定する技術が開示されている。
【0003】
非特許文献1に記載のJIS Z 0208:1976、および非特許文献2に記載のISO 2528:1995で規定された防湿包装材料の透湿度試験方法(カップ法)では、
・底壁と周側壁とで構成されたカップと、カップの周側壁上に配置されるリングと、を備え、
・カップ内に吸湿剤が配置され、
・カップの周側壁とリングとの間に試料片が挟み込まれ、
・カップの周側壁とリングとの間の周縁にはみぞが配置されており、みぞには封ろう剤が流し込まれて、試料片の周縁が密封され、
・所定多湿環境において所定時間経過した後に質量を測定することにより、試料片を介してカップ内に侵入し、吸湿剤によって吸湿された透湿量を測定する。
【0004】
特許文献1に記載の水蒸気透過性測定方法では、
・金属腐食法(例えばカルシウム腐食法)を利用して、
・カルシウム等を含み、水蒸気を検出する箔状の水蒸気検出部を有する水蒸気透過性測定ユニット上に、試料を配置し、試料封止材で試料の周囲を封止し、
・所定多湿環境において所定時間経過した後に例えば画像処理により、水蒸気検出部の腐食の箇所を測定し、試料の水蒸気透過性を測定する。
【先行技術文献】
【特許文献】
【0005】
国際公開第2014/119690号
【非特許文献】
【0006】
JIS Z 0208:1976、防湿包装材料の透湿度試験方法(カップ法)“Testing Methods for Determination of the Water Vapour Transmission Rate of Moisture-Proof Packaging Materials (Dish Method)”、日本工業規格、1976年03月01日
ISO 2528:1995、“Sheet materials - Determination of water vapour transmission rate - Gravimetric (dish) method”、International Organization for Standardization、1995年9月1日
【発明の概要】
【発明が解決しようとする課題】
【0007】
本願発明者らの知見によれば、非特許文献1に記載の水蒸気透過率測定方法では、試料が厚くなると、または、試料の表面が粗くなると、カップの周側壁とリングとの間の試料の周縁を封ろう剤で密封しても、このカップの周側壁とリングと試料との封止部(シール部)の密封性(シール性)が低下してしまう。その結果、この封止部から水蒸気がリークしてしまい、試料の水蒸気透過率の測定精度が低下してしまう。
【0008】
また、本願発明者らの知見によれば、特許文献1に記載の水蒸気透過率測定方法でも、試料が厚くなると、または、試料の表面が粗くなると、試料封止材で試料の周囲を封止しても、この試料封止材と試料との封止部(シール部)の密封性(シール性)が低下してしまう。その結果、この封止部から水蒸気がリークしてしまい、試料の水蒸気透過率の測定精度が低下してしまう。
【0009】
本発明は、水蒸気透過率の測定精度を向上する水蒸気透過率測定装置および水蒸気透過率測定方法を提供することを目的とする。
【課題を解決するための手段】
【0010】
本発明に係る水蒸気透過率測定装置は、フィルム状の試料の水蒸気透過率を測定する装置であって、底壁と前記底壁の周縁において上方に延在した周側壁とを有する容器であって、前記底壁と前記周側壁とで囲われた空間に吸湿材が配置され、前記空間を覆うように前記周側壁の上端面上に前記試料が配置される、容器と、前記試料が露出する開口を有し、前記周側壁の上端面と対向し、前記容器の前記周側壁の外周面の上部と嵌合する蓋であって、前記容器の前記周側壁と協働して前記試料が挟み込まれる、蓋と、前記蓋の開口を封止する封止機構と、を備える。
(【0011】以降は省略されています)
この特許をJ-PlatPat(特許庁公式サイト)で参照する
関連特許
株式会社カネカ
飲料
17日前
株式会社カネカ
飲料
17日前
株式会社カネカ
製膜装置
21日前
株式会社カネカ
製膜装置
21日前
株式会社カネカ
カテーテル
15日前
株式会社カネカ
カテーテル
15日前
株式会社カネカ
カテーテル
15日前
株式会社カネカ
カテーテル
14日前
株式会社カネカ
カテーテル
16日前
株式会社カネカ
カテーテル
15日前
株式会社カネカ
酵母含有菓子
16日前
株式会社カネカ
シーリング材
14日前
株式会社カネカ
医療用具セット
17日前
株式会社カネカ
重量物載置架台
14日前
株式会社カネカ
太陽電池モジュール
14日前
株式会社カネカ
バルーンカテーテル
17日前
株式会社カネカ
気化装置及び製膜装置
15日前
株式会社カネカ
自動車用バンパー芯材
14日前
株式会社カネカ
予測方法及び製造方法
17日前
株式会社カネカ
透湿度測定用封止装置
15日前
株式会社カネカ
製造工場の管理システム
17日前
株式会社カネカ
繊維、及び、繊維構造体
14日前
株式会社カネカ
多加水パン生地用改良剤
15日前
株式会社カネカ
冷凍苺及びその製造方法
15日前
株式会社カネカ
多加水パン生地用改良剤
15日前
株式会社カネカ
太陽電池パネルの検査装置
10日前
株式会社カネカ
建材用太陽電池モジュール
14日前
株式会社カネカ
除細動用カテーテルシステム
14日前
株式会社クラレ
樹脂組成物
7日前
株式会社カネカ
熱可塑性フィルムの製造方法
3日前
クロイ電機株式会社
照明装置
21日前
株式会社カネカ
コンクリート塗装用塗料組成物
15日前
株式会社カネカ
塩化ビニル系重合体の製造方法
21日前
クロイ電機株式会社
照明装置
21日前
株式会社カネカ
米飯用油脂組成物及び米飯食品
17日前
株式会社カネカ
太陽電池および太陽電池製造方法
16日前
続きを見る
他の特許を見る