TOP
|
特許
|
意匠
|
商標
特許ウォッチ
Twitter
他の特許を見る
公開番号
2025151843
公報種別
公開特許公報(A)
公開日
2025-10-09
出願番号
2024053444
出願日
2024-03-28
発明の名称
開閉体の吊元構造
出願人
文化シヤッター株式会社
代理人
個人
,
個人
主分類
E06B
9/171 20060101AFI20251002BHJP(戸,窓,シャッタまたはローラブラインド一般;はしご)
要約
【課題】吊元ドラムの端における作業スペースを小さくでき、側方に壁などの建物構造体があってもメンテナンス作業を可能にできる。
【解決手段】巻取ドラムの両端外周に吊元ドラム23が固定され、吊元ドラム23には軸線に沿う方向の取付穴41が端面24に開口して形成され、吊元リンク33は、吊元ドラム23の端面24に平行な先端板部43に連結穴45が穿設されるとともに、連結穴45が連結部材47によって取付穴41に支持され、連結部材47は、吊元リンク33の外側から連結穴45を貫通して取付穴41に挿入されるピン49と、ピン49の基端に接続する規制部51と、規制部51のピン49と反対側の端に接続され吊元ドラム23の端面24から吊元ドラム23の内側へ挿入されて吊元ドラム23の外周から固定具によって固定される挿入板部53と、を備える。
【選択図】 図4
特許請求の範囲
【請求項1】
開閉体の上端から突出する吊元リンクが巻取ドラムに支持される開閉体の吊元構造であって、
前記巻取ドラムの両端外周には吊元ドラムが固定され、
前記吊元ドラムには軸線に沿う方向の取付穴が端面に開口して形成され、
前記吊元リンクは、前記吊元ドラムの端面に平行な先端板部に連結穴が穿設されるとともに、前記連結穴が連結部材によって前記取付穴に支持され、
前記連結部材は、前記吊元リンクの外側から前記連結穴を貫通して前記取付穴に挿入されるピンと、前記ピンの基端に接続する規制部と、前記吊元ドラムの外周から貫通される固定具によって前記ピンの前記取付穴への挿入状態を保持する固定手段と、を備えることを特徴とする開閉体の吊元構造。
続きを表示(約 480 文字)
【請求項2】
前記固定手段は、
前記規制部に突設されて前記吊元ドラムの端面から前記吊元ドラムの内側に挿入される前記挿入板部と、
前記吊元ドラムに穿設され前記固定具が挿入される貫通穴と、
前記挿入板部に設けられ前記貫通穴に挿入された前記固定具が固定される被固定穴と、を有し、
前記吊元ドラムの内周面には、前記挿入板部を前記軸線に沿う方向にスライド挿入にして、前記貫通穴を通る前記軸線と平行な仮想直線上に、前記被固定穴が重なるように前記挿入板部を案内するリブが形成されることを特徴とする請求項1に記載の開閉体の吊元構造。
【請求項3】
前記吊元ドラムの端面と前記規制部との間の距離が、前記先端板部の板厚よりも大きいことを特徴とする請求項1または2に記載の開閉体の吊元構造。
【請求項4】
前記連結穴が、長穴で形成されることを特徴とする請求項1または2に記載の開閉体の吊元構造。
【請求項5】
前記連結穴が、長穴で形成されることを特徴とする請求項3に記載の開閉体の吊元構造。
発明の詳細な説明
【技術分野】
【0001】
本発明は、開閉体の吊元構造に関する。
続きを表示(約 3,500 文字)
【背景技術】
【0002】
シャッターカーテンなどの開閉体は、巻取式の場合、開閉体の上縁が巻取ドラムに連結される。従来、開閉体の上縁は、巻取ドラムの外周面にボルト止めなどで固定されていた(例えば特許文献1参照)。一方、開閉体には、スラット同士の連結構成として、スラットの両端にリンクが固定され、そのリンク同士が連結されるものがある。このような構成の開閉体では、巻取ドラムの両端よりも内側にリンクが巻かれていく。このため、リンクを巻取ドラムに連結する最上端の吊元リンクは、巻取ドラムの端よりも外側にオフセットして巻取ドラムに連結される。
【先行技術文献】
【特許文献】
【0003】
特開2013-83100号公報
【発明の概要】
【発明が解決しようとする課題】
【0004】
巻取ドラムの端よりも外側に吊元リンクがオフセットして連結される開閉体では、吊元リンクが巻取ドラムの外周面ではなく、巻取ドラムの端から軸線方向へ段付ボルトを通して吊元リンクが連結される。このため、吊元リンクは、シャッター収納部の側部を構成するブラケットに穿設された穴から、ドライバー等の工具を挿入し、段付きボルトを巻取ドラムの端面に螺着することで取り付けられていた。
しかしながら、建物外壁面に取り付けられるシャッター収納部は、周囲に干渉する構造物が無い場合には、上記工具を使用できるが、外壁の内隅部が近接していたり、他の構造物が近接していたりすると、工具を使用するスペースが確保できない。このような場合では、段付きボルトの脱着ができなくなるため、巻取ドラムから開閉体を取り外したり、スラットを交換したりするメンテナンス作業ができなくなる問題があった。
【0005】
本発明は上記状況に鑑みてなされたもので、その目的は、吊元リンクを吊元ドラムの端から連結する構成でも側面の作業スペースを小さくでき、側方に壁などの建物構造体があってもメンテナンス作業を可能にすることができる開閉体の吊元構造を提供することにある。
【課題を解決するための手段】
【0006】
次に、上記の課題を解決するための手段を、実施の形態に対応する図面を参照して説明する。
本発明の請求項1記載の開閉体の吊元構造は、開閉体25の上端から突出する吊元リンク33が巻取ドラム21に支持される開閉体の吊元構造であって、
前記巻取ドラム21の両端外周には吊元ドラム23が固定され、
前記吊元ドラム23には軸線に沿う方向の取付穴41が端面24に開口して形成され、
前記吊元リンク33は、前記吊元ドラム23の端面24に平行な先端板部43に連結穴45が穿設されるとともに、前記連結穴45が連結部材47によって前記取付穴41に支持され、
前記連結部材47は、前記吊元リンク33の外側から前記連結穴45を貫通して前記取付穴41に挿入されるピン49と、前記ピン49の基端に接続する規制部51と、前記吊元ドラム23の外周から貫通される固定具57によって前記ピン49の前記取付穴41への挿入状態を保持する固定手段と、を備えることを特徴とする。
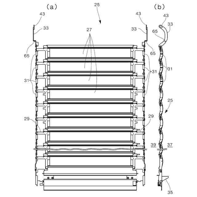
【0007】
この開閉体の吊元構造では、横長のスラット27が、上下に並んで開閉体25を構成する。それぞれのスラット27は、長手方向両端の上部から長手方向に突出する軸状突出部29を有する。開閉体25は、スラット27の両端から突出して上下で隣接する軸状突出部29同士がリンク31により連結されて簾状に構成される。開閉体25は、最上部のリンクが吊元リンク33となる。つまり、開閉体25は、上端の左右から上方に向かって吊元リンク33が突出する。
巻取ドラム21の両端外周には、吊元ドラム23が外嵌されて固定される。吊元ドラム23は、巻取ドラム21と一体に回転する。吊元ドラム23には、軸線に沿う方向の取付穴41が端面24に開口して形成される。
開閉体25は、上下に連なるリンク31が、吊元ドラム23の外周に巻き重ねられていく。すなわち、リンク31は、吊元ドラム23が回転することにより、周回ごとに半径方向外側に一層ずつ重なって巻かれる。
ここで、吊元リンク33のみは、吊元ドラム23に巻き重ねられるリンク31の軌道から、巻取ドラム21の外側にオフセットして配置される。これは、全閉状態で繰り出された開閉体25のリンク31が、巻き取り開始時には、一層目から吊元ドラム23の外周面に巻回されるようにするためである。これにより、開閉体25は、軸状突出部29を中心にスラット27と相対回転自在となるリンク31を一層目から吊元ドラム23に巻き重ねることができる。
吊元ドラム23の端に配置された吊元リンク33は、連結部材47によって、吊元ドラム23の端から吊元ドラム23に連結される。吊元リンク33は、吊元ドラム23の端面24に平行となる先端板部43を上端に有する。この先端板部43には、吊元ドラム23の端面24で開口する取付穴41に、同軸で配置可能となる連結穴45が形成されている。
連結部材47は、吊元リンク33の外側から連結穴45を貫通し、吊元ドラム23の取付穴41に挿入されるピン49を有する。連結部材47は、このピン49の基端に、端面24と平行に延在する規制部51が接続される。連結部材47には固定手段を有し、この固定手段は、吊元ドラム23の外周から貫通される固定具57を備えていて、ピン49が取付穴41へ挿入された状態を保持するように連結部材47を吊元ドラム23に固定状態とする。
これにより、吊元リンク33は、吊元ドラム23の端面24の外側に、ピン49を挿入するだけのスペースがあれば、連結部材47によって吊元ドラム23に連結が可能となる。従来のように、ブラケット15に穿設された穴から、ドライバー等の工具を側方より挿入し、段付きボルトを巻取ドラム21の端面24に螺着する作業が不要となる。
このように開閉体の吊元構造では、シャッター収納部の側面に、外壁の内隅部が近接していたり、他の構造物が近接していたりして、工具を使用するスペースが確保できない場合であっても、吊元リンク33の脱着が吊元ドラム23の外周面側からできるので、巻取ドラム21から開閉体25を取り外したり、スラット27を交換したりするメンテナンス作業ができるようになる。
【0008】
本発明の請求項2記載の開閉体の吊元構造は、請求項1に記載の開閉体の吊元構造であって、
前記固定手段は、
前記規制部51に突設されて前記吊元ドラム23の端面24から前記吊元ドラム23の内側に挿入される前記挿入板部53と、
前記吊元ドラム23に穿設され前記固定具57が挿入される貫通穴59と、
前記挿入板部53に設けられ前記貫通穴59に挿入された前記固定具57が固定される被固定穴55と、を有し、
前記吊元ドラム23の内周面には、前記挿入板部53を前記軸線に沿う方向にスライド挿入にして、前記貫通穴59を通る前記軸線と平行な仮想直線VL上に、前記被固定穴55が重なるように前記挿入板部53を案内するリブ61が形成されることを特徴とする。
【0009】
この開閉体の吊元構造では、吊元ドラム23に、連結部材47の挿入板部53を案内するリブ61が形成されている。リブ61は、内周面から吊元ドラム23の半径方向内側に突出して形成することができる。すなわち、挿入板部53は、スライド方向に沿う側縁が、リブ61に沿わせて挿入可能となっている。
挿入板部53は、吊元ドラム23の端面24から挿入されることで、貫通穴59を通る軸線と平行な仮想直線VL上に、被固定穴55が重なるように案内される。これにより、連結部材47は、挿入板部53をリブ61に沿って軸線に沿う方向にスライドしていけば、被固定穴55を貫通穴59に容易に重ねることができるようになる。
【0010】
本発明の請求項3記載の開閉体の吊元構造は、請求項1または2に記載の開閉体の吊元構造であって、
前記吊元ドラム23の端面24と前記規制部51との間の距離Sが、前記先端板部43の板厚tよりも大きいことを特徴とする。
(【0011】以降は省略されています)
この特許をJ-PlatPat(特許庁公式サイト)で参照する
関連特許
中国電力株式会社
脚立
1か月前
株式会社ナカオ
作業台
1か月前
株式会社ESP
止水板
2か月前
三協立山株式会社
開口部装置
1か月前
三協立山株式会社
開口部装置
4日前
三協立山株式会社
開口部装置
1か月前
三協立山株式会社
開口部装置
1か月前
三協立山株式会社
開口部装置
1か月前
三協立山株式会社
開口部装置
1か月前
ミサワホーム株式会社
水切り材
1か月前
文化シヤッター株式会社
止水装置
3日前
不二サッシ株式会社
引違いサッシ
3日前
不二サッシ株式会社
引違いサッシ
1か月前
株式会社TJMデザイン
脚立用ホルダー
3か月前
株式会社ニチベイ
縦型ブラインド
2か月前
株式会社LIXIL
太陽電池ガラス
12日前
三協立山株式会社
サッシの製造方法
1か月前
株式会社LIXIL
建具
22日前
株式会社LIXIL
建具
2か月前
株式会社LIXIL
建具
1か月前
株式会社LIXIL
建具
1日前
株式会社LIXIL
建具
22日前
株式会社LIXIL
建具
22日前
株式会社LIXIL
建具
1か月前
株式会社LIXIL
建具
22日前
株式会社LIXIL
建具
9日前
株式会社LIXIL
建具
9日前
株式会社LIXIL
建具
9日前
株式会社LIXIL
建具
9日前
株式会社LIXIL
建具
9日前
株式会社LIXIL
建具
12日前
株式会社LIXIL
建具
2か月前
株式会社大林組
シャッター装置
2か月前
ナブテスコ株式会社
建具及び表示装置
3か月前
倉敷紡績株式会社
外構ユニット
2日前
株式会社LIXIL
建具
1か月前
続きを見る
他の特許を見る