TOP
|
特許
|
意匠
|
商標
特許ウォッチ
Twitter
他の特許を見る
公開番号
2025145768
公報種別
公開特許公報(A)
公開日
2025-10-03
出願番号
2024046146
出願日
2024-03-22
発明の名称
情報表示装置、情報表示方法及びプログラム
出願人
日本電気株式会社
代理人
個人
主分類
G06F
3/0481 20220101AFI20250926BHJP(計算;計数)
要約
【課題】1枚の表示パネルの一部において表示不良が発生した場合、表示不良の行または列を飛ばして次の行または列に情報を表示する情報表示装置を提供する。
【解決手段】行または列により情報を表示する表示部と、表示部を撮像する撮像部と、撮像部で撮像された表示部の表示に誤りがあるか否か判定して表示不良を検出する表示不良検出手段と、を備え、表示不良検出手段で表示不良が検出された場合、表示不良の行または列を飛ばして次の行または列に飛ばされた情報を表示する、情報表示装置を提供する。
【選択図】図4
特許請求の範囲
【請求項1】
行または列により情報を表示する表示部と、
前記表示部を撮像する撮像部と、
前記撮像部で撮像された前記表示部の表示に誤りがあるか否か判定して表示不良を検出する表示不良検出手段と、を備え、
前記表示不良検出手段で表示不良が検出された場合、表示不良の前記行または列を飛ばして次の前記行または列に飛ばされた情報を表示する、情報表示装置。
続きを表示(約 950 文字)
【請求項2】
行により情報を表示し、
前記情報は、フライト情報である、請求項1に記載の情報表示装置。
【請求項3】
前記表示部の表示画像を生成する表示画像生成手段と、を備え、
前記表示不良検出手段は、前記表示画像生成手段で生成された表示画像と、前記撮像部で撮像された表示部の表示の差分を取ることにより、表示に誤りがあるか否か判定する、請求項1に記載の情報表示装置。
【請求項4】
前記表示不良検出手段は、前記撮像部により撮像された表示部の表示を、機械学習した画像解析部に入力することにより、表示に誤りがあるか否か判定する、請求項1に記載の情報表示装置。
【請求項5】
前記撮像部で撮像された表示部の表示の更新時間のずれを格納するずれ情報格納部を備える、請求項3に記載の情報表示装置。
【請求項6】
行または列により情報を表示部に表示し、
前記表示部を撮像し、
撮像された前記表示部の表示に誤りがあるか否か判定して表示不良を検出し、
表示不良が検出された場合、表示不良の前記行または列を飛ばして次の前記行または列に飛ばされた情報を表示する、情報表示方法。
【請求項7】
行により情報を表示し、
前記情報は、フライト情報である、請求項6に記載の情報表示方法。
【請求項8】
前記表示部の表示画像を生成し、
生成された表示画像と、撮像された表示部の表示の差分を取ることにより、表示に誤りがあるか否か判定する、請求項6に記載の情報表示方法。
【請求項9】
撮像された表示部の表示を、機械学習した画像解析部に入力することにより、表示に誤りがあるか否か判定する、請求項6に記載の情報表示方法。
【請求項10】
行または列により情報を表示部に表示し、
前記表示部を撮像し、
撮像された前記表示部の表示に誤りがあるか否か判定して表示不良を検出し、
表示不良が検出された場合、表示不良の前記行または列を飛ばして次の前記行または列に飛ばされた情報を表示することを情報処理装置に実行させる、プログラム。
発明の詳細な説明
【技術分野】
【0001】
本開示は、情報表示装置、情報表示方法及びプログラムに関する。
続きを表示(約 1,600 文字)
【背景技術】
【0002】
特許文献1には、いくつかの個別画面が故障した場合に、他の個別画面を用いて全表示内容の表示を可能にするマルチパネル大画面表示装置が開示されている。
【先行技術文献】
【特許文献】
【0003】
特開2000-89738号公報
【発明の概要】
【発明が解決しようとする課題】
【0004】
しかしながら、特許文献1の装置は、1枚の表示パネルの一部の表示素子などに不良が生じた場合、1枚の表示パネルの全てを表示不可とするものであった。そこで本開示の目的は、1枚の表示パネルの一部において表示不良が発生した場合、表示不良の行または列を飛ばして次の行または列に情報を表示する情報表示装置を提供することである。
【課題を解決するための手段】
【0005】
本開示の情報表示装置は、
行または列により情報を表示する表示部と、
前記表示部を撮像する撮像部と、
前記撮像部で撮像された前記表示部の表示に誤りがあるか否か判定して表示不良を検出する表示不良検出手段と、を備え、
前記表示不良検出手段で表示不良が検出された場合、表示不良の前記行または列を飛ばして次の前記行または列に飛ばされた情報を表示する、情報表示装置である。
【0006】
本開示の情報表示方法は、
行または列により情報を表示部に表示し、
前記表示部を撮像し、
撮像された前記表示部の表示に誤りがあるか否か判定して表示不良を検出し、
表示不良が検出された場合、表示不良の前記行または列を飛ばして次の前記行または列に飛ばされた情報を表示する、情報表示方法である。
【0007】
本開示のプログラムは、
行または列により情報を表示部に表示し、
前記表示部を撮像し、
撮像された前記表示部の表示に誤りがあるか否か判定して表示不良を検出し、
表示不良が検出された場合、表示不良の前記行または列を飛ばして次の前記行または列に飛ばされた情報を表示することを情報処理装置に実行させる、プログラムである。
【発明の効果】
【0008】
本開示により、1枚の表示パネルの一部において表示不良が発生した場合、表示不良の行または列を飛ばして次の行または列に情報を表示する情報表示装置が提供される。
【図面の簡単な説明】
【0009】
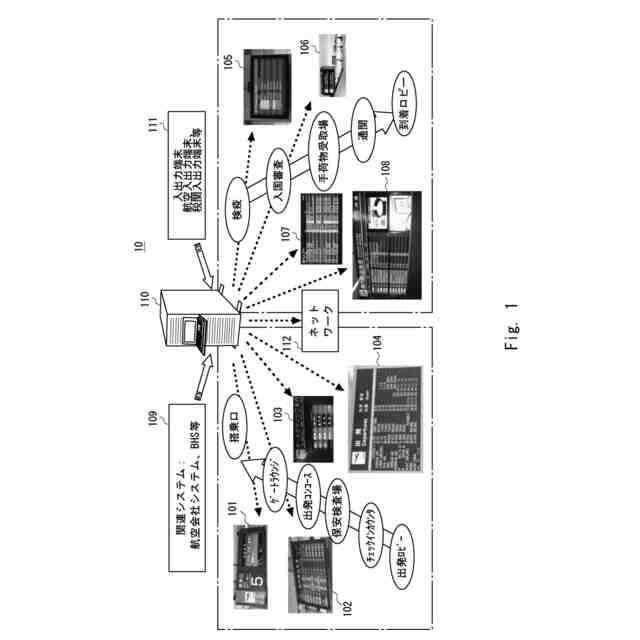
本開示にかかる情報表示の例を示す図である。
関連する情報表示装置に表示不良が発生した場合の縮退表示の例を示す図である。
(a)は、本開示にかかる情報表示装置の正常な表示の例であり、(b)は、本開示にかかる情報表示装置に表示不良が発生した場合の縮退表示の例を示す図である。
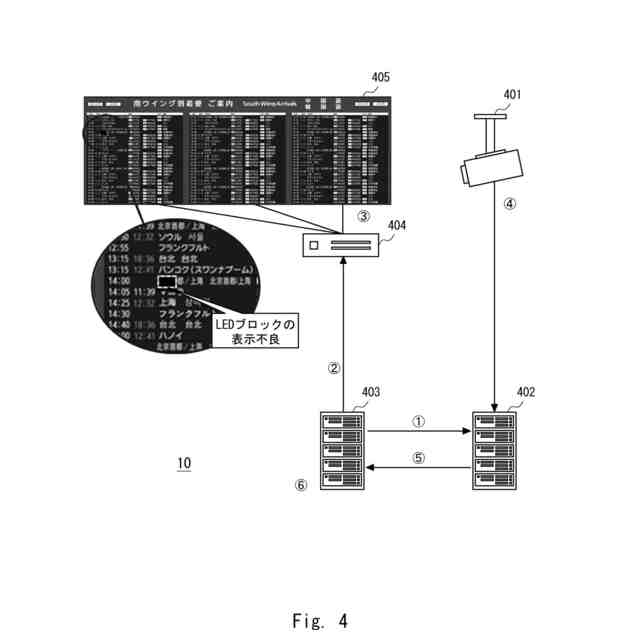
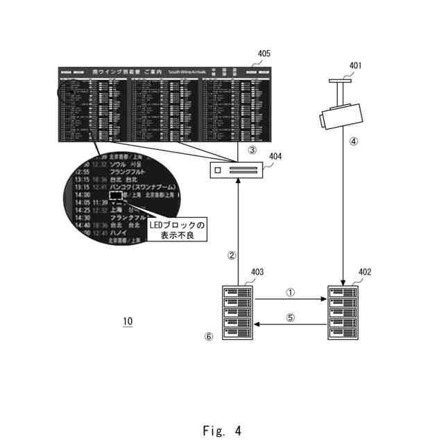
本開示にかかる情報表示装置の構成の概要を示す図である。
本開示にかかる情報表示装置の構成を示すブロック図である。
本開示にかかる情報表示方法のフローチャートである。
本開示にかかる情報表示装置の機械学習による表示不良の分析例を示す図である。
本開示にかかる情報処理装置の構成を示すブロック図である。
【発明を実施するための形態】
【0010】
(本開示の情報表示装置と関連する情報表示装置の説明)
図1は、本開示にかかる情報表示の例を示す図である。図2は、関連する情報表示装置に表示不良が発生した場合の縮退表示の例を示す図である。図3の(a)は、本開示にかかる情報表示装置の正常な表示の例であり、図3の(b)は、本開示にかかる情報表示装置に表示不良が発生した場合の縮退表示の例を示す図である。以下、本開示の情報表示装置と関連する情報表示装置を図1から図3を用いて説明する。
(【0011】以降は省略されています)
この特許をJ-PlatPat(特許庁公式サイト)で参照する
関連特許
日本電気株式会社
分析装置
6日前
日本電気株式会社
学習装置
1か月前
日本電気株式会社
原子発振器
1か月前
日本電気株式会社
超伝導量子回路
26日前
日本電気株式会社
マルチバンドバラン
24日前
日本電気株式会社
量子回路装置と制御方法
6日前
日本電気株式会社
検知装置および検知方法
6日前
日本電気株式会社
通信装置および通信方法
2日前
日本電気株式会社
量子回路装置と制御方法
6日前
日本電気株式会社
送信装置および通信装置
2日前
日本電気株式会社
端末装置および無線通信方法
17日前
日本電気株式会社
分析方法および分析システム
3日前
日本電気株式会社
機器冷却装置及びその冷却方法
18日前
日本電気株式会社
TS合成装置および放送システム
1か月前
日本電気株式会社
共振器及びそれを備えた導波回路
4日前
日本電気株式会社
処理装置、方法、及びプログラム
1か月前
日本電気株式会社
プログラム、算出装置、及び方法
18日前
日本電気株式会社
リング共振器、およびその製造方法
1か月前
日本電気株式会社
推定装置、推定方法及びプログラム
9日前
日本電気株式会社
システム及びマイグレーション方法
6日前
日本電気株式会社
推定装置、推定方法及びプログラム
9日前
日本電気株式会社
ピーク抑圧装置及びピーク抑圧方法
16日前
日本電気株式会社
リング共振器、およびその製造方法
1か月前
日本電気株式会社
推定装置、推定方法、及び、記録媒体
3日前
日本電気株式会社
処理装置、処理方法、及びプログラム
6日前
日本電気株式会社
波長可変レーザ装置及びその構成方法
2日前
日本電気株式会社
画像管理システムおよび画像管理方法
4日前
日本電気株式会社
通信装置、通信方法及び通信プログラム
3日前
日本電気株式会社
管理システム、管理方法及びプログラム
16日前
日本電気株式会社
予測システム、予測方法及びプログラム
9日前
日本電気株式会社
通信システム及びパケット順序補正方法
17日前
日本電気株式会社
判定装置、判定方法、及び、プログラム
26日前
日本電気株式会社
注文端末、注文受付方法及びプログラム
2日前
日本電気株式会社
管理装置、管理方法および管理プログラム
4日前
日本電気株式会社
画像検索装置、画像検索方法及び記憶媒体
27日前
日本電気株式会社
画像選択装置、画像選択方法及び記憶媒体
4日前
続きを見る
他の特許を見る