TOP
|
特許
|
意匠
|
商標
特許ウォッチ
Twitter
他の特許を見る
公開番号
2025151972
公報種別
公開特許公報(A)
公開日
2025-10-09
出願番号
2024053630
出願日
2024-03-28
発明の名称
部材接合構造
出願人
大和ハウス工業株式会社
代理人
個人
,
個人
主分類
E04B
1/58 20060101AFI20251002BHJP(建築物)
要約
【課題】接合箇所の強度を簡易な構成で改善することが可能な部材接合構造を提供する。
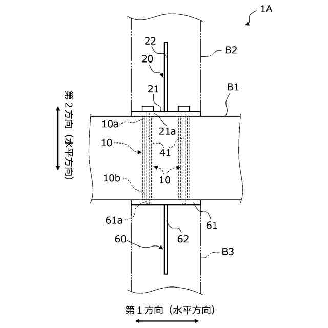
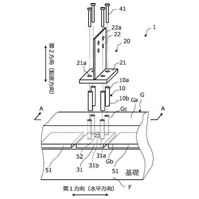
【解決手段】部材接合構造1は、第2方向において土台Gを貫通する孔Gc内に挿入された管部材10と、接合部材20に備えられ、第2方向に形成された第1貫通孔21aを有する第1プレート部21と、第2方向において第1プレート部21と反対側で土台Gに接し、第2方向に形成された第2貫通孔31aを有する第2プレート部31と、第1貫通孔21aと管部材10の内部とが連通する位置にて第1プレート部21が土台Gの第2方向における一端面Gaと接し、且つ第2貫通孔31aと管部材10の内部とが連通する位置にて第2プレート部31が土台Gの第2方向における他端面Gbと接した状態で、第1貫通孔21a、管部材10の内部、及び第2貫通孔31aに挿通されるボルト41と、を有する。
【選択図】図1
特許請求の範囲
【請求項1】
所定方向に延出する横架材の、前記所定方向と交差する交差方向における一端面に、接合部材を接合させるための部材接合構造であって、
前記交差方向において前記横架材を貫通する孔内に挿入された管部材と、
前記接合部材に備えられ、前記交差方向に形成された第1貫通孔を有する第1プレート部と、
前記交差方向において前記第1プレート部と反対側で前記横架材に接し、前記交差方向に形成された第2貫通孔を有する第2プレート部と、
前記第1貫通孔と前記管部材の内部とが連通する位置にて前記第1プレート部が前記横架材の前記交差方向における前記一端面と接し、且つ前記第2貫通孔と前記管部材の内部とが連通する位置にて前記第2プレート部が前記横架材の前記交差方向における他端面と接した状態で、前記第1貫通孔、前記管部材の内部、及び前記第2貫通孔に挿通されるボルトと、を有する部材接合構造。
続きを表示(約 590 文字)
【請求項2】
前記交差方向における前記管部材の一端は、前記第1プレート部に接しており、
前記交差方向における前記管部材の他端は、前記第2プレート部に接している、請求項1に記載の部材接合構造。
【請求項3】
前記管部材は、鋼材からなる、請求項1に記載の部材接合構造。
【請求項4】
前記第1プレート部及び前記第2プレート部は、鋼材からなる、請求項1に記載の部材接合構造。
【請求項5】
前記横架材は、木材からなる、請求項1に記載の部材接合構造。
【請求項6】
前記接合部材は、前記横架材と、前記交差方向において前記横架材と反対側で前記接合部材に接する前記横架材に直交する部材とを連結させ、
前記第2プレート部は、前記横架材と、前記交差方向において前記横架材と反対側で前記第2プレート部に接する部材とを連結させる、請求項1に記載の部材接合構造。
【請求項7】
前記横架材と他の横架材とを連結させるための連結部をさらに有し、
前記第1プレート部の前記第1貫通孔は、前記第1プレート部を平面視した場合に、前記連結部を避けた位置に設けられている、請求項1に記載の部材接合構造。
【請求項8】
前記交差方向は、鉛直方向である、請求項1に記載の部材接合構造。
発明の詳細な説明
【技術分野】
【0001】
本発明は、建物の躯体等に利用される部材接合構造に関する。
続きを表示(約 1,300 文字)
【背景技術】
【0002】
部材を接合する技術は、既に開発されており、特許文献1に記載された技術が、その一例として挙げられる。
特許文献1に記載の接合構造は、2つの部材のうちの一方の部材に他方の部材の端面を突き当てた状態で、2つの部材の間にボルトを挿通し、2つの部材を剛接合するものである。
【先行技術文献】
【特許文献】
【0003】
特開2000-265553号公報
【発明の概要】
【発明が解決しようとする課題】
【0004】
特許文献1に記載の接合構造では、2つの部材のうちの他の部材に回転力が加わると、2つの部材の接合箇所に圧縮力が集中し、他方の部材による一方の部材へのめり込みが生じ得る。その結果、2つの部材の接合箇所の強度を十分に発揮できない場合がある。
【0005】
そこで、本発明は、上記の課題に鑑みてなされたものであり、その目的とするところは、接合箇所の強度を簡易な構成で改善することが可能な部材接合構造を提供することである。
【課題を解決するための手段】
【0006】
上記の目的は、本発明の部材接合構造によれば、所定方向に延出する横架材の、所定方向と交差する交差方向における一端面に、接合部材を接合させるための部材接合構造であって、交差方向において横架材を貫通する孔内に挿入された管部材と、接合部材に備えられ、交差方向に形成された第1貫通孔を有する第1プレート部と、交差方向において第1プレート部と反対側で横架材に接し、交差方向に形成された第2貫通孔を有する第2プレート部と、第1貫通孔と管部材の内部とが連通する位置にて第1プレート部が横架材の交差方向における一端面と接し、且つ第2貫通孔と管部材の内部とが連通する位置にて第2プレート部が横架材の交差方向における他端面と接した状態で、第1貫通孔、管部材の内部、及び第2貫通孔に挿通されるボルトと、を有することにより解決される。
【0007】
本発明の部材接合構造では、接合箇所で発生する圧縮力を、第1プレート部から管部材に伝達し、管部材から第2プレート部に伝達することができる。これにより、接合箇所における圧縮力の集中が避けられ、接合箇所の強度を簡易な構成で改善することができる。
【0008】
また、交差方向における管部材の一端は、第1プレート部に接しており、交差方向における管部材の他端は、第2プレート部に接してもよい。
上記の構成であれば、管部材を介して、第1プレート部から第2プレート部に圧縮力を適切に伝達することができる。
【0009】
また、管部材は、鋼材からなってもよい。
上記の構成であれば、接合箇所の強度を向上させることができる。
【0010】
また、第1プレート部及び第2プレート部は、鋼材からなってもよい。
上記の構成であれば、接合箇所の強度を向上させることができる。
(【0011】以降は省略されています)
この特許をJ-PlatPat(特許庁公式サイト)で参照する
関連特許
個人
接合構造
5日前
個人
タッチミー
4日前
個人
屋台
22日前
個人
野良猫ハウス
1か月前
個人
フェンス
1か月前
個人
転落防止用手摺
1か月前
個人
筋交自動設定装置
12日前
ニチハ株式会社
建築板
1か月前
積水樹脂株式会社
柵体
1か月前
個人
居住車両用駐車場
1か月前
個人
ベンリナアングル
4日前
個人
熱抵抗多層断熱建材
1か月前
個人
補強部材
1か月前
個人
柵
2か月前
個人
身体用シェルター
12日前
個人
身体用シェルター
12日前
鹿島建設株式会社
壁体
1か月前
成友建設株式会社
建物
1か月前
インターマン株式会社
天井構造
1か月前
三協立山株式会社
構造体
12日前
株式会社熊谷組
吊り治具
9日前
個人
可搬型供養墓
10日前
三協立山株式会社
構造体
12日前
三協立山株式会社
構造体
12日前
三協立山株式会社
構造体
12日前
三協立山株式会社
構造体
12日前
三協立山株式会社
構造体
12日前
イワブチ株式会社
組立柱
1か月前
株式会社熊谷組
床構成材
2日前
株式会社熊谷組
木質材料
22日前
ミサワホーム株式会社
住戸
10日前
ミサワホーム株式会社
建物
10日前
株式会社大林組
建物
3か月前
株式会社エフコンサルタント
面材
12日前
三協立山株式会社
簡易建物
1か月前
三協立山株式会社
簡易建物
1か月前
続きを見る
他の特許を見る