TOP
|
特許
|
意匠
|
商標
特許ウォッチ
Twitter
他の特許を見る
10個以上の画像は省略されています。
公開番号
2025140928
公報種別
公開特許公報(A)
公開日
2025-09-29
出願番号
2024040580
出願日
2024-03-15
発明の名称
構造体
出願人
三協立山株式会社
代理人
個人
主分類
E04B
1/343 20060101AFI20250919BHJP(建築物)
要約
【課題】 施工性を向上できる構造体の提供。
【解決手段】 所定のピッチP1で設けた柱6,6,…と、柱6,6,…上に支持した梁7と、梁7上に所定のピッチP2で配置した垂木1,1,…とを備え、梁7は、全長を垂木1,1,…のピッチP2の倍数としてあり、端部の柱6から梁7を張り出させると共に、張り出した梁7の端部上に垂木1を配置してある。
【選択図】 図20
特許請求の範囲
【請求項1】
所定のピッチで設けた柱と、柱上に支持した梁と、梁上に所定のピッチで配置した垂木とを備え、梁は、全長を垂木のピッチの倍数としてあり、端部の柱から梁を張り出させると共に、張り出した梁の端部上に垂木を配置してあることを特徴とする構造体。
発明の詳細な説明
【技術分野】
【0001】
本発明は、カーポート等の構造体に関する。
続きを表示(約 2,400 文字)
【背景技術】
【0002】
カーポート等の構造体においては、施工性の良いものが求められている。
【発明の概要】
【発明が解決しようとする課題】
【0003】
本発明は以上に述べた実情に鑑み、施工性を向上できる構造体の提供を目的とする。
【課題を解決するための手段】
【0004】
上記の課題を達成するために請求項1記載の発明による構造体は、所定のピッチで設けた柱と、柱上に支持した梁と、梁上に所定のピッチで配置した垂木とを備え、梁は、全長を垂木のピッチの倍数としてあり、端部の柱から梁を張り出させると共に、張り出した梁の端部上に垂木を配置してあることを特徴とする。
【発明の効果】
【0005】
請求項1記載の発明による構造体は、所定のピッチで設けた柱と、柱上に支持した梁と、梁上に所定のピッチで配置した垂木とを備え、梁は、全長を垂木のピッチの倍数としてあり、端部の柱から梁を張り出させると共に、張り出した梁の端部上に垂木を配置してあることで、屋根の施工が容易に行え、施工性が向上する。
【図面の簡単な説明】
【0006】
本発明の構造体の一実施形態を示す正面図である。
同構造体の側面図である。
同構造体の前後方向の縦断面図である。
同構造体の左右方向の縦断面図である。
端部垂木の周辺を拡大して示す縦断面図であって、(a)は高さ寸法が低い方のソーラーパネルを取付けた場合、(b)は高さ寸法が高い方のソーラーパネルを取付けた場合を示す。
中間垂木の周辺を拡大して示す縦断面図である。
(a)は中間垂木のパネル受けが取付く部分を拡大して示す平面図であり、(b)は同部分の縦断面図である。
梁上に取付補助材を取付けるときの状態を示す斜視図である。
垂木に裏板を取付けるときの状態を示す斜視図である。
裏板を垂木の長手方向の所定の位置に位置決めして固定する際の手順を示す縦断面図である。
中間垂木に樋固定金具を取付けるときの状態を示す斜視図である。
梁上に垂木を取付けるときの状態を示す斜視図である。
梁上に垂木を取付けるときの状態を示す斜視図であって、スケールを当てて垂木間のピッチを確認している状態を示す。
垂木間に中桟と遮光部品を取付けるときの状態を示す斜視図である。
樋を取付けるときの状態を示す斜視図である。
樋を取付けるときの手順を順に示す縦断面図である。
垂木上にソーラーパネルを配置するときの様子を示す縦断面図である。
前枠上にパネル押えを取付けるときの状態を示す斜視図である。
同構造体の施工手順を示す斜視図である。
同構造体の施工手順(図19-1の続き)を示す斜視図である。
同構造体の施工手順(図19-2の続き)を示す斜視図である。
同構造体の施工手順(図19-3の続き)を示す斜視図である。
同構造体の施工手順(図19-4の続き)を示す斜視図である。
同構造体の施工手順(図19-5の続き)を示す斜視図である。
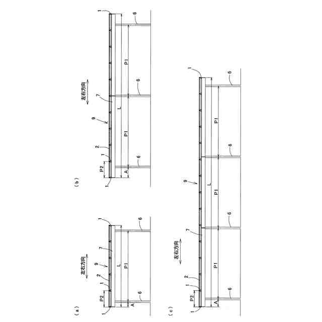
本発明の構造体のバリエーションを示す正面図であって、(a)は単体のもの、(b)は2連棟の場合、(c)は3連棟の場合を示す。
2連棟の構造体の正面図である。
中間の柱上に梁を繋いで連結する部分の分解斜視図である。
梁の繋ぎ目部分の処理の仕方を示す斜視図と縦断面図である。
2連棟の構造体の前後方向の縦断面図である。
2連棟の構造体の樋の繋ぎ目部分を示す斜視図である。
2連棟の構造体の屋根の樋の繋ぎ目部分の周辺を拡大して示す平面図である。
【発明を実施するための形態】
【0007】
以下、本発明の実施の形態を図面に基づいて説明する。なお、請求項1に係る発明の実施形態についての説明は、主に段落[0011],[0030],[0031]に記載されている。
図1~7は、本発明の構造体の一実施形態を示している。本構造体は、図1,2に示すように、乗用車2台用のカーポートに適用したものである。また本構造体は、屋根材としてソーラーパネル2を使用しており、カーポートと太陽光発電設備を兼ねるものとなっている。
【0008】
本構造体は、図1,2に示すように、左右の柱6,6上に梁7を架設した門型のフレーム8を前後方向に間隔をおいて2組備え、そのフレーム8上に屋根9を支持してある。フレーム8は、図2に示すように、前側のものが後側のものより高くなっており、屋根9は後側が低くなるように傾斜している。
【0009】
屋根9は、図1,2に示すように、前後方向に並ぶ2本の梁7上に複数の垂木1,1,…を左右方向に一定の間隔をおいて架設し、複数の垂木1,1,…の水上側端部に前枠10を架設し、複数の垂木1,1,…の水下側端部に樋11を架設し、各垂木1,1,…間にソーラーパネル2を架設して構成してある。ソーラーパネル2は、左右方向に5枚、前後方向に3枚並べて取付けてある。ソーラーパネル2は、図3,4に示すように、矩形に組んだフレーム12と、フレーム12の内側に保持した太陽電池パネル13とを有している。
【0010】
柱6は、略正方形断面のアルミ形材で形成してあり、下部を地面に埋め込んで周囲をモルタルで固めて垂直に立設してあり、柱6の上端は、図3に示すように、連結金具14を介して梁7の下面に固定してある。柱6の上端は、梁7の下面で梁7の長手方向の任意の位置に連結することができ、柱6は設置位置を左右方向に移動させることができる。
(【0011】以降は省略されています)
この特許をJ-PlatPat(特許庁公式サイト)で参照する
関連特許
個人
接合構造
4日前
個人
屋台
21日前
個人
タッチミー
3日前
個人
野良猫ハウス
1か月前
個人
転落防止用手摺
1か月前
個人
キャチクランプ
4か月前
個人
フェンス
1か月前
個人
居住車両用駐車場
1か月前
個人
筋交自動設定装置
11日前
個人
ベンリナアングル
3日前
個人
地下型マンション
3か月前
積水樹脂株式会社
柵体
1か月前
ニチハ株式会社
建築板
1か月前
個人
鋼管結合資材
3か月前
株式会社タナクロ
テント
3か月前
個人
熱抵抗多層断熱建材
1か月前
個人
壁断熱パネル
4か月前
個人
柵
2か月前
個人
補強部材
1か月前
成友建設株式会社
建物
1か月前
個人
身体用シェルター
11日前
鹿島建設株式会社
壁体
1か月前
個人
身体用シェルター
11日前
個人
循環流水式屋根融雪装置
3か月前
三協立山株式会社
構造体
11日前
個人
可搬型供養墓
9日前
イワブチ株式会社
組立柱
1か月前
株式会社熊谷組
木質材料
21日前
三協立山株式会社
構造体
3か月前
株式会社熊谷組
床構成材
1日前
三協立山株式会社
構造体
11日前
インターマン株式会社
天井構造
1か月前
三協立山株式会社
構造体
11日前
三協立山株式会社
構造体
11日前
三協立山株式会社
構造体
4か月前
株式会社熊谷組
吊り治具
8日前
続きを見る
他の特許を見る