TOP
|
特許
|
意匠
|
商標
特許ウォッチ
Twitter
他の特許を見る
10個以上の画像は省略されています。
公開番号
2025152032
公報種別
公開特許公報(A)
公開日
2025-10-09
出願番号
2024053735
出願日
2024-03-28
発明の名称
レンズ装置および撮像装置
出願人
キヤノン株式会社
代理人
個人
,
個人
,
個人
主分類
G03B
35/10 20210101AFI20251002BHJP(写真;映画;光波以外の波を使用する類似技術;電子写真;ホログラフイ)
要約
【課題】 複数の屈曲光学系を備えた小型のレンズ装置を提供する。
【解決手段】 レンズ装置(200)は、第1光学系(201R)と、第1光学系と並列に配置された第2光学系(201L)と、第1光学系または第2光学系の少なくとも一つ
を移動させるアクチュエータを含む
第1駆動部(252)とを有し、第1光学系および第2光学系はそれぞれ、被写体側から像側へ順に、第1光軸、第2光軸、および第3光軸を有し、
第1光学系の第1光軸と第2光学系の第1光軸との間の距離は、第1光学系の第3光軸と第2光学系の第3光軸との間の距離よりも長く、装置上面側から見た場合に、
第1駆動部の少なくとも一部は、第1光学系および第2光学系のそれぞれの第1光軸を含む平面上において、第1光学系の第1光軸と第2光学系の第1光軸との間に配置されている。
【選択図】図7
特許請求の範囲
【請求項1】
第1光学系と、
前記第1光学系と並列に配置された第2光学系と、
前記第1光学系または前記第2光学系の少なくとも一つを駆動する第1駆動部と、を有し、
前記第1光学系および前記第2光学系はそれぞれ、被写体側から像側へ順に、第1光軸、第2光軸、および第3光軸を有し、
前記第1駆動部の少なくとも一部は、前記第1光学系および前記第2光学系のそれぞれの前記第1光軸を含む平面上において、前記第1光学系の前記第1光軸と前記第2光学系の前記第1光軸との間に配置されていることを特徴とするレンズ装置。
続きを表示(約 860 文字)
【請求項2】
前記第1駆動部の少なくとも前記一部は、前記平面上において、前記第2光軸よりも被写体側に配置されていることを特徴とする請求項1に記載のレンズ装置。
【請求項3】
前記第1駆動部は、第1アクチュエータを含むことを特徴とする請求項1または2に記載のレンズ装置。
【請求項4】
前記第1駆動部は、前記第1光学系と前記第2光学系との相対的な焦点位置のズレを調整するように、前記第1光学系または前記第2光学系の少なくとも一つを駆動することを特徴とする請求項1または2に記載のレンズ装置。
【請求項5】
前記第1光学系および前記第2光学系を一体的に駆動する第2駆動部を更に有することを特徴とする請求項1または2に記載のレンズ装置。
【請求項6】
前記第2駆動部は、第2アクチュエータを含むことを特徴とする請求項5に記載のレンズ装置。
【請求項7】
前記第2駆動部は、前記平面上において、前記第2光軸よりも像側に配置されていることを特徴とする請求項5に記載のレンズ装置。
【請求項8】
前記第1光学系または前記第2光学系の他の一つを駆動する第2駆動部を更に有することを特徴とする請求項1または2に記載のレンズ装置。
【請求項9】
前記第2駆動部は、前記平面上において、前記第1光学系の前記第1光軸と前記第2光学系の前記第1光軸との間に配置されていることを特徴とする請求項8に記載のレンズ装置。
【請求項10】
前記第1駆動部の少なくとも一部は、前記第1光軸に沿った方向から見た場合、前記第1光学系の前記第1光軸と前記第2光学系の前記第1光軸とを結ぶ線と平行であって、かつ前記第1光学系および前記第2光学系のそれぞれの最も被写体側に配置された二つの光学素子の外周の点を結ぶ二つの接線の間に配置されていることを特徴とする請求項1または2に記載のレンズ装置。
(【請求項11】以降は省略されています)
発明の詳細な説明
【技術分野】
【0001】
本発明は、レンズ装置および撮像装置に関する。
続きを表示(約 1,300 文字)
【背景技術】
【0002】
従来、二つの光学系(屈曲光学系)が並列に配置され、一つの撮像素子に二つのイメージサークルが並列に結像するレンズ装置(立体撮像レンズ)が知られている。視差のある映像を撮像するには、二つの光学系のそれぞれに対してフォーカス調整を行う必要があるとともに、二つの光学系の焦点位置のずれを一つの光学系を駆動することで補正する必要がある。そこで特許文献1には、二つの光学系のフォーカス調整を同時に行う第1フォーカス調整部と、二つの光学系の相対的な焦点位置のズレを調整する第2フォーカス調整部とを有するレンズ装置が開示されている。
【先行技術文献】
【特許文献】
【0003】
特開2023-37539号公報
【発明の概要】
【発明が解決しようとする課題】
【0004】
特許文献1に開示されたレンズ装置は、左眼光学系または右眼光学系の一つを駆動するアクチュエータと、左眼光学系および右眼光学系の両方を一体的に駆動するアクチュエータとを有するため、レンズ装置が大型化する。
【0005】
そこで本発明は、複数の屈曲光学系を備えた小型のレンズ装置を提供することを目的とする。
【課題を解決するための手段】
【0006】
本発明の一側面としてのレンズ装置は、第1光学系と、前記第1光学系と並列に配置された第2光学系と、前記第1光学系または前記第2光学系の少なくとも一つを駆動する第1駆動部とを有し、前記第1光学系および前記第2光学系はそれぞれ、被写体側から像側へ順に、第1光軸、第2光軸、および第3光軸を有し、前記第1駆動部の少なくとも一部は、前記第1光学系および前記第2光学系のそれぞれの前記第1光軸を含む平面上において、前記第1光学系の前記第1光軸と前記第2光学系の前記第1光軸との間に配置されている。
【0007】
本発明の他の目的及び特徴は、以下の実施形態において説明される。
【発明の効果】
【0008】
本発明によれば、複数の屈曲光学系を備えた小型のレンズ装置を提供することができる。
【図面の簡単な説明】
【0009】
第1実施形態におけるレンズ装置の断面図である。
第1実施形態におけるレンズ装置の分解斜視図である。
第1実施形態におけるレンズ装置の分解斜視図である。
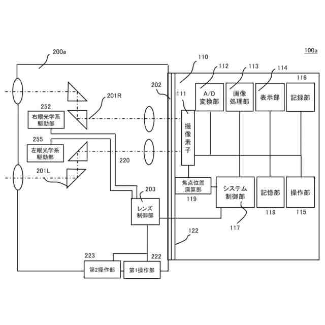
第1実施形態における撮像装置の構成図である。
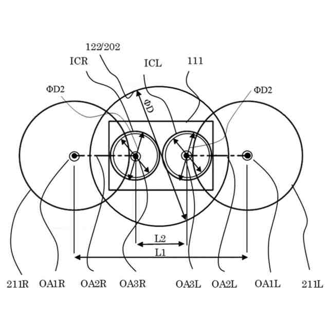
第1実施形態における各光軸および撮像素子上のイメージサークルの配置図である。
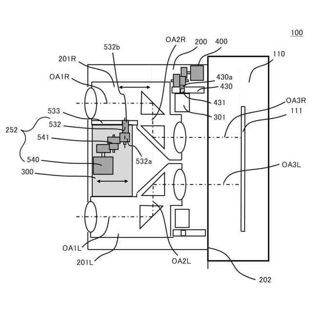
第1実施形態におけるレンズ装置の側面図である。
第1実施形態における撮像装置の断面図である。
第1実施形態におけるレンズ装置の正面図である。
第2実施形態における撮像装置の構成図である。
第2実施形態における撮像装置の断面図である。
【発明を実施するための形態】
【0010】
以下、本発明の実施形態について、図面を参照しながら詳細に説明する。
(【0011】以降は省略されています)
この特許をJ-PlatPat(特許庁公式サイト)で参照する
関連特許
キヤノン株式会社
トナー
5日前
キヤノン株式会社
トナー
5日前
キヤノン株式会社
トナー
10日前
キヤノン株式会社
トナー
5日前
キヤノン株式会社
撮像装置
1か月前
キヤノン株式会社
電子機器
18日前
キヤノン株式会社
定着装置
18日前
キヤノン株式会社
収容装置
18日前
キヤノン株式会社
表示装置
17日前
キヤノン株式会社
発光装置
17日前
キヤノン株式会社
電子機器
14日前
キヤノン株式会社
電子機器
1か月前
キヤノン株式会社
電子機器
12日前
キヤノン株式会社
電子機器
1か月前
キヤノン株式会社
撮像装置
18日前
キヤノン株式会社
撮影装置
3日前
キヤノン株式会社
記録装置
3日前
キヤノン株式会社
記録装置
10日前
キヤノン株式会社
撮像装置
10日前
キヤノン株式会社
撮像装置
1か月前
キヤノン株式会社
定着装置
4日前
キヤノン株式会社
撮像装置
6日前
キヤノン株式会社
電子機器
1か月前
キヤノン株式会社
電子機器
18日前
キヤノン株式会社
撮像装置
26日前
キヤノン株式会社
撮像装置
24日前
キヤノン株式会社
定着装置
1か月前
キヤノン株式会社
現像容器
3日前
キヤノン株式会社
撮像装置
25日前
キヤノン株式会社
現像装置
3日前
キヤノン株式会社
記録装置
26日前
キヤノン株式会社
現像容器
3日前
キヤノン株式会社
現像装置
3日前
キヤノン株式会社
定着装置
24日前
キヤノン株式会社
記録装置
25日前
キヤノン株式会社
光学装置
1か月前
続きを見る
他の特許を見る