TOP
|
特許
|
意匠
|
商標
特許ウォッチ
Twitter
他の特許を見る
公開番号
2025149400
公報種別
公開特許公報(A)
公開日
2025-10-08
出願番号
2024050021
出願日
2024-03-26
発明の名称
両回転式スクロール型圧縮機
出願人
株式会社豊田自動織機
代理人
弁理士法人ぱてな
主分類
F04C
18/02 20060101AFI20251001BHJP(液体用容積形機械;液体または圧縮性流体用ポンプ)
要約
【課題】耐久性に優れた両回転式スクロール型圧縮機を提供する。
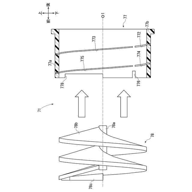
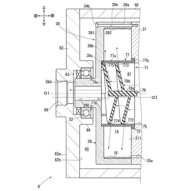
【解決手段】本発明の圧縮機では、駆動機構9が駆動スクロール30及び従動スクロール40を有しており、駆動スクロール30及び従動スクロール40は圧縮室12を形成している。また、ハウジング内にはケース9が設けられている。ケース9内には吐出室14が形成されている。吐出室14内には分離機構71が配置されている。分離機構71は筒部材77と螺旋部材78とを有している。螺旋部材78は筒部材77との間に分離通路81を形成している。螺旋部材78は、分離通路81を流通する圧縮冷媒と衝突することにより、圧縮冷媒に含まれた潤滑油18を圧縮冷媒から分離させる。筒部材77には、分離通路81と筒部材77の外部とに連通するとともに、潤滑油18を筒部材77の外部に流出させる流出路771~775が形成されている。
【選択図】図2
特許請求の範囲
【請求項1】
ハウジング、圧縮機構、駆動機構及び従動機構を備え、
前記圧縮機構、前記駆動機構及び前記従動機構は前記ハウジング内に収容され、
前記圧縮機構は、前記駆動機構によって駆動軸心周りに回転駆動される駆動スクロールと、前記駆動スクロールに対して偏心しつつ従動軸心周りで前記駆動スクロール及び前記従動機構によって回転従動される従動スクロールとを有し、
前記駆動スクロール及び前記従動スクロールは、前記回転駆動及び前記回転従動によって冷媒を圧縮する圧縮室を形成している両回転式スクロール型圧縮機であって、
前記ハウジングには、前記圧縮室で圧縮された冷媒である圧縮冷媒を外部に吐出する吐出連絡口が形成され、
前記ハウジング内には、前記駆動機構とともに回転可能なケースが設けられ、
前記ケース内には、前記圧縮室と連通し、前記圧縮冷媒が吐出される吐出室が形成され、
前記吐出室内には、前記ケースと一体回転可能な分離機構が配置され、
前記圧縮機構は、前記圧縮室と連通し、前記圧縮室から前記圧縮冷媒を吐出させる吐出口を有し、
前記ケースには、前記圧縮冷媒を前記吐出連絡口に向けて流通させる吐出通路が形成され、
前記分離機構は、前記駆動軸心方向に筒状に延びる筒部材と、
前記筒部材の内部に配置され、前記駆動軸心周りに螺旋状に延びつつ前記吐出口と前記吐出通路とに連通する分離通路を前記筒部材の内部に形成する螺旋部材とを有し、
前記螺旋部材は、前記分離通路を流通する前記圧縮冷媒と衝突することにより、前記圧縮冷媒に含まれた潤滑油を前記圧縮冷媒から分離させ、
前記筒部材には、前記分離通路と前記筒部材の外部とに連通するとともに、前記潤滑油を前記筒部材の外部に流出させる流出路が形成されていることを特徴とする両回転式スクロール型圧縮機。
続きを表示(約 870 文字)
【請求項2】
前記流出路は、前記螺旋部材の外周縁に沿う螺旋形状に形成されている請求項1記載の両回転式スクロール型圧縮機。
【請求項3】
前記吐出室は、前記ハウジング内において前記吐出室よりも低圧となる個所に前記潤滑油を還流させる還流路と連通している請求項1又は2記載の両回転式スクロール型圧縮機。
【請求項4】
前記筒部材は、前記吐出通路よりも大径に形成されている請求項1又は2記載の両回転式スクロール型圧縮機。
【請求項5】
前記ケース内には、前記流出路から前記筒部材の外部に流出した前記圧縮冷媒を前記螺旋部材よりも前記圧縮冷媒の流通方向の下流側で前記吐出通路に流通させる通気路が設けられている請求項1又は2記載の両回転式スクロール型圧縮機。
【請求項6】
前記ケースには、前記ハウジングに向かって突出する被支持体が形成され、
前記被支持体は、軸受を介して前記ハウジングに回転可能に支持され、
前記被支持体の内部には前記吐出通路が延びている請求項1又は2記載の両回転式スクロール型圧縮機。
【請求項7】
前記吐出室は、前記軸受よりも大径に形成されている請求項6記載の両回転式スクロール型圧縮機。
【請求項8】
前記螺旋部材は、前記駆動軸心方向に直線状に延びる中心軸部と、前記中心軸部と一体をなし、前記駆動軸心周りに螺旋状に延びる羽根部とを有し、
前記吐出口側から前記羽根部を見た際、前記羽根部が螺旋する方向は、前記駆動機構の回転方向と一致している請求項1又は2記載の両回転式スクロール型圧縮機。
【請求項9】
前記螺旋部材は、前記駆動軸心方向に直線状に延びる中心軸部と、前記中心軸部と一体をなし、前記駆動軸心周りに螺旋状に延びる羽根部を有し、
前記羽根部は前記中心軸部から径方向の外側に近づくにつれて、前記分離通路の下流方向に傾斜する請求項1又は2記載の両回転式スクロール型圧縮機。
発明の詳細な説明
【技術分野】
【0001】
本発明は両回転式スクロール型圧縮機に関する。
続きを表示(約 1,900 文字)
【背景技術】
【0002】
特許文献1、2に従来の両回転式スクロール型圧縮機(以下、単に圧縮機という。)が開示されている。特許文献1の圧縮機は、ハウジング、駆動機構、駆動スクロール、従動スクロール及び従動機構を備えている。駆動機構及び駆動スクロールはハウジング内に収容されている。また、ハウジングには、駆動スクロールに向かって突出するボスが形成されている。ボスの内部には支持孔と吐出連絡口が形成されている。支持孔は吐出連絡口よりも大径に形成されており、吐出連絡口と連通している。吐出連絡口はハウジングの外部に連通している。
【0003】
駆動スクロールには駆動軸が形成されている。駆動軸は円筒状をなしており、内部にボスを収容している。駆動軸とボスとの間、より具体的には、駆動軸の内周面とボスの外周面との間には軸受が設けられている。駆動軸は外周面が駆動機構に固定されている。こうして、駆動スクロールは、ハウジング内において駆動機構と固定されているとともに、軸受を介してボスに駆動軸心周りで回転可能に支持されている。
【0004】
従動スクロールはハウジング内に収容されている。より具体的には、従動スクロールは駆動スクロール内に収容されることにより、ハウジング内に収容されている。そして、従動スクロールは駆動スクロール内に収容されることで、駆動スクロールとの間に圧縮室を形成している。また、従動スクロールには、ボスに向かって突出する従動軸が形成されている。従動軸は支持孔に挿通されている。これにより、従動スクロールは、駆動スクロール内に収容された状態でボスに従動軸心周りで回転可能に支持されている。また、従動軸の内部には吐出室が形成されている。吐出室は圧縮室と連通している他、吐出連絡口と連通している。つまり、吐出室を通じて圧縮室と吐出連絡口とが連通している。従動機構は駆動スクロールと従動スクロールとの間に配置されている。
【0005】
この圧縮機では、駆動スクロールが駆動機構によって駆動軸心周りに回転駆動され、従動スクロールが駆動スクロール及び従動機構によって従動軸心周りで回転従動される。これにより、回転駆動する駆動スクロールと回転従動する従動スクロールとによって圧縮室の容積が変化する。こうして、この圧縮機では、圧縮室内に冷媒が吸入されつつ圧縮される。そして、圧縮室で圧縮された冷媒は圧縮冷媒として吐出室に吐出され、更に吐出室から吐出連絡口を経てハウジングの外部に吐出される。
【0006】
また、特許文献2の圧縮機では、モータによって駆動軸心周りに回転駆動される駆動スクロールを備えている。そして、この圧縮機では、駆動スクロールに対して、吐出口と、内部に中空部が形成された軸とが形成されている。中空部は一端が吐出口を通じて圧縮室と連通しており、他端が軸の外部に連通している。また、この圧縮機では、中空部内にうず誘起手段が設けられている。うず誘起手段は、駆動軸心周りに螺旋状に延びている。
【0007】
この圧縮機では、圧縮室で圧縮された圧縮冷媒は、吐出口から中空部内に吐出される。そして、この圧縮冷媒は中空部内を流通して、中空部の他端から軸、ひいては駆動スクロールの外部に吐出される。ここで、この圧縮機では、中空部内の圧縮冷媒がうず誘起手段を流通しつつ、中空部の他端に向かって流通する。この際、うず誘起手段は、中空部の他端に向けて圧縮冷媒の流通を促進させる。これにより、この圧縮機では、圧縮冷媒が駆動スクロールの外部に吐出し易くなっている。
【先行技術文献】
【特許文献】
【0008】
特開平2-227575号公報
特表昭61-502200号公報
【発明の概要】
【発明が解決しようとする課題】
【0009】
ところで、圧縮室内に吸入される冷媒には潤滑油が含まれており、この潤滑油は圧縮冷媒とともに圧縮室から吐出される。そこで、このような潤滑油を駆動スクロール及び従動スクロール等の潤滑に用いることが考えられる。
【0010】
しかし、上記特許文献1の圧縮機では、吐出室に吐出された潤滑油の大部分は、圧縮冷媒とともに吐出室から吐出連絡口を経てハウジングの外部に吐出されてしまう。このため、この圧縮機では、吐出室に吐出された潤滑油を駆動スクロール及び従動スクロール等の潤滑に十分に用いることができない。
(【0011】以降は省略されています)
この特許をJ-PlatPat(特許庁公式サイト)で参照する
関連特許
株式会社豊田自動織機
排気管
7日前
株式会社豊田自動織機
産業車両
今日
株式会社豊田自動織機
電力変換器
今日
株式会社豊田自動織機
電力変換器
3日前
株式会社豊田自動織機
回転圧縮機
3日前
株式会社豊田自動織機
回転圧縮機
3日前
株式会社豊田自動織機
電力変換装置
今日
株式会社豊田自動織機
荷役制御装置
7日前
株式会社豊田自動織機
自動運転車両
7日前
株式会社豊田自動織機
電磁ブレーキ装置
今日
株式会社豊田自動織機
段積みケース構造
7日前
株式会社豊田自動織機
スクロール型圧縮機
7日前
株式会社豊田自動織機
回転電機のステータ
7日前
株式会社豊田自動織機
エンジン式産業車両
1日前
株式会社豊田自動織機
スクロール型圧縮機
1日前
株式会社豊田自動織機
スクロール型圧縮機
今日
株式会社豊田自動織機
スクロール型圧縮機
2日前
株式会社豊田自動織機
スクロール型圧縮機
2日前
株式会社豊田自動織機
屋外自動運転システム
7日前
株式会社豊田自動織機
車両のリアシート構造
2日前
株式会社豊田自動織機
スクロール型電動圧縮機
今日
株式会社豊田自動織機
インバータ一体型電動機
今日
トヨタ自動車株式会社
電池
3日前
株式会社豊田自動織機
両回転式スクロール型圧縮機
2日前
株式会社豊田自動織機
両回転式スクロール型圧縮機
2日前
株式会社豊田自動織機
両回転式スクロール型圧縮機
2日前
株式会社豊田自動織機
両回転式スクロール型圧縮機
2日前
株式会社豊田自動織機
両回転式スクロール型圧縮機
2日前
株式会社豊田自動織機
ローリングピストン型圧縮機
1日前
株式会社豊田自動織機
両回転式スクロール型圧縮機
2日前
株式会社豊田自動織機
両回転式スクロール型圧縮機
2日前
豊田合成株式会社
車両用外装品
7日前
株式会社豊田自動織機
産業車両及び産業車両の冷却装置
1日前
株式会社豊田自動織機
ローリングピストン型電動圧縮機
1日前
株式会社豊田自動織機
ローリングピストン型電動圧縮機
1日前
株式会社豊田自動織機
ローリングピストン型電動圧縮機
1日前
続きを見る
他の特許を見る