TOP
|
特許
|
意匠
|
商標
特許ウォッチ
Twitter
他の特許を見る
公開番号
2025149392
公報種別
公開特許公報(A)
公開日
2025-10-08
出願番号
2024050012
出願日
2024-03-26
発明の名称
両回転式スクロール型圧縮機
出願人
株式会社豊田自動織機
代理人
弁理士法人ぱてな
主分類
F04C
18/02 20060101AFI20251001BHJP(液体用容積形機械;液体または圧縮性流体用ポンプ)
要約
【課題】耐久性に優れた両回転式スクロール型圧縮機を提供する。
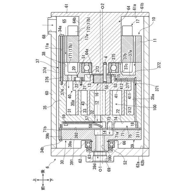
【解決手段】本発明の圧縮機では、駆動スクロール30及び従動スクロール40が圧縮室12を形成している。駆動スクロール30は、駆動端板31と蓋部材71とを有している。蓋部材71は、駆動端板31を駆動軸心O1方向から覆うことにより、駆動端板31との間に分離室75を形成している。駆動端板31には、圧縮冷媒を分離室75に吐出する吐出口32が形成されている。また、分離室75内には、第1案内部73と第2案内部74とが設けられている。第1案内部73は、吐出口32から吐出された圧縮冷媒を駆動スクロール30の回転方向R1に案内しつつ、圧縮冷媒から潤滑油18を分離させる。第2案内部74は、第1案内部73によって案内された圧縮冷媒を駆動スクロール30の回転方向R1とは反対方向に案内しつつ、圧縮冷媒から潤滑油18を分離させる。
【選択図】図1
特許請求の範囲
【請求項1】
ハウジング、駆動スクロール、従動スクロール、駆動機構及び従動機構を備え、
前記駆動スクロール、前記従動スクロール及び前記駆動機構は前記ハウジング内に収容され、
前記駆動スクロールは、前記駆動機構によって駆動軸心周りに回転駆動され、
前記従動スクロールは、前記駆動スクロールに対して偏心しつつ従動軸心周りで前記駆動スクロール及び前記従動機構によって回転従動され、
前記駆動スクロール及び前記従動スクロールは、前記回転駆動及び前記回転従動によって冷媒を圧縮する圧縮室を形成している両回転式スクロール型圧縮機であって、
前記駆動スクロールは、前記駆動スクロールの径方向に延びる駆動端板と、
前記駆動端板を前記駆動軸心方向から覆うことにより、前記駆動端板との間に分離室を形成する蓋部材とを有し、
前記駆動端板には、前記圧縮室と連通し、前記圧縮室で圧縮された冷媒である圧縮冷媒を前記分離室に吐出する吐出口が形成され、
前記分離室内には、前記吐出口よりも前記径方向の外側に位置して前記駆動端板から前記蓋部材に向かって突出し、前記吐出口から前記分離室内に吐出された前記圧縮冷媒を前記駆動スクロールの回転方向に案内しつつ、前記圧縮冷媒から潤滑油を分離させる第1案内部と、
前記第1案内部よりも前記径方向の外側に位置して前記駆動端板から前記蓋部材に向かって突出し、前記第1案内部によって案内された前記圧縮冷媒を前記駆動スクロールの回転方向とは反対方向に案内しつつ、前記圧縮冷媒から前記潤滑油を分離させる第2案内部とが設けられ、
前記蓋部材には、前記吐出口よりも前記径方向に離隔した位置で前記分離室に連通し、前記第2案内部によって案内された前記圧縮冷媒を前記分離室の外部に吐出させる連通口が形成されていることを特徴とする両回転式スクロール型圧縮機。
続きを表示(約 1,000 文字)
【請求項2】
前記分離室内の前記潤滑油を前記ハウジング内において前記分離室よりも低圧となる個所に還流させる還流路を有し、
前記還流路は、前記吐出口、前記第1案内部、前記第2案内部及び前記連通口よりも前記径方向の外側であって、前記分離室内を前記連通口に向かって流通する前記圧縮冷媒の流通方向において、前記第2案内部と前記連通口との間となる位置で前記分離室と連通している請求項1記載の両回転式スクロール型圧縮機。
【請求項3】
前記第2案内部は前記第1案内部と連続している請求項1又は2記載の両回転式スクロール型圧縮機。
【請求項4】
前記第1案内部及び前記第2案内部は、前記駆動軸心よりも前記径方向に偏心した位置に配置されている請求項1又は2記載の両回転式スクロール型圧縮機。
【請求項5】
前記駆動端板には、弾性変形によって前記吐出口を開閉可能な吐出リード弁が設けられ、
前記吐出リード弁は、基端が前記駆動軸心よりも前記径方向の外側で前記駆動端板に固定され、前記基端から先端に向かうにつれて、前記径方向で前記第1案内部に接近している請求項1又は2記載の両回転式スクロール型圧縮機。
【請求項6】
前記吐出口は、前記駆動軸心よりも前記径方向に偏心した位置で前記駆動端板に形成されている請求項1又は2記載の両回転式スクロール型圧縮機。
【請求項7】
前記連通口は、前記径方向において前記第1案内部と前記第2案内部との間に位置している請求項1又は2記載の両回転式スクロール型圧縮機。
【請求項8】
前記ハウジングには、前記圧縮冷媒を外部に吐出する吐出連絡口が形成され、
前記駆動スクロールは、前記駆動端板との間で前記蓋部材を保持するケースを有し、
前記ケースには、前記連通口によって前記分離室と連通する吐出室と、前記吐出室を前記吐出連絡口に連通させる吐出通路とが形成されている請求項1又は2記載の両回転式スクロール型圧縮機。
【請求項9】
前記ケースには、前記ハウジングに向かって突出する被支持体が形成され、
前記被支持体は、軸受を介して前記ハウジングに回転可能に支持され、
前記被支持体の内部には前記吐出通路が延びている請求項8記載の両回転式スクロール型圧縮機。
発明の詳細な説明
【技術分野】
【0001】
本発明は両回転式スクロール型圧縮機に関する。
続きを表示(約 2,400 文字)
【背景技術】
【0002】
特許文献1に従来の両回転式スクロール型圧縮機(以下、単に圧縮機という。)が開示されている。この圧縮機は、ハウジング、駆動機構、駆動スクロール、従動スクロール及び従動機構を備えている。駆動機構及び駆動スクロールはハウジング内に収容されている。また、ハウジングには、駆動スクロールに向かって突出するボスが形成されている。ボスの内部には支持孔と吐出連絡口が形成されている。支持孔は吐出連絡口よりも大径に形成されており、吐出連絡口と連通している。吐出連絡口はハウジングの外部に連通している。
【0003】
駆動スクロールには駆動軸が形成されている。駆動軸は円筒状をなしており、内部にボスを収容している。駆動軸とボスとの間、より具体的には、駆動軸の内周面とボスの外周面との間には軸受が設けられている。駆動軸は外周面が駆動機構に固定されている。こうして、駆動スクロールは、ハウジング内において駆動機構と固定されているとともに、軸受を介してボスに駆動軸心周りで回転可能に支持されている。
【0004】
従動スクロールはハウジング内に収容されている。より具体的には、従動スクロールは駆動スクロール内に収容されることにより、ハウジング内に収容されている。そして、従動スクロールは駆動スクロール内に収容されることで、駆動スクロールとの間に圧縮室を形成している。また、従動スクロールには、ボスに向かって突出する従動軸が形成されている。従動軸は支持孔に挿通されている。これにより、従動スクロールは、駆動スクロール内に収容された状態でボスに従動軸心周りで回転可能に支持されている。また、従動軸の内部には吐出室が形成されている。吐出室は圧縮室と連通している他、吐出連絡口と連通している。つまり、吐出室を通じて圧縮室と吐出連絡口とが連通している。従動機構は駆動スクロールと従動スクロールとの間に配置されている。
【0005】
この圧縮機では、駆動スクロールが駆動機構によって駆動軸心周りに回転駆動され、従動スクロールが駆動スクロール及び従動機構によって従動軸心周りで回転従動される。これにより、回転駆動する駆動スクロールと回転従動する従動スクロールとによって圧縮室の容積が変化する。こうして、この圧縮機では、圧縮室内に冷媒が吸入されつつ圧縮される。そして、圧縮室で圧縮された冷媒は圧縮冷媒として吐出室に吐出され、更に吐出室から吐出連絡口を経てハウジングの外部に吐出される。
【先行技術文献】
【特許文献】
【0006】
特開平2-227575号公報
【発明の概要】
【発明が解決しようとする課題】
【0007】
ところで、圧縮室内に吸入される冷媒には潤滑油が含まれており、この潤滑油は圧縮冷媒とともに圧縮室から吐出室に吐出される。そこで、このような潤滑油を駆動スクロール及び従動スクロール等の潤滑に用いることが考えられる。
【0008】
しかし、上記従来の圧縮機では、吐出室に吐出された潤滑油の大部分は、圧縮冷媒とともに吐出室から吐出連絡口を経てハウジングの外部に吐出されてしまう。このため、この圧縮機では、吐出室に吐出された潤滑油を駆動スクロール及び従動スクロール等の潤滑に十分に用いることができない。このため、このような圧縮機では駆動スクロール及び従動スクロール等の潤滑不足による耐久性の低下が懸念される。
【0009】
本発明は、上記従来の実情に鑑みてなされたものであって、耐久性に優れた両回転式スクロール型圧縮機を提供することを解決すべき課題としている。
【課題を解決するための手段】
【0010】
本発明の両回転式スクロール型圧縮機は、ハウジング、駆動スクロール、従動スクロール、駆動機構及び従動機構を備え、
前記駆動スクロール、前記従動スクロール及び前記駆動機構は前記ハウジング内に収容され、
前記駆動スクロールは、前記駆動機構によって駆動軸心周りに回転駆動され、
前記従動スクロールは、前記駆動スクロールに対して偏心しつつ従動軸心周りで前記駆動スクロール及び前記従動機構によって回転従動され、
前記駆動スクロール及び前記従動スクロールは、前記回転駆動及び前記回転従動によって冷媒を圧縮する圧縮室を形成している両回転式スクロール型圧縮機であって、
前記駆動スクロールは、前記駆動スクロールの径方向に延びる駆動端板と、
前記駆動端板を前記駆動軸心方向から覆うことにより、前記駆動端板との間に分離室を形成する蓋部材とを有し、
前記駆動端板には、前記圧縮室と連通し、前記圧縮室で圧縮された冷媒である圧縮冷媒を前記分離室に吐出する吐出口が形成され、
前記分離室内には、前記吐出口よりも前記径方向の外側に位置して前記駆動端板から前記蓋部材に向かって突出し、前記吐出口から前記分離室内に吐出された前記圧縮冷媒を前記駆動スクロールの回転方向に案内しつつ、前記圧縮冷媒から潤滑油を分離させる第1案内部と、
前記第1案内部よりも前記径方向の外側に位置して前記駆動端板から前記蓋部材に向かって突出し、前記第1案内部によって案内された前記圧縮冷媒を前記駆動スクロールの回転方向とは反対方向に案内しつつ、前記圧縮冷媒から前記潤滑油を分離させる第2案内部とが設けられ、
前記蓋部材には、前記吐出口よりも前記径方向に離隔した位置で前記分離室に連通し、前記第2案内部によって案内された前記圧縮冷媒を前記分離室の外部に吐出させる連通口が形成されていることを特徴とする。
(【0011】以降は省略されています)
特許ウォッチbot のツイートを見る
この特許をJ-PlatPat(特許庁公式サイト)で参照する
関連特許
株式会社豊田自動織機
排気管
9日前
株式会社豊田自動織機
産業車両
2日前
株式会社豊田自動織機
回転圧縮機
5日前
株式会社豊田自動織機
回転圧縮機
5日前
株式会社豊田自動織機
電力変換器
5日前
株式会社豊田自動織機
電力変換器
2日前
株式会社豊田自動織機
電力変換装置
2日前
株式会社豊田自動織機
荷役制御装置
9日前
株式会社豊田自動織機
段積みケース構造
9日前
株式会社豊田自動織機
電磁ブレーキ装置
2日前
株式会社豊田自動織機
スクロール型圧縮機
3日前
株式会社豊田自動織機
回転電機のステータ
9日前
株式会社豊田自動織機
スクロール型圧縮機
2日前
株式会社豊田自動織機
スクロール型圧縮機
4日前
株式会社豊田自動織機
エンジン式産業車両
3日前
株式会社豊田自動織機
スクロール型圧縮機
4日前
株式会社豊田自動織機
車両のリアシート構造
4日前
株式会社豊田自動織機
インバータ一体型電動機
2日前
株式会社豊田自動織機
スクロール型電動圧縮機
2日前
株式会社豊田自動織機
両回転式スクロール型圧縮機
4日前
株式会社豊田自動織機
両回転式スクロール型圧縮機
4日前
トヨタ自動車株式会社
電池
5日前
株式会社豊田自動織機
両回転式スクロール型圧縮機
4日前
株式会社豊田自動織機
両回転式スクロール型圧縮機
4日前
株式会社豊田自動織機
両回転式スクロール型圧縮機
4日前
株式会社豊田自動織機
両回転式スクロール型圧縮機
4日前
株式会社豊田自動織機
ローリングピストン型圧縮機
3日前
株式会社豊田自動織機
両回転式スクロール型圧縮機
4日前
トヨタ自動車株式会社
二次電池
3日前
株式会社豊田自動織機
ローリングピストン型電動圧縮機
3日前
株式会社豊田自動織機
ローリングピストン型電動圧縮機
3日前
株式会社豊田自動織機
ローリングピストン型電動圧縮機
3日前
株式会社豊田自動織機
ローリングピストン型電動圧縮機
3日前
株式会社豊田自動織機
ローリングピストン型電動圧縮機
3日前
株式会社豊田自動織機
産業車両及び産業車両の冷却装置
3日前
トヨタ自動車株式会社
塗工装置
3日前
続きを見る
他の特許を見る