TOP
|
特許
|
意匠
|
商標
特許ウォッチ
Twitter
他の特許を見る
公開番号
2025153079
公報種別
公開特許公報(A)
公開日
2025-10-10
出願番号
2024055362
出願日
2024-03-29
発明の名称
鍵貸出システム、鍵貸出システムを備えた集合玄関機
出願人
アイホン株式会社
代理人
個人
,
個人
主分類
E05B
19/00 20060101AFI20251002BHJP(錠;鍵;窓または戸の付属品;金庫)
要約
【課題】 正しい鍵が返却されたことを確認できる鍵貸出システムを提供する。
【解決手段】 集合玄関機102に鍵貸出システム1を搭載する。集合玄関機102に、鍵Kを収容するキーボックス2と、キーボックス2の内部を撮影するカメラ2aと、CPU126と、記憶部127とを設ける。集合玄関機102に、さらに、カメラ2aの映像に基づいてキーボックス2に返却された鍵Kを照合する鍵照合部33と、キーボックス2の電子錠2bを施解錠する施解錠部32と、鍵照合部33による照合結果を住戸Rの管理者に通知する通知部31とを設ける。CPU126、記憶部127、鍵照合部33、施解錠部32、通知部31、及び、ユーザ認証部34は、鍵貸出システム1を制御する制御部3として機能する。
【選択図】図1
特許請求の範囲
【請求項1】
住戸の鍵を該住戸を一時的に利用するユーザに貸し出すための鍵貸出システムであって、
前記鍵を収容するキーボックスと、前記キーボックスの内部の映像を撮影するカメラと、前記映像に基づいて前記キーボックスに返却された前記鍵を照合する鍵照合手段と、前記鍵貸出システムを制御する制御手段と、を備えた鍵貸出システム。
続きを表示(約 360 文字)
【請求項2】
前記キーボックスが、電子錠を含み、
前記制御手段が、前記電子錠を施解錠する施解錠手段を含み、
前記施解錠手段は、前記鍵照合手段による照合が成功した場合に前記電子錠を施錠する、請求項1に記載の鍵貸出システム。
【請求項3】
前記鍵照合手段による照合結果を、前記ユーザに向けて音声及び/又は画像により出力する出力手段を備えた、請求項1に記載の鍵貸出システム。
【請求項4】
前記制御手段が、前記鍵照合手段による照合結果を前記住戸の管理者に通知する通知手段を含む、請求項1に記載の鍵貸出システム。
【請求項5】
複数の前記住戸を含む集合住宅の共用部に設けられた集合玄関機であって、
請求項1に記載の鍵貸出システムを備えた集合玄関機。
発明の詳細な説明
【技術分野】
【0001】
本開示は、鍵貸出システム、及び、鍵貸出システムを備えた集合玄関機に関する。
続きを表示(約 1,200 文字)
【背景技術】
【0002】
従来、来訪者に、無人で住戸の鍵を貸し出すことのできるシステムが知られている。例えば、特許文献1には、ドアベルの近傍に電子錠付きのキーボックスを配置し、来訪者がパスワードや生体認証等を用いて電子錠を解錠する鍵管理システムの技術が開示されている。
【先行技術文献】
【特許文献】
【0003】
特開2019-148110号公報
【発明の概要】
【発明が解決しようとする課題】
【0004】
しかし、特許文献1の技術によれば、返却された鍵を確認していないため、間違った鍵が返却される可能性があった。
【0005】
そこで、本開示の目的は、正しい鍵が返却されたことを確認できる鍵貸出システムを提供することにある。
【課題を解決するための手段】
【0006】
上記課題を解決するために、本開示の鍵貸出システムは、住戸の鍵を該住戸を一時的に利用するユーザに貸し出すための鍵貸出システムであって、鍵を収容するキーボックスと、鍵貸出システムを制御する制御手段と、を備え、キーボックスが、キーボックスの内部を撮影するカメラを含み、制御手段が、カメラの映像に基づいてキーボックスに返却された鍵を照合する鍵照合手段を含むことを特徴とする。
【発明の効果】
【0007】
本開示の鍵貸出システムによれば、キーボックスの内部を撮影するカメラを設け、該カメラで撮影した映像に基づいてキーボックスに返却された鍵を照合することとしたため、正しい鍵が返却されたことを確認することができるという効果を奏する。
【図面の簡単な説明】
【0008】
実施例1の集合住宅用の集合玄関機の概略図である。
図1の集合玄関機を備えた集合住宅用インターホンシステムのブロック図である。
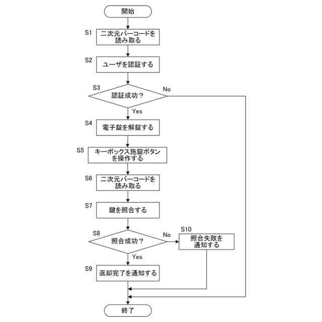
鍵を貸し出す流れを示すフローチャートである。
鍵を返却する流れを示すフローチャートである。
実施例2の個別住宅用の玄関子機の概略図である。
図5の玄関子機を備えた個別住宅用インターホンシステムのブロック図である。
【発明を実施するための形態】
【0009】
以下、本開示を、ユーザUに貸し出すための鍵貸出システム1に具体化した実施例1,2を図面に基づいて説明する。以下の説明において、「管理者」は、集合住宅の管理者及び/又は住戸Rの居住者等を含む。また、「ユーザU」は、住戸Rの鍵Kを住戸Rを一時的に利用する者を含む。各実施例において、共通する構成には同じ符号を付し、説明を省略する。
【実施例】
【0010】
実施例1では、鍵貸出システム1は、集合玄関機102に搭載されている。
(【0011】以降は省略されています)
この特許をJ-PlatPat(特許庁公式サイト)で参照する
関連特許
アイホン株式会社
電気機器
11日前
アイホン株式会社
通信システム
1日前
アイホン株式会社
カメラシステム
1日前
アイホン株式会社
カメラ装置の保持構造
1日前
アイホン株式会社
インターホンシステム
1日前
アイホン株式会社
インターホンシステム
1日前
アイホン株式会社
インターホンシステム
1日前
アイホン株式会社
インターホンシステム
1日前
アイホン株式会社
仕様情報管理システム
3日前
アイホン株式会社
鍵貸出システム、鍵貸出システムを備えた集合玄関機
今日
ヤマハ株式会社
解錠管理方法および解錠管理システム
7日前
個人
物品保管箱
1か月前
個人
防犯用ドア装置
2か月前
個人
ポスト機能付き手提げ金庫
1か月前
個人
二重ロック機能付小物入れ
2か月前
三協立山株式会社
開口部装置
1か月前
株式会社アルファ
電気錠
2か月前
個人
無人貸金庫システム
14日前
リョービ株式会社
ドアクローザ
2か月前
リョービ株式会社
ドアクローザ
2か月前
積水ハウス株式会社
引き戸
23日前
有限会社シティング
引き戸
21日前
積水ハウス株式会社
引き戸
11日前
株式会社ベスト
扉及び個室
11日前
株式会社榮伸
カバン蓋の係止装置
1か月前
株式会社ベスト
開き扉の開閉装置
1か月前
スズキ株式会社
車両用乗員保護装置
1か月前
コイト電工株式会社
蝶番の取付構造
今日
美和ロック株式会社
IDキー
2か月前
ミネベアショウワ株式会社
ドア装置
1か月前
ミネベアショウワ株式会社
ドア装置
1か月前
株式会社アイシン
ドア支持装置
今日
株式会社LIXIL
建具
2か月前
株式会社ユニオン
ドアハンドル
15日前
株式会社LIXIL
建具
11日前
株式会社LIXIL
建具
1か月前
続きを見る
他の特許を見る