TOP
|
特許
|
意匠
|
商標
特許ウォッチ
Twitter
他の特許を見る
10個以上の画像は省略されています。
公開番号
2025152200
公報種別
公開特許公報(A)
公開日
2025-10-09
出願番号
2024053983
出願日
2024-03-28
発明の名称
インターホンシステム
出願人
アイホン株式会社
代理人
弁理士法人信栄事務所
主分類
H04M
9/00 20060101AFI20251002BHJP(電気通信技術)
要約
【課題】居室への訪問の道中に第一ゲートおよび第二ゲートが設けられている集合住宅向けのインターホンシステムについて、セキュリティ性と利便性とを両立する。
【解決手段】制御部61は、第一子機10Aの呼出操作部111に対して、少なくとも配達情報が入力されると、居住者の居室親機30に対して呼出動作を開始し、呼出動作に対して解錠条件が満たされると、第一ゲート制御装置81に解錠指示信号を送信する。制御部61は、第二子機10Bの呼出操作部111に対して、少なくとも配達情報が入力されると、自動的に第二ゲート制御装置82に解錠指示信号を送信する。
【選択図】図9
特許請求の範囲
【請求項1】
集合住宅の入口に設置された第一ゲートの近傍に設けられ、来訪者が居住者を呼び出して通話するための第一子機と、
前記第一ゲートと居住者の居室との間に配置される第二ゲートの近傍に設けられ、来訪者が居住者を呼び出して通話するための第二子機と、
前記第一子機および前記第二子機からの呼び出しに居住者が応答するための居室親機と、
前記第一子機、前記第二子機、および前記居室親機の動作を制御する制御部と、
を備えたインターホンシステムであって、
前記第一子機および前記第二子機はそれぞれ、前記居住者を呼び出すための呼出操作部と、サービス事業者が荷物を配達しに来たことを証明する配達情報を入力するための情報入力部と、を少なくとも表示可能な表示部を有し、
前記制御部は、前記第一ゲートの施錠および解錠を制御する第一ゲート制御装置と、前記第二ゲートの施錠および解錠を制御する第二ゲート制御装置と、通信可能であり、
前記制御部は、
前記第一子機の前記呼出操作部に対して、少なくとも前記配達情報が入力されると、前記居住者の前記居室親機に対して呼出動作を開始し、前記呼出動作に対して解錠条件が満たされると、前記第一ゲート制御装置に解錠指示信号を送信し、
前記第二子機の前記呼出操作部に対して、少なくとも前記配達情報が入力されると、自動的に前記第二ゲート制御装置に解錠指示信号を送信する、
インターホンシステム。
続きを表示(約 940 文字)
【請求項2】
前記配達情報は、サービス事業者に関連付けられたサービス情報、前記サービス事業者を特定する事業者情報、および、前記居室を特定するための居室情報の少なくとも一つを含む、
請求項1に記載のインターホンシステム。
【請求項3】
前記解錠条件は、第一解錠条件と第二解錠条件とを含み、
前記第一解錠条件は、前記居住者が前記呼出動作に対して応答して、前記来訪者に通過を許可する承諾がなされることであり、
前記第二解錠条件は、前記居住者が前記呼出動作に対して応答せず、前記制御部が、サーバに記録されている前記配達情報と、前記来訪者が入力した前記配達情報とが一致することであり、
前記制御部は、前記第一解錠条件および前記第二解錠条件のいずれかが満たされると、前記解錠条件が満たされたと判定する、
請求項1または請求項2に記載のインターホンシステム。
【請求項4】
前記配達情報は、前記サービス事業者が配達する荷物に関連付けられた荷物情報をさらに含み、
前記解錠条件は、第一解錠条件と第二解錠条件とを含み、
前記第一解錠条件は、前記居住者が前記呼出動作に対して応答して、前記来訪者に通過を許可する承諾がなされることであり、
前記第二解錠条件は、前記居住者が前記呼出動作に対して応答せず、前記制御部が、サーバに記録されている前記配達情報と、前記来訪者が入力した前記配達情報とが一致することであり、
前記制御部は、
前記第一解錠条件および前記第二解錠条件のいずれかが満たされると、前記解錠条件が満たされたと判定し、
前記第二子機の前記呼出操作部に対して、前記配達情報が入力されると、自動的に前記第二ゲート制御装置に前記解錠指示信号を送信する、
請求項1または請求項2に記載のインターホンシステム。
【請求項5】
前記制御部は、
前記解錠条件が満たされると、前記居住者に対して通知を発信し、前記第二ゲート制御装置に前記解錠指示信号を送信する際には、前記通知を発信しない、
請求項1または請求項2に記載のインターホンシステム。
発明の詳細な説明
【技術分野】
【0001】
本開示は、インターホンシステムに関する。
続きを表示(約 2,300 文字)
【背景技術】
【0002】
近年、荷物の受取人が配送先の住宅等に不在である場合に、指定された場所に荷物を置くことで配送を完了する、いわゆる置き配と呼ばれる配送形態が増えている。置き配を用いた配送サービスにおいて、集合住宅等への立ち入りを許可されている来訪者を対象に、集合住宅等の入口に設置されているオートロック扉を自動で解錠するための種々の技術が提案されている(例えば、特許文献1および特許文献2参照)。
【先行技術文献】
【特許文献】
【0003】
特開2021-14729号公報
特開2020-53047号公報
【発明の概要】
【発明が解決しようとする課題】
【0004】
集合住宅によっては、居住者の居室を訪問するために複数のゲート(例えば、第一ゲートおよび第二ゲート)を通過する必要がある。このような集合住宅について、居住者による操作なしに来訪者側での操作のみでオートロック扉の解錠が可能となる利便性とセキュリティ対策とを両立できるとよい。
【0005】
本開示の目的は、居室への訪問の道中に第一ゲートおよび第二ゲートが設けられている集合住宅向けのインターホンシステムについて、セキュリティ性と利便性とを両立することである。
【課題を解決するための手段】
【0006】
上記目的を達成するために、本開示のインターホンシステムは、
集合住宅の入口に設置された第一ゲートの近傍に設けられ、来訪者が居住者を呼び出して通話するための第一子機と、
前記第一ゲートと居住者の居室との間に配置される第二ゲートの近傍に設けられ、来訪者が居住者を呼び出して通話するための第二子機と、
前記第一子機および前記第二子機からの呼び出しに居住者が応答するための居室親機と、
前記第一子機、前記第二子機、および前記居室親機の動作を制御する制御部と、
を備えたインターホンシステムであって、
前記第一子機および前記第二子機はそれぞれ、前記居住者を呼び出すための呼出操作部と、サービス事業者が荷物を配達しに来たことを証明する配達情報を入力するための情報入力部と、を少なくとも表示可能な表示部を有し、
前記制御部は、前記第一ゲートの施錠および解錠を制御する第一ゲート制御装置と、前記第二ゲートの施錠および解錠を制御する第二ゲート制御装置と、通信可能であり、
前記制御部は、
前記第一子機の前記呼出操作部に対して、少なくとも前記配達情報が入力されると、前記居住者の前記居室親機に対して呼出動作を開始し、前記呼出動作に対して解錠条件が満たされると、前記第一ゲート制御装置に解錠指示信号を送信し、
前記第二子機の前記呼出操作部に対して、少なくとも前記配達情報が入力されると、自動的に前記第二ゲート制御装置に解錠指示信号を送信する。
【0007】
上記構成によれば、第一ゲートおよび第二ゲートにおいて、サービス事業者には、配達情報の入力が求められるので、来訪者の自由な行き来を制限でき、第一ゲートおよび第二ゲートを設けることによるセキュリティ性を確保できる。また、サービス事業者が第一ゲートを解錠した後に、第一子機の情報入力部と同等の情報を第二子機の情報入力部に入力することで、第二ゲートが自動的に解錠される。サービス事業者にとっては、第二ゲートの解錠に係る時間が短縮され、居住者にとっては、呼出に二度応答する必要がないので、利便性が向上する。このように、インターホンシステムにおいてセキュリティ性と利便性とを両立できる。
【発明の効果】
【0008】
本開示によれば、居室への訪問の道中に第一ゲートおよび第二ゲートが設けられている集合住宅向けのインターホンシステムについて、セキュリティ性と利便性とを両立することができる。
【図面の簡単な説明】
【0009】
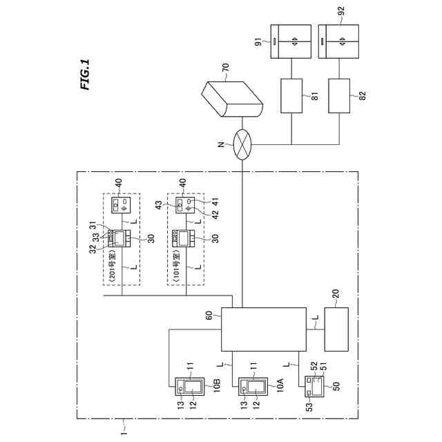
本実施形態に係るインターホンシステムの構成図である。
図1のインターホンシステムの一部構成の機能ブロック図である。
インターホンシステムが備えるサーバに記憶されているデータテーブルの一例を示す図である。
第一子機に係るインターホンシステムの動作例を説明するためのフローチャートである。
第一子機が有する表示部に表示される初期画面の一例を示す図である。
表示部に表示されるサービス選択画面を示す図である。
表示部に表示される呼出操作画面を示す図である。
表示部に表示されるサービス情報入力画面を示す図である。
第二子機に係るインターホンシステムの動作例を説明するためのフローチャートである。
表示部に表示される部屋番号入力画面を示す図である。
【発明を実施するための形態】
【0010】
以下、本開示の実施形態に係るインターホンシステムについて図面を参照して説明する。
図1は、本実施形態に係るインターホンシステム1を示す構成図である。図1に示すようにインターホンシステム1は、第一子機10Aと、第二子機10Bと、サーバ20と、居室親機30と、玄関子機40と、管理室親機50と、制御機60(制御部の一例)と、を備えている。インターホンシステム1は、例えばマンション等の集合住宅に適用されるインターホンシステムである。
(【0011】以降は省略されています)
この特許をJ-PlatPat(特許庁公式サイト)で参照する
関連特許
アイホン株式会社
電気機器
15日前
アイホン株式会社
電気機器
27日前
アイホン株式会社
電気機器
27日前
アイホン株式会社
通信システム
5日前
アイホン株式会社
カメラシステム
5日前
アイホン株式会社
カメラ装置の保持構造
5日前
アイホン株式会社
インターホンシステム
5日前
アイホン株式会社
インターホンシステム
5日前
アイホン株式会社
インターホンシステム
5日前
アイホン株式会社
インターホンシステム
5日前
アイホン株式会社
仕様情報管理システム
7日前
アイホン株式会社
鍵貸出システム、鍵貸出システムを備えた集合玄関機
4日前
アイホン株式会社
インターホンシステム
1か月前
ヤマハ株式会社
解錠管理方法および解錠管理システム
11日前
個人
店内配信予約システム
3か月前
キーコム株式会社
光伝送線路
今日
サクサ株式会社
中継装置
5日前
サクサ株式会社
中継装置
6日前
サクサ株式会社
中継装置
3か月前
WHISMR合同会社
収音装置
1か月前
アイホン株式会社
電気機器
27日前
キヤノン株式会社
電子機器
2か月前
キヤノン株式会社
撮像装置
1か月前
サクサ株式会社
無線通信装置
5日前
キヤノン電子株式会社
画像読取装置
1か月前
株式会社リコー
画像形成装置
1か月前
個人
ワイヤレスイヤホン対応耳掛け
25日前
株式会社リコー
画像形成装置
1か月前
サクサ株式会社
無線システム
4日前
株式会社リコー
画像形成装置
2か月前
キヤノン電子株式会社
モバイル装置
3か月前
サクサ株式会社
無線通信装置
5日前
キヤノン株式会社
撮像システム
27日前
個人
発信機及び発信方法
4日前
日本電気株式会社
海底分岐装置
今日
株式会社ニコン
撮像装置
2か月前
続きを見る
他の特許を見る