TOP
|
特許
|
意匠
|
商標
特許ウォッチ
Twitter
他の特許を見る
公開番号
2025152405
公報種別
公開特許公報(A)
公開日
2025-10-09
出願番号
2024054279
出願日
2024-03-28
発明の名称
インターホンシステム
出願人
アイホン株式会社
代理人
個人
主分類
H04M
9/00 20060101AFI20251002BHJP(電気通信技術)
要約
【課題】複数の子機からの応答があったとしても円滑な解錠操作を行うことを可能としたインターホンシステムを提供する。
【解決手段】インターホンシステム1は、複数の出入口Tに個別に設置される子機2と、出入口Tの扉に設けられた電気錠3と、親機4とを備える。親機4は、通話路を形成している子機2と、モニタに表示された撮像映像を送信している子機2と夫々に関連付けられた電気錠3を解錠操作するための解錠ボタンが表示される。
【選択図】図1
特許請求の範囲
【請求項1】
建屋の出入口に設置されて来訪者が訪問先を呼び出して通話する機能、及び来訪者を撮像するカメラを備えた子機と、前記子機からの呼び出しに応答して通話する機能、及び前記カメラの撮像映像を表示するモニタ、更に前記出入口の扉に設けられた電気錠を解錠操作する解錠ボタンを備えた親機とを有するインターホンシステムであって、
前記解錠ボタンは、前記モニタに表示されるタッチボタンであり、
前記カメラの撮像映像が前記モニタに表示されている場合、及び/又は、前記子機と前記親機との通話路を形成している場合、解錠操作可能な前記解錠ボタンを前記モニタに表示することを特徴とするインターホンシステム。
続きを表示(約 410 文字)
【請求項2】
前記出入口が複数あり、個々の前記出入口に前記子機及び前記電気錠が設けられ、
前記親機は、個々の前記子機と前記電気錠との関連付けを記憶する子機・電気錠記憶部と、解錠操作可能な前記電気錠を選択して前記モニタに前記解錠ボタンを表示制御する電気錠選択部とを有し、
前記電気錠選択部は、解錠操作可能な前記解錠ボタンを前記モニタに表示することを特徴とする請求項1に記載のインターホンシステム。
【請求項3】
前記親機は、前記子機と通話路を形成している際に、別の前記子機の前記カメラの撮像映像を前記モニタに表示可能であり、
前記電気錠選択部は、前記親機と通話路を形成している前記子機、及び前記モニタに前記カメラの撮像映像が表示されている前記別の前記子機夫々に関連付けられた前記電気錠の前記解錠ボタンを前記モニタに表示することを特徴とする請求項2に記載のインターホンシステム。
発明の詳細な説明
【技術分野】
【0001】
本発明は扉の電気錠を解錠操作する機能を備えたインターホンシステムに関する。
続きを表示(約 1,800 文字)
【背景技術】
【0002】
従来、子機からの呼び出しを受けて親機側で解錠操作を行うインターホンシステムが知られている。例えば、特許文献1に記載のインターホンシステムでは、親機が有するタッチパネルに、電気錠解錠ボタンを表示させる構成が記載されている。
【先行技術文献】
【特許文献】
【0003】
特開2006-222680号公報
【発明の概要】
【発明が解決しようとする課題】
【0004】
しかしながら、上記従来のインターホンシステムを、複数の出入口及び子機を有する建屋に適用させると、複数の子機からの応答を受けたとしても、一つの出入口に対してのみしか解錠操作を行えないため、来訪者を待たせてしまうという問題があった。
【0005】
そこで、本発明はこのような問題に鑑み、複数の子機からの応答があったとしても円滑な解錠操作を行うことを可能としたインターホンシステムを提供することを目的としている。
【課題を解決するための手段】
【0006】
上記目的を達成するために、請求項1に記載の発明は、建屋の出入口に設置されて来訪者が訪問先を呼び出して通話する機能、及び来訪者を撮像するカメラを備えた子機と、子機からの呼び出しに応答して通話する機能、及びカメラの撮像映像を表示するモニタ、更に出入口の扉に設けられた電気錠を解錠操作する解錠ボタンを備えた親機とを有するインターホンシステムであって、カメラの撮像映像がモニタに表示されている場合、及び/又は、子機と親機との通話路を形成している場合、解錠ボタンによる電気錠の解錠操作を可能とすることを特徴とする。
また、請求項2に記載の発明は、請求項1に記載の発明において、出入口が複数あり、個々の出入口に子機及び電気錠が設けられると共に、解錠ボタンは、モニタに表示されるタッチボタンであり、親機は、個々の子機と電気錠との関連付けを記憶する子機・電気錠記憶部と、解錠操作可能な電気錠を選択してモニタに解錠ボタンを表示制御する電気錠選択部とを有し、電気錠選択部は、解錠操作可能な解錠ボタンをモニタに表示することを特徴とする。
また、請求項3に記載の発明は、請求項2に記載の発明において、親機は、子機と通話路を形成している際に、別の子機のカメラの撮像映像をモニタに表示可能であり、電気錠選択部は、親機と通話路を形成している子機、及びモニタにカメラの撮像映像が表示されている別の子機夫々に関連付けられた電気錠の解錠ボタンをモニタに表示することを特徴とする。
【発明の効果】
【0007】
本発明によれば、通話路を形成している子機と、カメラの撮像映像がモニタに表示された子機と夫々に関連付けられた電気錠の解錠ボタンが、モニタに解錠操作可能に表示される構成である。
したがって、個別の子機と通話路が形成されている状態で、別の子機のカメラからの撮像映像に切り替え確認した後に、別の子機に関連付けられた電気錠を解錠することが可能となり、効率的な解錠操作を行うことが可能となる。
【図面の簡単な説明】
【0008】
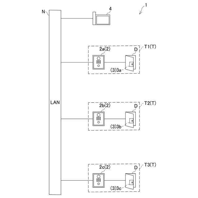
本発明に係るンターホンシステムを示す構成図である。
子機を示すブロック図である。
親機を示すブロック図である。
親機のモニタの表示説明図であって、(a)は通話中の子機と、表示された撮像映像を送信している子機とが同一である状態、(b)は通話中の子機と、表示された撮像映像を送信している子機とが異なる状態を示す図である。
【発明を実施するための形態】
【0009】
以下、本発明を具体化した実施の形態を、図面を参照して詳細に説明する。
図1は本発明に係るインターホンシステム1の一例を示す構成図である。また、図2は、子機2のブロック図、図3は、親機4のブロック図である。
【0010】
インターホンシステム1は、工場や拠点営業所等の出入口が複数ある建屋に設置されるシステムであって、複数の子機2と、複数の出入口Tの夫々の扉Dに設置された電気錠3と、親機4とを備えている。子機2は、親機4とLAN回線Nで接続され、互いにイーサネット規格で通信している。電気錠3は、子機2を介して、親機4にLAN接続されている。
(【0011】以降は省略されています)
この特許をJ-PlatPat(特許庁公式サイト)で参照する
関連特許
アイホン株式会社
電気機器
1か月前
アイホン株式会社
電気機器
11日前
アイホン株式会社
電気機器
23日前
アイホン株式会社
電気機器
23日前
アイホン株式会社
通信システム
1日前
アイホン株式会社
カメラシステム
1日前
アイホン株式会社
機器の設置構造
1か月前
アイホン株式会社
機器の設置構造
1か月前
アイホン株式会社
仕様情報管理システム
3日前
アイホン株式会社
カメラ装置の保持構造
1日前
アイホン株式会社
インターホンシステム
1日前
アイホン株式会社
インターホンシステム
1日前
アイホン株式会社
インターホンシステム
1日前
アイホン株式会社
インターホンシステム
1日前
アイホン株式会社
鍵貸出システム、鍵貸出システムを備えた集合玄関機
今日
アイホン株式会社
インターホンシステム
1か月前
ヤマハ株式会社
解錠管理方法および解錠管理システム
7日前
個人
店内配信予約システム
2か月前
サクサ株式会社
中継装置
3か月前
サクサ株式会社
中継装置
2日前
サクサ株式会社
中継装置
1日前
WHISMR合同会社
収音装置
29日前
キヤノン株式会社
電子機器
2か月前
キヤノン株式会社
撮像装置
1か月前
アイホン株式会社
電気機器
23日前
サクサ株式会社
無線通信装置
1日前
サクサ株式会社
無線通信装置
1日前
キヤノン電子株式会社
画像読取装置
1か月前
株式会社リコー
画像形成装置
1か月前
個人
ワイヤレスイヤホン対応耳掛け
21日前
サクサ株式会社
無線システム
今日
キヤノン電子株式会社
モバイル装置
3か月前
株式会社リコー
画像形成装置
2か月前
日本精機株式会社
画像投映システム
3か月前
株式会社リコー
画像形成装置
1か月前
個人
発信機及び発信方法
今日
続きを見る
他の特許を見る