TOP
|
特許
|
意匠
|
商標
特許ウォッチ
Twitter
他の特許を見る
10個以上の画像は省略されています。
公開番号
2025152201
公報種別
公開特許公報(A)
公開日
2025-10-09
出願番号
2024053984
出願日
2024-03-28
発明の名称
インターホンシステム
出願人
アイホン株式会社
代理人
弁理士法人信栄事務所
主分類
H04M
9/00 20060101AFI20251002BHJP(電気通信技術)
要約
【課題】インターホンシステムのセキュリティ性を向上させる。
【解決手段】インターホンシステム1において、集合玄関機10は、呼出操作部111と情報入力部112とを少なくとも表示可能な表示部11を有している。呼出操作部111は、居住者を呼び出すために設けられている。情報入力部112は、サービス事業者が荷物を配達しに来たことを証明する配達情報であって、サービス事業者によって配達される荷物を特定する荷物情報を少なくとも含む配達情報および訪問先の居室を特定するための居室情報を入力するために設けられている。制御機60の制御部61は、情報入力部112に対して入力した配達情報が、事前にサーバ20に記録されている配達情報と一致することを照合してから、居室情報の入力を受け付ける。
【選択図】図2
特許請求の範囲
【請求項1】
来訪者が居住者を呼び出して通話するための子機と、前記子機からの呼び出しに居住者が応答するための居室親機と、前記子機および前記居室親機の動作を制御する制御部と、
を備えたインターホンシステムであって、
前記子機は、前記居住者を呼び出すための呼出操作部と、サービス事業者が荷物を配達しに来たことを証明する配達情報であって、前記サービス事業者によって配達される荷物を特定する荷物情報を少なくとも含む配達情報および訪問先の居室を特定するための居室情報を入力するための情報入力部と、を少なくとも表示可能な表示部を有し、
前記制御部は、前記情報入力部に対して入力された前記配達情報が、事前にサーバに記録されている前記配達情報と一致することを照合してから、前記居室情報の入力を受け付けるように構成されている、
インターホンシステム。
続きを表示(約 740 文字)
【請求項2】
前記制御部は、前記呼出操作部に対して入力された前記配達情報と、前記サーバに記録されている前記配達情報とが一致することが照合されると、前記サービス事業者による前記荷物が認証されたことを示す表示を前記居室親機に生成させる、
請求項1に記載のインターホンシステム。
【請求項3】
前記制御部は、前記子機及び前記居室親機を備えた集合住宅の入口に設置された扉の施錠及び解錠を制御する扉制御装置と通信可能であり、
前記表示部は、前記居室情報の入力に基づいて、前記呼出操作部への入力を受け付けるように構成されており、
前記制御部は、前記呼出操作部への入力に基づいて、前記居室親機に呼出動作を実行させ、前記呼出動作に対して所定時間応答がなかった場合は、前記扉制御装置に前記扉の解錠を実行させるための解錠操作部を前記表示部に表示させる、
請求項1または2に記載のインターホンシステム。
【請求項4】
前記配達情報は、前記サービス事業者に関連付けられたサービス情報および前記サービス事業者を特定する事業者情報の少なくとも一つを含む、
請求項1または請求項2に記載のインターホンシステム。
【請求項5】
前記制御部は、前記情報入力部に入力された少なくとも前記事業者情報に基づいて、前記居住者が所有する端末に、前記事業者情報に関する通知を送る、
請求項4記載のインターホンシステム。
【請求項6】
前記制御部は、少なくとも前記サービス情報の入力の有無に基づいて、前記居住者が所有する端末に送る前記通知の表示内容を変更する、
請求項5記載のインターホンシステム。
発明の詳細な説明
【技術分野】
【0001】
本開示は、インターホンシステムに関する。
続きを表示(約 1,900 文字)
【背景技術】
【0002】
近年、荷物の受取人が配送先の住宅等に不在である場合に、指定された場所に荷物を置くことで配送を完了する、いわゆる置き配と呼ばれる配送形態が増えている。置き配を用いた配送サービスにおいて、集合住宅等への立ち入りを許可されている来訪者を対象に、集合住宅等の入口に設置されているオートロック扉を自動で解錠するための種々の技術が提案されている(例えば、特許文献1および特許文献2参照)。
【先行技術文献】
【特許文献】
【0003】
特開2021-14729号公報
特開2020-53047号公報
【発明の概要】
【発明が解決しようとする課題】
【0004】
居住者が不在であっても、サービス事業者による配送サービスを享受できることは居住者にとってもサービス事業者にとっても利便性がある。しかしながら、居住者が不在時には、集合住宅等への立ち入りを居住者自身が確認できないので、従来のインターホンシステムよりもセキュリティ性が向上することが望ましい。
【0005】
本開示は、インターホンシステムのセキュリティ性を向上させることを目的とする。
【課題を解決するための手段】
【0006】
上記目的を達成するために、本開示のインターホンシステムは、
来訪者が居住者を呼び出して通話するための子機と、前記子機からの呼び出しに居住者が応答するための居室親機と、前記子機および前記居室親機の動作を制御する制御部と、
を備えたインターホンシステムであって、
前記子機は、前記居住者を呼び出すための呼出操作部と、サービス事業者が荷物を配達しに来たことを証明する配達情報であって、前記サービス事業者によって配達される荷物を特定する荷物情報を少なくとも含む配達情報および訪問先の居室を特定するための居室情報を入力するための情報入力部と、を少なくとも表示可能な表示部を有し、
前記制御部は、前記情報入力部に対して入力された前記配達情報が、事前にサーバに記録されている前記配達情報と一致することを照合してから、前記居室情報の入力を受け付けるように構成されている。
【0007】
上記構成によれば、来訪者は、荷物情報を照合しないと居室情報の入力を受け付けることができず、呼出のために居室を特定できない。これにより、第三者がサービス事業者を騙って居室に呼出を行うことを抑制できる。これにより、インターホンシステムのセキュリティ性が向上する。
【発明の効果】
【0008】
本開示によれば、インターホンシステムのセキュリティ性を向上できる。
【図面の簡単な説明】
【0009】
図1は、本実施形態に係るインターホンシステムを示す構成図である。
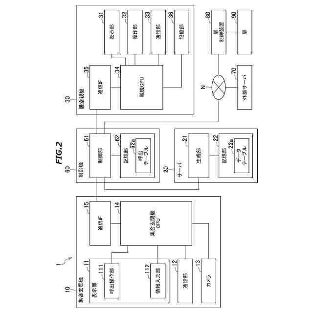
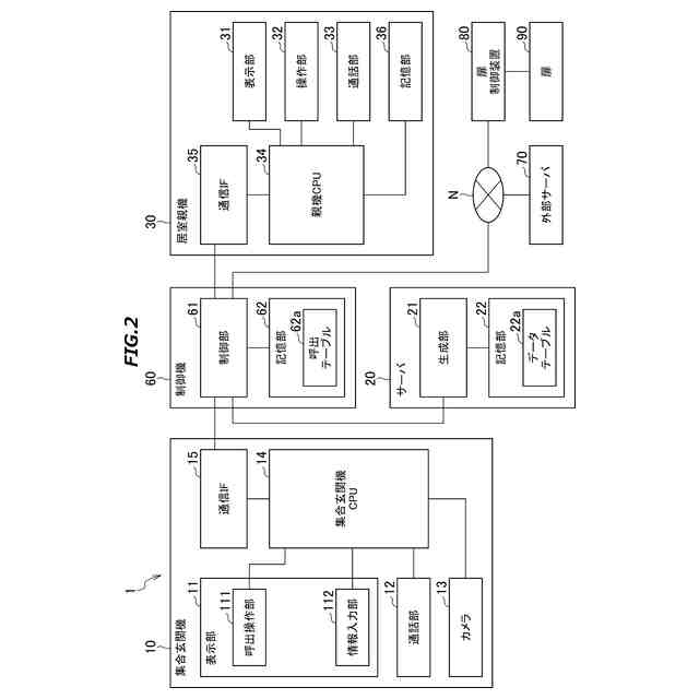
図2は、インターホンシステムの集合玄関機、サーバ、居室親機、および制御機の機能ブロック図である。
図3は、記憶部に記憶されているデータテーブルの一例である。
図4は、インターホンシステムにおける集合玄関機、制御機、居室親機および扉制御装置の動作例を説明するためのフローチャートである。
図5は、集合玄関機の表示部に表示される初期画面の一例を示す図である。
図6は、表示部に表示されるサービス選択画面の一例を示す図である。
図7は、表示部に表示される荷物情報入力画面の一例を示す図である。
図8は、表示部に表示される呼出操作画面の一例を示す図である。
図9は、表示部に表示される解錠操作画面の一例を示す図である。
図10は、端末に表示される通知の一例を示す図である。
図11は、端末に表示される通知の別例を示す図である。
【発明を実施するための形態】
【0010】
以下、本開示の実施形態に係るインターホンシステムについて図面を参照して説明する。
図1は、本実施形態に係るインターホンシステム1を示す構成図である。図1に示すようにインターホンシステム1は、集合玄関機10(子機の一例)と、サーバ20と、居室親機30と、玄関子機40と、管理室親機50と、制御機60(制御部の一例)と、を備えている。インターホンシステム1は、例えばマンション等の集合住宅に適用されるインターホンシステムである。
(【0011】以降は省略されています)
この特許をJ-PlatPat(特許庁公式サイト)で参照する
関連特許
アイホン株式会社
電気機器
11日前
アイホン株式会社
電気機器
23日前
アイホン株式会社
電気機器
23日前
アイホン株式会社
通信システム
1日前
アイホン株式会社
カメラシステム
1日前
アイホン株式会社
機器の設置構造
1か月前
アイホン株式会社
機器の設置構造
1か月前
アイホン株式会社
カメラ装置の保持構造
1日前
アイホン株式会社
インターホンシステム
1日前
アイホン株式会社
インターホンシステム
1日前
アイホン株式会社
インターホンシステム
1日前
アイホン株式会社
インターホンシステム
1日前
アイホン株式会社
仕様情報管理システム
3日前
アイホン株式会社
鍵貸出システム、鍵貸出システムを備えた集合玄関機
今日
アイホン株式会社
インターホンシステム
1か月前
ヤマハ株式会社
解錠管理方法および解錠管理システム
7日前
個人
店内配信予約システム
2か月前
サクサ株式会社
中継装置
3か月前
サクサ株式会社
中継装置
1日前
WHISMR合同会社
収音装置
29日前
サクサ株式会社
中継装置
2日前
キヤノン株式会社
電子機器
2か月前
アイホン株式会社
電気機器
23日前
キヤノン株式会社
撮像装置
1か月前
サクサ株式会社
無線システム
今日
サクサ株式会社
無線通信装置
1日前
サクサ株式会社
無線通信装置
1日前
株式会社リコー
画像形成装置
1か月前
株式会社リコー
画像形成装置
2か月前
個人
ワイヤレスイヤホン対応耳掛け
21日前
日本精機株式会社
画像投映システム
3か月前
キヤノン電子株式会社
モバイル装置
3か月前
キヤノン電子株式会社
画像読取装置
1か月前
株式会社リコー
画像形成装置
1か月前
ブラザー工業株式会社
読取装置
1か月前
個人
発信機及び発信方法
今日
続きを見る
他の特許を見る