TOP
|
特許
|
意匠
|
商標
特許ウォッチ
Twitter
他の特許を見る
公開番号
2025153534
公報種別
公開特許公報(A)
公開日
2025-10-10
出願番号
2024056063
出願日
2024-03-29
発明の名称
二次電池モジュール
出願人
APB株式会社
代理人
個人
主分類
H01M
10/6556 20140101AFI20251002BHJP(基本的電気素子)
要約
【課題】外力によって振動や衝撃が加わった場合であっても、冷却効率の低下を抑制することができる二次電池モジュールを提供する。
【解決手段】
負極集電体と、負極組成物層と、セパレータと、正極組成物層と、正極集電体とを順に有する、電池セルと、電池セルを複数収納する外装体とを備える組電池と、樹脂部材で形成される冷却器と、を備え、組電池及び冷却器は共に弾性を有し、且つ、冷却器は組電池と異なる弾性率を有し、組電池と冷却器とが層状に重ねられている、二次電池モジュール。
【選択図】図2
特許請求の範囲
【請求項1】
負極集電体と、負極組成物層と、セパレータと、正極組成物層と、正極集電体とを順に有する、電池セルと、前記電池セルを複数収納する外装体とを備える組電池と、
樹脂部材で形成される冷却器と、を備え、
前記組電池及び前記冷却器は共に弾性を有し、且つ、前記冷却器は前記組電池と異なる弾性率を有し、
前記組電池と前記冷却器とが層状に重ねられている、
二次電池モジュール。
続きを表示(約 390 文字)
【請求項2】
前記冷却器は、直方体形状であり、
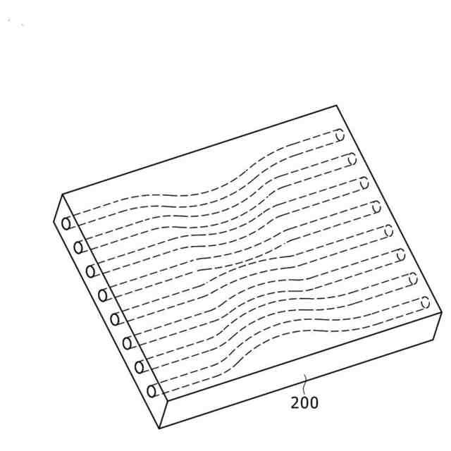
前記冷却器は、内部に、対向する一方の側面から他方の側面に亘って延在し、冷却流体の流通する貫通孔を有し、
前記貫通孔は、線状である、
請求項1に記載の二次電池モジュール。
【請求項3】
前記冷却器は、前記貫通孔を複数有し、
各貫通孔は、前記冷却器の前記一方及び他方の側面における前記貫通孔の先後端の位置に対して、前記冷却器の中央部側に密集するように寄せて配置されている、
請求項2に記載の二次電池モジュール。
【請求項4】
前記各貫通孔は、前記冷却器の前記一方及び他方の側面における前記貫通孔の先後端の位置が中央側では前記貫通孔が傾斜する角度が小さく、該先後端の位置が外周側では前記貫通孔が傾斜する角度が大きい、
請求項3に記載の二次電池モジュール。
発明の詳細な説明
【技術分野】
【0001】
本発明は、二次電池モジュールに関する。
続きを表示(約 1,600 文字)
【背景技術】
【0002】
携帯電話、パーソナルコンピューター、電気自動車、ハイブリッド自動車、載置用蓄電装置用途等の様々な技術分野で、繰り返し充放電可能なリチウムイオン二次電池等の二次電池が多用されている。
【0003】
係る二次電池において、電池の温度上昇により、電池の性能が低下する虞があるため、電池を冷却する等して温度上昇を抑制することが知られている。電極群(2)に隣接して熱媒介部が設けられ、熱媒介部は熱媒または冷媒が流れる流体路である波型部材(3)および流体路壁(4)から形成され、使用状況に応じて熱媒または冷媒を流通させることで電極群(2)の加熱または冷却を実現する電池システムが開示されている(例えば、特許文献1参照)。
【先行技術文献】
【特許文献】
【0004】
特許第4361229号公報
【発明の概要】
【発明が解決しようとする課題】
【0005】
しかしながら、特許文献1に記載の技術では、冷媒の流通時に冷却器として機能する熱媒介部が剛体であるため、車載用での走行時、二次電池の輸送時、載置用での地震時に大きな振動が加わると、冷却器としての熱媒介部が機械的に割れてしまって冷却の用をなさなくなってしまう虞があった。また、電極群(2)と熱媒介部とは面接触している必要があるが、外力によって二次電池に加わる振動や衝撃により、電極群(2)と剛体の熱媒介部とが離間してしまい、結果的に冷却効率が低下してしまう虞があった。
【0006】
本発明の目的の一つは、外力によって振動や衝撃が加わった場合であっても、冷却効率の低下を抑制することができる二次電池モジュールを提供することである。
【課題を解決するための手段】
【0007】
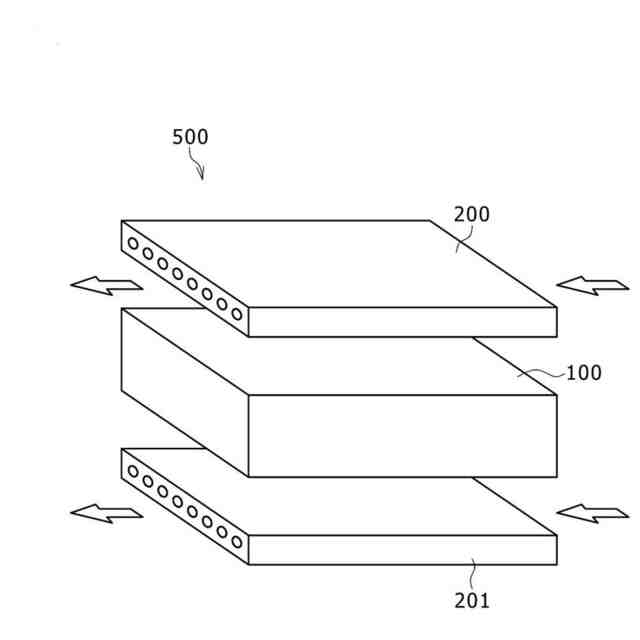
本発明の二次電池モジュールでは、負極集電体と、負極組成物層と、セパレータと、正極組成物層と、正極集電体とを順に有する、電池セルと、電池セルを複数収納する外装体とを備える組電池と、樹脂部材で形成される冷却器と、を備え、組電池及び冷却器は共に弾性を有し、且つ、冷却器は組電池と異なる弾性率を有し、組電池と冷却器とが層状に重ねられている。
【発明の効果】
【0008】
本発明によれば、二次電池モジュールは、冷却器が弾性を有し、かつ冷却器が組電池と異なる弾性率を有しているため、冷却器が全体としてダンパとして機能し、外力によって振動や衝撃が加わった場合であっても冷却器が機械的に割れることなく、振動や衝撃を速やかに吸収する。この結果、冷却器が機械的に割れにくく、かつ組電池及び冷却器が互いに密着した状態を維持するため、冷却効果の低下を抑制することが可能である。
【図面の簡単な説明】
【0009】
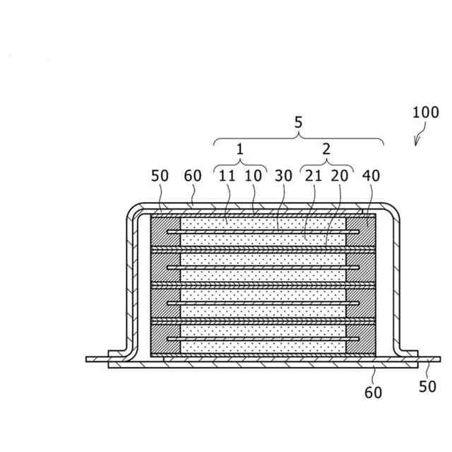
本発明の実施形態に係る組電池を模式的に示す断面図である。
本発明の実施形態に係る二次電池モジュールを模式的に示す斜視図である。
冷却器の変形例を模式的に示す斜視図である。
【発明を実施するための形態】
【0010】
以下、図面を参照して、本発明の実施形態(本実施形態)を説明する。なお、本明細書において、図中、同様の部材には同一の符号を用いる。また、図面の寸法比率は、説明の都合上誇張される場合があり、実際の比率とは異なる場合がある。また、平面視とは、二次電池セルの積層方向から対象物が見られることを表す。また、「及び/又は」とは、少なくとも一方を意味し、例えば、「X及び/又はY」の場合、Xのみ、Yのみ、X及びYの三通りを意味する。以下の実施形態および変形例に例示される材料は、特に断らない限り、1種を単独でまたは2種以上を組み合わせて用いることができる。
(【0011】以降は省略されています)
この特許をJ-PlatPat(特許庁公式サイト)で参照する
関連特許
APB株式会社
二次電池モジュール
8日前
APB株式会社
二次電池モジュール
8日前
APB株式会社
電池用電極製造装置、電池用電極製造方法
1か月前
APB株式会社
電池用電極製造装置及び電池用電極製造方法
8日前
個人
フレキシブル電気化学素子
8日前
ローム株式会社
半導体装置
17日前
日新イオン機器株式会社
イオン源
4日前
ローム株式会社
半導体装置
17日前
ローム株式会社
半導体装置
17日前
株式会社ユーシン
操作装置
8日前
ローム株式会社
半導体装置
15日前
ローム株式会社
半導体装置
10日前
株式会社ホロン
冷陰極電子源
2日前
株式会社ホロン
冷陰極電子源
15日前
個人
半導体パッケージ用ガラス基板
18日前
株式会社GSユアサ
蓄電装置
15日前
太陽誘電株式会社
全固体電池
15日前
株式会社GSユアサ
蓄電設備
8日前
株式会社GSユアサ
蓄電設備
8日前
太陽誘電株式会社
コイル部品
8日前
オムロン株式会社
電磁継電器
9日前
サクサ株式会社
電池の固定構造
8日前
トヨタ自動車株式会社
蓄電装置
8日前
日本特殊陶業株式会社
保持装置
19日前
TDK株式会社
電子部品
15日前
日本特殊陶業株式会社
保持装置
15日前
日本特殊陶業株式会社
保持装置
17日前
日本特殊陶業株式会社
保持装置
15日前
トヨタ自動車株式会社
バッテリ
9日前
ノリタケ株式会社
熱伝導シート
8日前
日東電工株式会社
積層体
9日前
ローム株式会社
半導体装置
10日前
日本特殊陶業株式会社
電極
15日前
株式会社トクヤマ
シリコンエッチング液
2日前
株式会社トクヤマ
シリコンエッチング液
2日前
日本特殊陶業株式会社
電極
15日前
続きを見る
他の特許を見る