TOP
|
特許
|
意匠
|
商標
特許ウォッチ
Twitter
他の特許を見る
公開番号
2025154586
公報種別
公開特許公報(A)
公開日
2025-10-10
出願番号
2024057674
出願日
2024-03-29
発明の名称
電池用電極製造装置及び電池用電極製造方法
出願人
APB株式会社
代理人
弁理士法人虎ノ門知的財産事務所
主分類
H01M
4/04 20060101AFI20251002BHJP(基本的電気素子)
要約
【課題】電池における活物質層の品質を向上させること。
【解決手段】電池用電極製造装置は、搬送される基材フィルムに、活物質を含む電極組成物を供給する供給部と、前記基材フィルム上に形成される前記電極組成物を圧縮する加圧部と、前記基材フィルム及び前記電極組成物に対しX線を照射し、該X線を用いた検査を実行する検査部と、前記検査部により得られた結果に応じた処理を実行する制御部とを備える。
【選択図】図2
特許請求の範囲
【請求項1】
搬送される基材フィルムに、活物質を含む電極組成物を供給する供給部と、
前記基材フィルム上に形成される前記電極組成物を圧縮する加圧部と、
前記基材フィルム及び前記電極組成物に対しX線を照射し、該X線を用いた検査を実行する検査部と、
前記検査部により得られた結果に応じた処理を実行する制御部と
を備える、電池用電極製造装置。
続きを表示(約 940 文字)
【請求項2】
前記検査部は、前記基材フィルム及び前記電極組成物の一方向側に配置されるX線照射部と、前記基材フィルム及び前記電極組成物の他方向側に配置されるX線検出部とを備える、請求項1に記載の電池用電極製造装置。
【請求項3】
前記検査部は、前記基材フィルムと、前記加圧部による圧縮前の前記電極組成物とに対しX線を照射して前記検査を実行する、請求項1に記載の電池用電極製造装置。
【請求項4】
前記検査部は、更に、前記基材フィルムと、前記加圧部による圧縮後の前記電極組成物とに対しX線を照射して前記検査を実行する、請求項3に記載の電池用電極製造装置。
【請求項5】
前記制御部は、前記検査の結果として前記基材フィルム上の前記電極組成物から欠陥が検出された場合、或いは前記検査の結果として測定した前記電極組成物の目付量を測定し、当該目付量が少ない部分がある場合には、前記処理として、当該欠陥又は当該目付量が少ない部分を補うための追加の電極組成物を供給する、請求項1に記載の電池用電極製造装置。
【請求項6】
前記欠陥は、前記基材フィルム上の前記電極組成物の内部に生じた空洞である、請求項5に記載の電池用電極製造装置。
【請求項7】
前記制御部は、前記処理として、圧縮後の前記電極組成物からの欠陥の検出結果に応じて前記加圧部における圧縮条件を制御する、請求項4に記載の電池用電極製造装置。
【請求項8】
前記欠陥は、圧縮後の前記電極組成物に生じたクラックである、請求項7に記載の電池用電極製造装置。
【請求項9】
前記制御部は、圧縮前の前記電極組成物からの欠陥の検出結果と圧縮後の前記電極組成物からの欠陥の検出結果とに応じて前記加圧部における圧縮条件を制御する、請求項7に記載の電池用電極製造装置。
【請求項10】
前記検査部は、前記X線の検出結果に基づいてX線画像を生成し、当該X線画像を解析することにより、前記基材フィルム上の前記電極組成物における欠陥を検出する、請求項1に記載の電池用電極製造装置。
(【請求項11】以降は省略されています)
発明の詳細な説明
【技術分野】
【0001】
本発明は、電池用電極製造装置及び電池用電極製造方法に関する。
続きを表示(約 1,900 文字)
【背景技術】
【0002】
リチウムイオン電池は高容量の二次電池であり、近年様々な用途で使用されている。リチウムイオン電池の電極は、活物質層、集電体層、セパレータ、及び、活物質層を封入する枠体等によって構成される(例えば、特許文献1参照)。リチウムイオン電池における活物質層は、例えば、帯状の基材フィルムに対して電極組成物を供給し、ロールプレス等によって圧縮することで形成することができる。
【0003】
活物質層は、均一な密度で形成されることが好ましいが、種々の要因により、密度にばらつきが生じてしまう場合がある。例えば、基材フィルム上の電極組成物についてロールプレス等による圧縮を行なった際、電極組成物内にクラック(亀裂)が生じ、当該クラックが活物質層に残存してしまう場合がある。また、例えば、基材フィルムに対して電極組成物を供給する際、供給量が部分的に少なくなって凹みや空洞を生じ、活物質層における密度のばらつきを生んでしまう場合がある。
【先行技術文献】
【特許文献】
【0004】
特許第6633866号公報
特許第3355097号公報
特許第3680985号公報
【発明の概要】
【発明が解決しようとする課題】
【0005】
前述したクラックや凹み、空洞などの欠陥については製造工程の中で検出し、欠陥が検出された場合には適当な対応を取ることが好ましい。例えば、欠陥が検出された場合には不良品として排除したり、欠陥が生じにくくなるように製造方法を調整したりするなど、電池における活物質層の品質を向上させるための適当な対応を取ることが好ましい。例えば、特許文献2には、極板芯材に塗着した活物質の厚みを測定し、活物質の塗着量を調整するドクターブレードの形状をフィードバック制御することについて記載されている。また、特許文献3には、集電体シート面に塗布された電極活物質のペースト材料について塗工乾燥後の塗工膜厚をモニタし、フィードバック制御により塗工を行なうことについて記載されている。しかしながら、活物質の厚みの測定を行なっても、活物質の内部に生じるクラックや空洞等、種類によっては欠陥を検出できない場合があった。
【0006】
本発明は、上記の事情に鑑みてなされたものであって、電池における活物質層の品質を向上させることができる電池用電極製造装置及び電池用電極製造方法を提供することを目的とする。
【課題を解決するための手段】
【0007】
上記目的を達成するために、本発明に係る電池用電極製造装置は、搬送される基材フィルムに、活物質を含む電極組成物を供給する供給部と、前記基材フィルム上に形成される前記電極組成物を圧縮する加圧部と、前記基材フィルム及び前記電極組成物に対しX線を照射し、該X線を用いた検査を実行する検査部と、前記検査部により得られた結果に応じた処理を実行する制御部とを備える。
【発明の効果】
【0008】
本発明の電池用電極製造装置及び電池用電極製造方法によれば、電池における活物質層の品質を向上させることができる。
【図面の簡単な説明】
【0009】
図1は、実施形態の電池用電極製造装置を用いて製造される電池の単セルの断面模式図である。
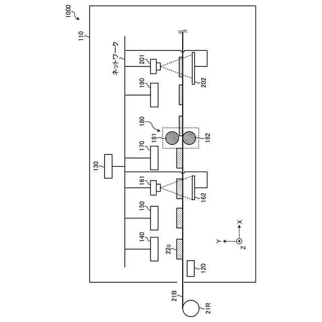
図2は、実施形態の電池用電極製造装置の概略図である。
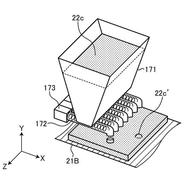
図3は、実施形態の電極組成物供給装置の構成の一例を示す図である。
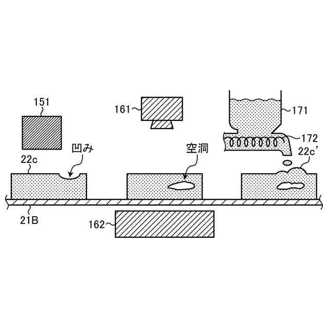
図4は、実施形態の電極組成物に生じる凹み及びその検出について説明するための図である。
図5は、実施形態の電極組成物に生じる空洞及びその検出について説明するための図である。
図6Aは、実施形態の補充装置による処理について説明するための図である。
図6Bは、実施形態の補充装置による処理について説明するための図である。
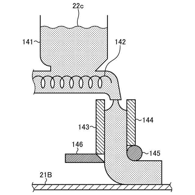
図7は、実施形態の電極組成物に生じるクラック及びその検出について説明するための図である。
【0010】
(第1の実施形態)
以下、図面を参照して、本発明を適用した実施形態について説明する。なお、以下の説明で用いる図面は、特徴部分を強調する目的で、便宜上特徴となる部分を拡大して示している場合があり、各構成要素の寸法比率等が実際と同じであるとは限らない。また、同様の目的で、一部を省略して図示している場合がある。
(【0011】以降は省略されています)
この特許をJ-PlatPat(特許庁公式サイト)で参照する
関連特許
APB株式会社
二次電池モジュール
12日前
APB株式会社
二次電池モジュール
12日前
APB株式会社
電池用電極製造装置、電池用電極製造方法
1か月前
APB株式会社
電池用電極製造装置及び電池用電極製造方法
12日前
東ソー株式会社
絶縁電線
今日
日本発條株式会社
積層体
23日前
個人
フレキシブル電気化学素子
12日前
個人
防雪防塵カバー
23日前
ローム株式会社
半導体装置
21日前
ローム株式会社
半導体装置
21日前
ローム株式会社
半導体装置
19日前
日新イオン機器株式会社
イオン源
8日前
ローム株式会社
半導体装置
21日前
ローム株式会社
半導体装置
14日前
株式会社ユーシン
操作装置
12日前
太陽誘電株式会社
全固体電池
19日前
個人
半導体パッケージ用ガラス基板
22日前
株式会社GSユアサ
蓄電装置
19日前
オムロン株式会社
電磁継電器
13日前
太陽誘電株式会社
コイル部品
12日前
株式会社ホロン
冷陰極電子源
19日前
株式会社GSユアサ
蓄電設備
12日前
株式会社ホロン
冷陰極電子源
6日前
株式会社GSユアサ
蓄電装置
23日前
株式会社GSユアサ
蓄電設備
12日前
TDK株式会社
電子部品
19日前
トヨタ自動車株式会社
二次電池
23日前
トヨタ自動車株式会社
バッテリ
13日前
日本特殊陶業株式会社
保持装置
19日前
日本特殊陶業株式会社
保持装置
23日前
日本特殊陶業株式会社
保持装置
1日前
サクサ株式会社
電池の固定構造
12日前
日本特殊陶業株式会社
保持装置
19日前
ローム株式会社
電子装置
23日前
日本特殊陶業株式会社
保持装置
21日前
トヨタ自動車株式会社
蓄電装置
12日前
続きを見る
他の特許を見る