TOP
|
特許
|
意匠
|
商標
特許ウォッチ
Twitter
他の特許を見る
公開番号
2025153874
公報種別
公開特許公報(A)
公開日
2025-10-10
出願番号
2024056566
出願日
2024-03-29
発明の名称
繊維及びその製造方法、並びに、繊維構造体及びその製造方法
出願人
株式会社カネカ
代理人
弁理士法人有古特許事務所
主分類
D01F
6/92 20060101AFI20251002BHJP(天然または人造の糸または繊維;紡績)
要約
【課題】本発明は、毛羽立ちの少なさと優れたフィルター性能とを両立する繊維構造体を提供し得るポリ(3-ヒドロキシアルカノエート)系樹脂含有繊維等を提供する。
【解決手段】本発明は、樹脂組成物を含む繊維であって、前記樹脂組成物は、ポリ(3-ヒドロキシアルカノエート)系樹脂およびポリ乳酸系樹脂を含み、前記ポリ(3-ヒドロキシアルカノエート)系樹脂および前記ポリ乳酸系樹脂の合計100重量部に対し、前記ポリ(3-ヒドロキシアルカノエート)系樹脂を40~95重量部含み、前記繊維の結晶化温度が85℃以下である、繊維等である。
【選択図】 なし
特許請求の範囲
【請求項1】
樹脂組成物を含む繊維であって、
前記樹脂組成物は、ポリ(3-ヒドロキシアルカノエート)系樹脂およびポリ乳酸系樹脂を含み、
前記ポリ(3-ヒドロキシアルカノエート)系樹脂および前記ポリ乳酸系樹脂の合計100重量部に対し、前記ポリ(3-ヒドロキシアルカノエート)系樹脂を40~95重量部含み、
前記繊維の結晶化温度が85℃以下である、繊維。
続きを表示(約 830 文字)
【請求項2】
前記繊維の190℃、荷重2.16kgにおけるメルトフローレートが20~1500g/10minである、請求項1に記載の繊維。
【請求項3】
繊維径が100μm以下である、請求項1又は2に記載の繊維。
【請求項4】
実質的にペンタエリスリトールを含有しない、請求項1又は2に記載の繊維。
【請求項5】
前記ポリ(3-ヒドロキシアルカノエート)系樹脂は、ポリ(3-ヒドロキシブチレート)系樹脂を含む、請求項1または2に記載の繊維。
【請求項6】
前記ポリ(3-ヒドロキシブチレート)系樹脂は、ポリ(3-ヒドロキシブチレート)、ポリ(3-ヒドロキシブチレート-コ-3-ヒドロキシヘキサノエート)、ポリ(3-ヒドロキシブチレート-コ-3-ヒドロキシバリレート)、ポリ(3-ヒドロキシブチレート-コ-4-ヒドロキシブチレート)、ポリ(3-ヒドロキシブチレート-コ-3-ヒドロキシオクタノエート)及びポリ(3-ヒドロキシブチレート-コ-3-ヒドロキシオクタデカノエート)からなる群より選択される少なくとも1種である、請求項5に記載の繊維。
【請求項7】
前記ポリ(3-ヒドロキシブチレート)系樹脂は、ポリ(3-ヒドロキシブチレート-コ-3-ヒドロキシヘキサノエート)及び/又はポリ(3-ヒドロキシブチレート-コ-4-ヒドロキシブチレート)である、請求項6に記載の繊維。
【請求項8】
前記ポリ(3-ヒドロキシブチレート)系樹脂は、ポリ(3-ヒドロキシブチレート-コ-3-ヒドロキシヘキサノエート)である、請求項7に記載の繊維。
【請求項9】
請求項1又は2に記載の繊維を含む、繊維構造体。
【請求項10】
スパンボンド不織布またはメルトブローン不織布である、請求項9に記載の繊維構造体。
(【請求項11】以降は省略されています)
発明の詳細な説明
【技術分野】
【0001】
本発明は、繊維及びその製造方法、並びに、繊維構造体及びその製造方法に関する。
続きを表示(約 2,000 文字)
【背景技術】
【0002】
近年、使い捨てマスクなどに代表される繊維構造体(不織布、織物、編物など)の使用量増加に伴い、マイクロファイバーの海洋流出による環境汚染が顕在化していることから、植物由来のポリ乳酸系樹脂(略称:PLA系樹脂)を使用した不織布などが提案されている(例えば、特許文献1)
また、ポリ(3-ヒドロキシアルカノエート)系樹脂(略称:P3HA系樹脂)は、ホームコンポストが可能であり、また、海洋生分解性に優れる等の利点を有することから注目されており、P3HA系樹脂を使用した不織布なども提案されている(特許文献2)。
【先行技術文献】
【特許文献】
【0003】
特許第5356960号公報
国際公開第2019/142920号
【発明の概要】
【発明が解決しようとする課題】
【0004】
ところで、繊維構造体は、毛羽立ちが少ないことや、フィルター性能に優れることが求められている。
しかしながら、ポリ(3-ヒドロキシアルカノエート)系樹脂を含有する繊維を使用した繊維構造体であって、毛羽立ちが少なく、フィルター性能に優れる繊維構造体については、これまで十分に検討がなされていない。
【0005】
そこで、本発明は、毛羽立ちの少なさと優れたフィルター性能とを両立する繊維構造体を提供し得るポリ(3-ヒドロキシアルカノエート)系樹脂含有繊維、及び、該繊維を含む繊維構造体を提供することを課題とする。
【課題を解決するための手段】
【0006】
本発明者が鋭意研究したところ、ポリ(3-ヒドロキシアルカノエート)系樹脂とポリ乳酸系樹脂とが所定の割合で含まれ、且つ、結晶化温度が85℃以下である繊維で繊維構造体を構成することにより、繊維構造体は、毛羽立ちの少なさと優れたフィルター性能とを両立した繊維構造体となることを見出し、本発明を完成するに至った。
【0007】
すなわち、本発明は、樹脂組成物を含む繊維であって、
前記樹脂組成物は、ポリ(3-ヒドロキシアルカノエート)系樹脂およびポリ乳酸系樹脂を含み、
前記ポリ(3-ヒドロキシアルカノエート)系樹脂および前記ポリ乳酸系樹脂の合計100重量部に対し、前記ポリ(3-ヒドロキシアルカノエート)系樹脂を40~95重量部含み、
前記繊維の結晶化温度が85℃以下である、繊維に関する。
また、本発明は、前記繊維を含む、繊維構造体にも関する。
さらに、本発明は、溶融紡糸法によって繊維を製造する製造方法であって、
ポリ(3-ヒドロキシアルカノエート)系樹脂およびポリ乳酸系樹脂を含む原料組成物を溶融する工程を含み、
前記原料組成物は、前記ポリ(3-ヒドロキシアルカノエート)系樹脂および前記ポリ乳酸系樹脂の合計100重量部に対し、前記ポリ(3-ヒドロキシアルカノエート)系樹脂を40~95重量部含み、
前記繊維の結晶化温度が85℃以下である、繊維の製造方法にも関する。
また、本発明は、前記繊維の製造方法で前記繊維を含む繊維構造体を製造し、
前記溶融紡糸法がメルトブローン法またはスパンボンド法である、繊維構造体の製造方法にも関する。
【発明の効果】
【0008】
本発明によれば、毛羽立ちの少なさと優れたフィルター性能とを両立する繊維構造体を提供し得るポリ(3-ヒドロキシアルカノエート)系樹脂含有繊維、及び、該繊維を含む繊維構造体を提供し得る。
【図面の簡単な説明】
【0009】
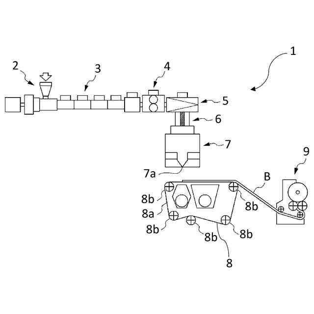
繊維の製造装置の概略図。
ノズルの概略斜視図。
ノズル孔とコンベアベルトとの概略断面図。
実施例1の繊維構造体の毛羽等級の評価試験後における試料の表面を撮影した写真。
実施例2の繊維構造体の毛羽等級の評価試験後における試料の表面を撮影した写真。
実施例3の繊維構造体の毛羽等級の評価試験後における試料の表面を撮影した写真。
実施例4の繊維構造体の毛羽等級の評価試験後における試料の表面を撮影した写真。
比較例2の繊維構造体の毛羽等級の評価試験後における試料の表面を撮影した写真。
比較例3の繊維構造体の毛羽等級の評価試験後における試料の表面を撮影した写真。
比較例4の繊維構造体の毛羽等級の評価試験後における試料の表面を撮影した写真。
【発明を実施するための形態】
【0010】
以下、添付図面を参照しつつ、本発明の一実施形態について説明する。
(【0011】以降は省略されています)
この特許をJ-PlatPat(特許庁公式サイト)で参照する
関連特許
株式会社カネカ
飲料
4日前
株式会社カネカ
飲料
4日前
株式会社カネカ
抗菌剤
15日前
株式会社カネカ
製膜装置
8日前
株式会社カネカ
製膜装置
8日前
株式会社カネカ
積層装置
12日前
株式会社カネカ
塗布装置
12日前
株式会社カネカ
医療用具
8日前
株式会社カネカ
カテーテル
2日前
株式会社カネカ
カテーテル
1日前
株式会社カネカ
カテーテル
3日前
株式会社カネカ
カテーテル
8日前
株式会社カネカ
カテーテル
2日前
株式会社カネカ
カテーテル
8日前
株式会社カネカ
正極活物質
12日前
株式会社カネカ
汎用かつら
23日前
株式会社カネカ
カテーテル
2日前
株式会社カネカ
カテーテル
2日前
株式会社カネカ
カテーテル
8日前
株式会社カネカ
硬化性組成物
22日前
株式会社カネカ
生体内留置具
8日前
株式会社カネカ
酵母含有菓子
3日前
株式会社カネカ
樹脂チューブ
22日前
株式会社カネカ
シーリング材
1日前
株式会社カネカ
油脂の製造方法
10日前
株式会社カネカ
医療用具セット
4日前
株式会社カネカ
重量物載置架台
1日前
株式会社カネカ
延長カテーテル
24日前
株式会社カネカ
顆粒の製造方法
12日前
株式会社カネカ
フィルム延伸装置
12日前
株式会社カネカ
フィルム延伸装置
10日前
株式会社カネカ
ブラッシング装置
24日前
株式会社カネカ
ブラッシング装置
24日前
株式会社カネカ
バルーンカテーテル
10日前
株式会社カネカ
可撓性ガス拡散電極
12日前
株式会社カネカ
太陽電池モジュール
10日前
続きを見る
他の特許を見る