TOP
|
特許
|
意匠
|
商標
特許ウォッチ
Twitter
他の特許を見る
公開番号
2025141282
公報種別
公開特許公報(A)
公開日
2025-09-29
出願番号
2024041151
出願日
2024-03-15
発明の名称
発電システム
出願人
ダイキン工業株式会社
代理人
弁理士法人前田特許事務所
主分類
H02P
9/04 20060101AFI20250919BHJP(電力の発電,変換,配電)
要約
【課題】設置工事コストを抑制できる発電システムを提供する。
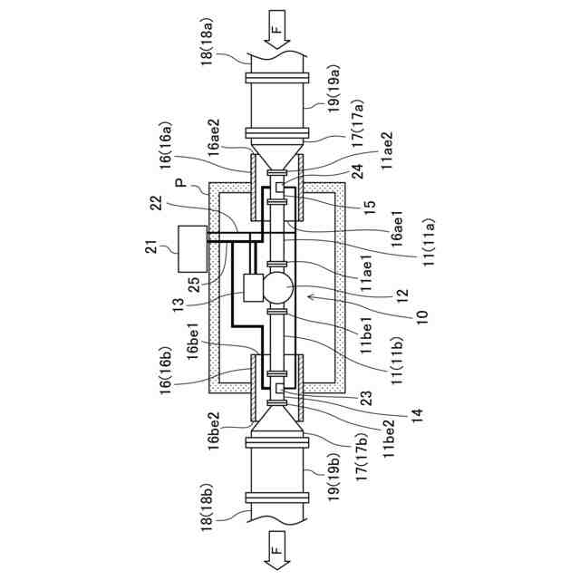
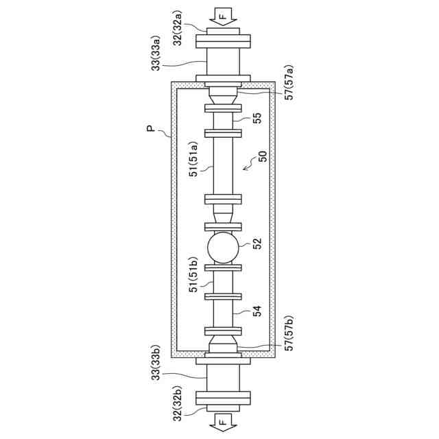
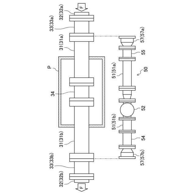
【解決手段】発電システム(1)は、流体機械(12)と、発電機(13)と、機器(14,15)とを備える。流体機械(12)は、第1管(11)と接続されて第1管(11)を流れる流体(F)により回転駆動される。発電機(13)は、流体機械(12)により回転駆動される。流体機械(12)及び発電機(13)は、機械室(P)の内部に配置される。機器(14,15)は、第1管(11)に設けられる。第1管(11)のうち機器(14,15)が設けられた部分は、機械室(P)の内部に開口端面(16ae1,16be1)を有する第2管(16)の内部に配置される。
【選択図】図1
特許請求の範囲
【請求項1】
第1管(11)と接続されて前記第1管(11)を流れる流体(F)により回転駆動され、機械室(P)の内部に配置される流体機械(12)と、
前記流体機械(12)により回転駆動され、前記機械室(P)の内部に配置される発電機(13)と、
前記第1管(11)に設けられる機器(14,15)と
を備えた発電システム(1)において、
前記第1管(11)のうち前記機器(14,15)が設けられた部分は、前記機械室(P)の内部に開口端面(16ae1,16be1)を有する第2管(16)の内部に配置される、
発電システム。
続きを表示(約 1,000 文字)
【請求項2】
請求項1の発電システムにおいて、
前記第1管(11)は、前記流体機械(12)と接続される第1端部(11ae1,11be1)と、前記第1端部(11ae1,11be1)の反対側の第2端部(11ae2,11be2)とを有し、
前記第2端部(11ae2,11be2)は、継手(17)を介して、前記第2管(16)の内径と略同一の内径を有する第3管(18)と接続される、
発電システム。
【請求項3】
請求項1の発電システムにおいて、
前記発電機(13)を制御する制御器(21)を備え、
前記機器(14,15)は、前記制御器(21)から信号を受信する、又は、前記制御器(21)に信号を送信する送受信手段(23,24)を有する、
発電システム。
【請求項4】
請求項3の発電システムにおいて、
前記機器(14,15)は、前記流体(F)の物理量を測定して測定結果を前記制御器(21)に送信する計測器(14)を含む、
発電システム。
【請求項5】
請求項3の発電システムにおいて、
前記機器(14,15)は、前記制御器(21)から受信した信号に応じて前記流体(F)の物理量を調整する弁(15)を含む、
発電システム。
【請求項6】
請求項3の発電システムにおいて、
前記送受信手段(23,24)は、前記制御器(21)と前記機器(14,15)とを接続する信号線(22)を含み、
前記信号線(22)は、前記第2管(16)の内部に配置されて、前記開口端面(16ae1,16be1)から前記第2管(16)の外側に引き出される、
発電システム。
【請求項7】
請求項1の発電システムにおいて、
前記発電機(13)を制御する制御器(21)を備え、
前記機器(14,15)は、電力が供給される電力線(25)に接続され、
前記電力線(25)は、前記第2管(16)の内部に配置されて、前記開口端面(16ae1,16be1)から前記第2管(16)の外側に引き出される、
発電システム。
【請求項8】
請求項1~7のいずれか1項の発電システムにおいて、
前記流体(F)は、水であり、
前記流体機械(12)は、水車であり、
前記発電機(13)は、水力発電を行う、
発電システム。
発明の詳細な説明
【技術分野】
【0001】
本開示は、発電システムに関するものである。
続きを表示(約 1,200 文字)
【背景技術】
【0002】
上水道施設の管水路等に存在する未利用エネルギーを活用するインライン型の発電システムが知られている。インライン型の発電システムは、発電装置と、流量調整を行う制水弁と、流量計と、配管とから構成される。
【0003】
特許文献1に開示された発電装置は、流路に配置される水車と、水車と連結する発電機とを備える。水車は、流路を流れる流体によって回転される。水車が回転すると、発電機が駆動される。駆動された発電機は、電力を発生する。
【0004】
制水弁は振動や騒音の原因となり且つ作動が不安定になりやすい観点から、また、流量計は計測精度の観点から、電動弁及び流量計の設置には所定の管路長が必要になる。
【0005】
インライン型の発電システムの導入コストの中では、設置工事コストの割合が大きい。そのため、設置工事コストを抑える目的で、既存の上水道施設である計器室や制水弁室等を利用して発電システムを設置することにより、新たな建屋を設置するコストを削減することがある。
【先行技術文献】
【特許文献】
【0006】
特開2014-214710号公報
【発明の概要】
【発明が解決しようとする課題】
【0007】
計器室や制水弁室等の既存施設は、用途によって施設規模が異なる。既存施設のスペースが発電システムの設置に不十分であると、施設の拡張工事を行うか、新たな建屋を設置する必要が生じる。その結果、設置工事コストが増大したり、発電システムの導入が見送られたりする等の問題があった。
【0008】
本開示の目的は、設置工事コストを抑制できる発電システムを提供することにある。
【課題を解決するための手段】
【0009】
本開示の第1の態様は、流体機械(12)と、発電機(13)と、機器(14,15)とを備えた発電システム(1)である。前記流体機械(12)は、第1管(11)と接続されて前記第1管(11)を流れる流体(F)により回転駆動される。前記発電機(13)は、前記流体機械(12)により回転駆動される。前記流体機械(12)及び前記発電機(13)は、機械室(P)の内部に配置される。前記機器(14,15)は、前記第1管(11)に設けられる。前記第1管(11)のうち前記機器(14,15)が設けられた部分は、前記機械室(P)の内部に開口端面(16ae1,16be1)を有する第2管(16)の内部に配置される。
【0010】
第1の態様では、機械室(P)の内部に開口端面(16ae1,16be1)を有する第2管(16)つまり既設管の内部に、発電システム(1)の一部である機器(14,15)が配置される。このため、既存の機械室(P)を拡張することなく、発電システム(1)を設置することができるので、設置工事コストを抑制することができる。
(【0011】以降は省略されています)
この特許をJ-PlatPat(特許庁公式サイト)で参照する
関連特許
ダイキン工業株式会社
換気装置
20日前
ダイキン工業株式会社
冷凍装置
2日前
ダイキン工業株式会社
換気装置
21日前
ダイキン工業株式会社
調湿装置
12日前
ダイキン工業株式会社
冷凍装置
6日前
ダイキン工業株式会社
冷凍装置
2日前
ダイキン工業株式会社
空気調和機
20日前
ダイキン工業株式会社
空気調和機
26日前
ダイキン工業株式会社
空気調和機
21日前
ダイキン工業株式会社
空気調和機
21日前
ダイキン工業株式会社
回転電気機械
5日前
ダイキン工業株式会社
発電システム
2日前
ダイキン工業株式会社
エッチングガス
12日前
ダイキン工業株式会社
半導体モジュール
20日前
ダイキン工業株式会社
デポジションガス
12日前
ダイキン工業株式会社
室内機、空気調和装置
13日前
ダイキン工業株式会社
室内機、空気調和装置
13日前
ダイキン工業株式会社
室内機、空気調和装置
13日前
ダイキン工業株式会社
熱交換器及び冷凍装置
今日
ダイキン工業株式会社
情報処理装置および機器
21日前
ダイキン工業株式会社
フルオロポリマーの製造方法
12日前
ダイキン工業株式会社
四路切換弁を有する冷凍装置
22日前
ダイキン工業株式会社
四路切換弁を有する冷凍装置
22日前
ダイキン工業株式会社
圧縮機の製造方法および圧縮機
14日前
ダイキン工業株式会社
フッ素化剤、及び、フッ素化方法
26日前
ダイキン工業株式会社
冷凍サイクル装置および冷凍機油
5日前
ダイキン工業株式会社
冷凍サイクル装置および冷凍機油
5日前
ダイキン工業株式会社
電力変換装置および空気調和装置
21日前
ダイキン工業株式会社
パワーモジュール及び半導体装置
23日前
ダイキン工業株式会社
四路切換弁と遮断弁を有する冷凍装置
22日前
ダイキン工業株式会社
処理方法、処理装置及び処理プログラム
21日前
ダイキン工業株式会社
フルオロポリマー水性分散液の製造方法
12日前
ダイキン工業株式会社
金属カーバイドおよび炭化水素の製造方法
2日前
ダイキン工業株式会社
ロータ、モータ、圧縮機、および、冷凍装置
28日前
ダイキン工業株式会社
フルオロポリマーの製造方法および水性分散液
12日前
ダイキン工業株式会社
組成物、それを用いたシート及びその製造方法
13日前
続きを見る
他の特許を見る