TOP
|
特許
|
意匠
|
商標
特許ウォッチ
Twitter
他の特許を見る
10個以上の画像は省略されています。
公開番号
2025155995
公報種別
公開特許公報(A)
公開日
2025-10-14
出願番号
2025037990
出願日
2025-03-11
発明の名称
半導体集積回路装置
出願人
エイブリック株式会社
代理人
主分類
H01L
21/3205 20060101AFI20251002BHJP(基本的電気素子)
要約
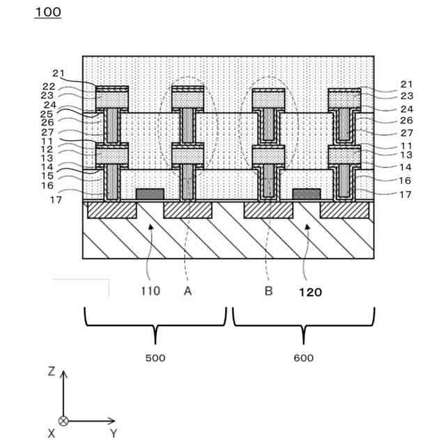
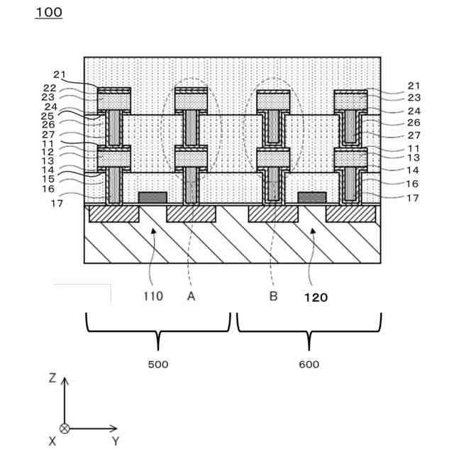
【課題】外部からの水分の侵入の影響を抑制した半導体集積回路装置を提供する。
【解決手段】アナログ素子120を含むアナログ回路と、デジタル素子110を含むデジタル回路と、アルミニウム配線(13、23)を有する半導体集積回路装置であって、アナログ素子とアルミニウム配線とは、高融点金属窒化物(11、24)を介して電気的に接続され、デジタル素子とアルミニウム配線は、高融点金属(12、26)を介して電気的に接続される半導体集積回路装置とした。
【選択図】図1
特許請求の範囲
【請求項1】
アナログ素子を含むアナログ回路と、デジタル素子を含むデジタル回路と、アルミニウム配線を有する半導体集積回路装置であって、
前記デジタル回路は第1の素子形成領域に形成され、前記アナログ回路は第2の素子形成領域に形成され、
前記アナログ素子と前記アルミニウム配線とは、高融点金属窒化物を介して電気的に接続され、
前記デジタル素子と前記アルミニウム配線は、高融点金属を介して電気的に接続されていることを特徴とする半導体集積回路装置。
続きを表示(約 500 文字)
【請求項2】
前記アナログ回路上の前記アルミニウム配線上に高融点金属窒化膜が形成されている事を特徴とする請求項1記載の半導体集積回路装置。
【請求項3】
前記デジタル回路上の前記アルミニウム配線上に高融点金属膜と高融点金属窒化膜がこの順に形成されている事を特徴とする請求項2記載の半導体集積回路装置。
【請求項4】
第一の絶縁膜層上に形成されたヒューズ素子と、前記ヒューズ素子を覆うように形成された第二の絶縁膜層と、前記第二の絶縁膜層上に形成された最終保護膜と、前記ヒューズ素子の上部の前記最終保護膜及び前記第二の絶縁膜層が開口されたヒューズ開口部を有し、
前記ヒューズ開口部は、前記第2の素子形成領域に形成されることを特徴とする請求項1又は2に記載の半導体集積回路装置。
【請求項5】
前記第2の素子形成領域がチップ周辺に配置されていることを特徴とする請求項1又は2に記載の半導体集積回路装置。
【請求項6】
前記第2の素子形成領域がチップ周辺に配置されていることを特徴とする請求項3に記載の半導体集積回路装置。
発明の詳細な説明
【技術分野】
【0001】
本発明は、半導体集積回路装置に関する。
続きを表示(約 1,300 文字)
【背景技術】
【0002】
外部から印加されるアナログ信号を元に電気機器に信号を出力したり、アナログ信号をデジタル処理するためにアナログーデジタル変換するような半導体集積回路装置は、アナログ回路とデジタル回路とを備える。
【0003】
アナログ回路には、定電圧回路、定電流回路、抵抗素子等のように、ばらつきの少なさや素子特性の高安定性、高信頼性が得られるような構造をもつアナログ素子が用いられる。一方デジタル回路には、高速動作が可能な寄生抵抗の低い構造をもつデジタル素子が求められる。デジタル素子は、オン状態とオフ状状態との差が明確であれば素子特性のばらつきが厳しく求められる事は少ない。
【0004】
アナログ素子に求められる高安定性の1つに、外部からの温度や湿度、バイアスなどのストレスに対して長期的に特性変動が少ない事が挙げられる。その中でもバイアスストレスについては素子特性が劣化するメカニズムが研究され、バイアス緩和のための様々な構成が提案されている。
【0005】
それに対し湿度や水分侵入による影響は、バイアスとともに複合的に作用する事が多くその劣化メカニズムも複雑なので、水分が侵入する事そのものを防ぐような構造が提案されている。
【0006】
特許文献1には、水分浸入による特性変動を抑制するために、ヒューズ素子上のレーザー照射のために設けられたパッシベーション開口部の周囲にガードリングを設置する技術が開示されている。
【先行技術文献】
【特許文献】
【0007】
特開2014-160801号公報
【発明の概要】
【発明が解決しようとする課題】
【0008】
特許文献1には、あらかじめ定められたヒューズ開口部の周囲を取り囲む、金属配線材料からなるガードリングをさらに有することで長期信頼性劣化の起因となるような、ヒューズ開口部から積層された層間絶縁膜側壁からの水分進入経路を確実に遮断し、NBTIおよび配線腐食によるICの特性劣化を防止することが開示されている。
【0009】
しかしながら、ヒューズのためのパッシベーション開口部を起点とした水分浸入による半導体素子の特性変動を抑制することについて開示があるものの、半導体素子の深層への水分侵入による半導体素子の特性変動を抑制することに対しては改善の余地があった。
【課題を解決するための手段】
【0010】
上記課題を解決するために、本発明は、
アナログ素子を含むアナログ回路と、デジタル素子を含むデジタル回路と、アルミニウム配線を有する半導体集積回路装置であって、
前記デジタル回路は第1の素子形成領域に形成され、前記アナログ回路は第2の素子形成領域にされ、
前記アナログ素子と前記アルミニウム配線とは、高融点金属窒化物を介して電気的に接続され、
前記デジタル素子と前記アルミニウム配線は、高融点金属を介して電気的に接続されていることを特徴とする半導体集積回路装置とする。
【発明の効果】
(【0011】以降は省略されています)
この特許をJ-PlatPat(特許庁公式サイト)で参照する
関連特許
個人
フレキシブル電気化学素子
8日前
株式会社ユーシン
操作装置
8日前
ローム株式会社
半導体装置
15日前
ローム株式会社
半導体装置
17日前
ローム株式会社
半導体装置
10日前
ローム株式会社
半導体装置
17日前
ローム株式会社
半導体装置
17日前
日新イオン機器株式会社
イオン源
4日前
個人
半導体パッケージ用ガラス基板
18日前
株式会社ホロン
冷陰極電子源
2日前
太陽誘電株式会社
全固体電池
15日前
株式会社GSユアサ
蓄電設備
8日前
太陽誘電株式会社
コイル部品
8日前
株式会社GSユアサ
蓄電装置
15日前
株式会社GSユアサ
蓄電設備
8日前
株式会社GSユアサ
蓄電装置
19日前
オムロン株式会社
電磁継電器
9日前
株式会社ホロン
冷陰極電子源
15日前
日本特殊陶業株式会社
保持装置
15日前
サクサ株式会社
電池の固定構造
8日前
ノリタケ株式会社
熱伝導シート
8日前
日東電工株式会社
積層体
9日前
日本特殊陶業株式会社
保持装置
17日前
日本特殊陶業株式会社
保持装置
19日前
TDK株式会社
電子部品
15日前
トヨタ自動車株式会社
バッテリ
9日前
日本特殊陶業株式会社
保持装置
15日前
トヨタ自動車株式会社
蓄電装置
8日前
トヨタ自動車株式会社
電池パック
1日前
東レエンジニアリング株式会社
実装装置
15日前
日東電工株式会社
電子装置
11日前
TDK株式会社
コイル部品
15日前
日本特殊陶業株式会社
電極
15日前
日本特殊陶業株式会社
電極
15日前
日本特殊陶業株式会社
電極
15日前
ローム株式会社
半導体装置
10日前
続きを見る
他の特許を見る